Подсочка лесаРефераты >> Ботаника и сельское хоз-во >> Подсочка леса
10 °С. В качестве стимулятора разрешается применять растворы из готового экстракта или настой кормовых дрожжей. В качестве добавки используют поваренную соль в количестве 10 г на 1 л рабочего раствора.
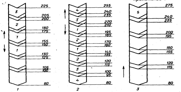
1. Подсочка лиственницы в течение 3 лет проводится по технологической схеме 1. По этой схеме закладывается 2 яруса карр. Подновки верхнего яруса наносят восходящим способом, а нижнего – нисходящим. Подновки наносят одновременно на обоих ярусах в течение всего срока подсочки. Основные технологические нормативы по всем типовым схемам приводятся в таблице 1.
2. Подсочка лиственницы в течение 4 лет ведется, как и по схеме 1 в 2 яруса карр. В первые 2 года подновки на обоих ярусах наносятся нисходящим способом, а начиная с третьего – в верхнем ярусе – восходящим, в нижнем – нисходящим. Перемычки между ярусами карр 5-10 см.
3. Подсочка лиственницы в течение 5 лет осуществляется одним ярусом карр. Типовая схема 5-летней подсочки учитывает наиболее важные особенности лиственницы: продолжительное смолоистечение и высокую регенеративную способность тканей. В течение всего срока подсочка ведется восходящим способом. Межкарровая перемычка 5 см. Пауза вздымки меньше, чем при подсочке по схемам 1 и 2, а величины других элементов технологии такие же.
Рис. 1. Типовые технологические схемы подсочки лиственницы: 1 – 3-летней подсочки; 2 – 4-летней; 3 – 5-летней подсочки.
Табл. 1.
ОСНОВНЫЕ ТЕХНОЛОГИЧЕСКИЕ ЭЛЕМЕНТЫ ПОДСОЧКИ ЛИСТВЕННИЦЫ
|
Элементы технологии |
Схемы | ||
|
1 |
2 |
3 | |
|
Шаг подновки, см |
5 |
5 |
5 |
|
Глубина подновки, мм |
5 |
5 |
5 |
|
Угол подновки, град |
35-40 |
35-40 |
35-40 |
|
Пауза вздымки, дни |
21 |
21 |
14 |
|
Нагрузка каррами, % |
60-80 |
Не более 70 |
60-80 |
|
Сбор живицы (число раз за сезон) |
1 |
1 |
1 |
Подсочка ели. При нанесении поверхностного ранения выделение живицы из него происходит в течение нескольких вегетационных периодов. Живица при этом выделяется не из древесины, а с краев ранения по всему периметру. По периметру раны интенсивно развивается каллюсная ткань, в которой формируется большое количество патологических смоляных ходов. Благодаря этим ходам процесс образования каллюса сопровождается смоловыделением, продолжающимся до полного зарастания раны. На использовании этой особенности были основаны все старые способы подсочки ели.
Старые способы подсочки ели характеризуются нанесением открытых и, как правило, продольных (вертикальных) ранений. Нагрузка деревьев каррами была незначительной.
Низкая смолопродуктивность ели, с одной стороны, и высокая себестоимость заготовки еловой живицы - с другой, тормозят распространение старых способов подсочки в производственных условиях. К началу 70-х годов сотрудниками СибНИИЛПа и другими исследователями были разработаны более совершенные способы подсочки ели, в том числе с применением стимуляторов смоловыделения. Это позволило значительно повысить производительность труда на подсочных работах и одновременно снизить себестоимость живицы.
Новые способы подсочки ели. К началу 70-х годов Ю.Г. Тагильцевым была разработана и испытана технология подсочки ели. Срок подсочки 3 года, из них первые 2 года подсочка ведется нисходящим способом, а последний - восходящим. Шаг подновки 5 см, пауза вздымки 7 дней, нагрузка деревьев каррами 30 . 50 %. Выход живицы с карры, по данным автора технологии, составляет 420 г, а с 1 га получают около 84 кг живицы и барраса. Трудоемкость заготовки 1 т живицы ели по технологии Ю.Г. Тагильцева составляет около 44 чел.-дней.
Технология подсочки ели с химическим воздействием. Подсочка ели ведется комбинированным способом двусторонней угловой каррой. В первый год подновки наносят нисходящим способом без химвоздействия. На второй и третий - восходящим способом с применением стимуляторов. В качестве стимуляторов смоловыделения наиболее эффективными оказались различные соли феноксиуксусных кислот типа 2,4Д и 2М-4Х.
По предлагаемой технологии ежегодно должно наноситься 10 подновок с паузой 7 . 14 дней. Шаг подновки в первый год 5 см, на второй и третий 7 см. Угол подновки 30 . 35°, глубина 2 . 3 мм. Нагрузка деревьев каррами не более 50 %. Выход живицы с карры без использования стимуляторов составляет в среднем 250,2 г за сезон, а химическим воздействием 340,0 г. Сбор живицы 1 раз за сезон.
Продолжительность подсочки ели в современных условиях – 3 года. Подготовительные работы проводятся в таком же объеме, как и при подсочке других пород. Нагрузка деревьев каррами 40 . 50 %, на 1 дереве закладывается не более 3 карр.
Подсочка ели ведется по типовой технологической схеме (рис 2). В первый год подновки наносят нисходящим способом, на второй и третий - восходящим. Максимальные значения технологических параметров следующие: глубина желобка 4 мм; глубина подновки 2 мм; шаг подновки 5 см; угол подновки 30 . 40°; пауза между подновками 7 . 14 дней; количество подновок за сезон не более 12; межкарровая перемычка 10 см; сбор живицы 1 раз в конце сезона.
При подсочке ели правилами разрешается использовать стимуляторы выхода живицы. В качестве стимуляторов применяются водные растворы из готового экстракта кормовых дрожжей или их настои в концентрации соответственно 0,2 4 0,25 % и 2,5 . 5 %.
Рис. 2. Типовая технологическая схема трехлетней подсочки ели.
Подсочка кедра. Важной особенностью кедровых сосен с точки зрения подсочки является способность выделения живицы отдельными подновками в течение 20 . 30 и даже более дней. Другая особенность - зарастание подновок через 2 . 3 года после их нанесения. С учетом этих особенностей в насаждениях пятихвойных сосен возможна организация высокоэффективного подсочного промысла. Повышенная регенеративная способность тканей кедровых сосен позволяет использовать их для долгосрочной подсочки. Это особенно целесообразно в лесных комплексах, организации которых в настоящее время уделяется все большее внимание.
