Совершенствование технологий и технических средств поверхностной обработки почвыРефераты >> Ботаника и сельское хоз-во >> Совершенствование технологий и технических средств поверхностной обработки почвы
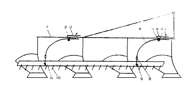
Орудие комбинированного снегозадержания рекомендуется применять на посевах при незначительной исходной толщине снежного покрова. Для этого используют диски с двухсторонней конической поверхностью. Работа заключается в следующем (рис. 1).
Каждый диск (а) с двусторонней конической поверхностью 1, пройдя по снежному покрову hс.п. малой толщины (б), образует в нём чётко выраженные канавки шириной Вк, равной ширине диска Вд. Снег, выдавливаемый с двух сторон коническими поверхностями дисков, образует барьеры 2 (в) высотой Hб, в 1,5…2,0 раза превышающей первональную толщину hс.п Лёгкая поземка за 1-2 суток даже при отсутствии осадков полностью заполняет канавки Нс.п. (г) снегом большей плотности, чем в самих барьерах. По этому в канавках сдерживается выдувание снега зимой, а весной он быстро тает, пропитываясь талыми водами. Более рыхлые барьеры 2 длительное время обеспечивают доступ воздуха к растениям на всей площади посевов.
Такое снегозадерживание можно проводить несколько раз
рис. 1 до образования снежного покрова толщиной до 20 см, а в дальнейшем целесообразно принять обычные снегопахи.
Во избежание эрозионных процессов и гибели растений не допустимо:
проводить снегозадержание в сухую и слишком ветреную погоду, а также при мокром снеге, так как в первом случае ускорится эрозия снега, а во втором из-за уплотнения снега озимые вымерзнут;
выполнять снегозадержание вдоль склонов;
агрегатировать орудие с гусеничным трактором.
Конструктивное решение нового способа снегозадержания на посевах – применение катков от сеялок СЗП-3,6 или СЗС-2,1 со сцепками либо рамой от дисковых лущильников.
Широкое применение такого способа снегозадержания позволит уменьшить площади пересева озимых из-за вымерзания, успешнее бороться с водной эрозией на склонах.
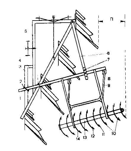
Картофелекопатель для сложных почвенно-климатических условий с устройством для очистки корнеклубнеплодов позволяет произвести выкапывание клубней на тяжелосуглинистых переувлажнённых почвах, когда серийные комбайны и копатели оказываются неработоспособными, а работа возможна только вручную.
Рабочая технология картофелекопателя (рис. 2) при новой компоновке следующая.
Масса «почва + клубни», выкопанная лемехом 1 и сходящая с подъёмного элеватора 2, принимается пальцами рассеивающего 4 и затем собирающего 3 конических сепараторов, установленных вместо серийного каскадного элеватора и встряхивателя, и вследствие их различной окружной скорости разбивается на составные части, смещаясь под углом на каскадном коническом сепараторе. В этом процессе клубни из-за двукратного поворота в движении полностью очищаются от налипшей глинистой
рис. 2 почвы. До применения картофелекопателя ботва должна быть убрана. Рабочая скорость агрегата с трактором МТЗ-50 (80) 6…8 км/ч.
Организация внедрения в производство
Новые технические средства для поверхностной обработки почвы можно изготовить непосредственно в мастерских колхозов и совхозов или же в условиях районных отделений Сельхозтехники, соблюдая следующие схемы компоновки и размеры.
Комбинированная почвообрабатывающая машина составляется из серийного культиватора КПС-4, фронтальной бороны-выравнивателя, роторной винтовой прутковой подрессоренной бороны-катка. Фронтальная борона изготавливается из уголка 75×75 мм с зубьями от тяжелой бороны «Зигзаг» длиной выхода 100 мм, шагом 110мм и устанавливается на расстоянии не менее 450 мм от стоек рыхлителей второго ряда. Чтобы исключить забивание, угол наклона зубьев определён 45° назад, а высота подвешивания всей фронтальной бороны выбирается такой, чтобы исключить сгруженные почвы и обеспечить боронование только на 4…5 см. Фронтальная борона снабжается тремя тягами: в центре и по краям. Параметры ротора: диаметр – 220 мм, длина – 2100 мм, число прутков – 8 – 10, диаметр прутка – 12 мм (или шестигранник, лучше – четырёхгранник), шаг винтового захода – 4 м, число дисковых опор – 5, прутки приварены в пазах дисков. Установочные размеры ротора представлены на рисунке 3 (для составления широкозахватывающего агрегата из нескольких таких культиваторов).
Используя эти выравнивающие-бороновально-прикатывающие технические средства поверхностной обработки почвы, составляют комбинированные агрегаты и с другими серийными орудиями (рис. 4 – 12), применяемыми в цикле полевых работ.
рис. 3
рис. 3
рис. 4 рис. 5
рис. 6
рис. 7
рис. 8
рис. 9
рис. 10

рис. 11
рис. 12
Техническая характеристика комбинированной почвообрабатывающей машины
Ширина захвата, м 4
Рабочая скорость, км/ч 8…15
Производительность, га/ч 4…5
Масса удельная, кг/м 180
Тяговый класс трактора, кН 1,4
Борона дискозубовая коническая с коэффициентом унификации, равным 0,94, сконструирована на основе секции серийно выпускаемых дисковых лущильников ЛДГ-5, ЛДГ-10, ЛДГ-15, на базе которых созданы бороны шириной захвата 5, 10, 15 м. Собранные дискозубовые секции бороны имеют форму лежащего на боку усечённого конуса. Диски каждой секции имеют разный диаметр, уменьшаясь на 15 мм постепенно с 450 до 330 мм (рис. 13). К дискам двумя болтами М10×35 прикреплены зубья длиной 60 мм от борон «Зигзаг». Количество их выбрано так, чтобы сохранить примерно равную длину дуги режущей части диска между зубьями.
рис. 13
Техническая характеристика конической дискозубовой бороны на базе лущильника ЛДГ-10
Ширина захвата на лугах при угле атаки 15°, м 11,5
Ширина захвата на зяби при угле атаки 30°, м 10,0
Рабочая скорость, км/ч 8…18
