Результаты и перспективы использования технологии квантовой биофизики в подготовке высококвалифицированных спортсменовРефераты >> Физкультура и спорт >> Результаты и перспективы использования технологии квантовой биофизики в подготовке высококвалифицированных спортсменов
Концепция развития физической культуры и спорта в Российской Федерации на период до 2005 г. специальное внимание уделяет использованию в практике подготовки высококвалифицированных спортсменов передовых научных технологий [1].
В настоящее время не вызывает сомнений тот факт, что одним из новейших научно-технических достижений на грани ХХI столетия являются технологии квантовой биофизики и медицины [2, 13, 18].
Как известно, основу квантовой биофизики составляет изучение электронной структуры биологически важных макромолекул и путей превращения энергии в организме на электронном уровне. Развитые методы регистрации спектров люминесценции используют для решения многих проблем биологии, медицины, сельского хозяйства и других отраслей.
В последние годы получило развитие еще одно направление квантовой биофизики - исследование функционирования биологических объектов, и в частности психофизиологического состояния человека, методом газоразрядной визуализации (ГРВ) [15, 16]. Метод ГРВ основан на регистрации оптоэлектронной эмиссии биологического объекта, стимулированной импульсами электромагнитного поля.
Протекание импульсного электрического тока в непроводящих биологических тканях может обеспечиваться межмолекулярным переносом возбужденных электронов по механизму туннельного эффекта с активированных перескоком электронов в контактной области между макромолекулами [20]. В связи с этим можно предположить, что формирование специфических структурно-белковых комплексов в толще эпидермиса и дермиса кожи обеспечивает образование каналов повышенной электронной проводимости, экспериментально измеряемых на поверхности эпидермиса как электропунктурные точки. Гипотетически наличие таких каналов в толще соединительной ткани может быть ассоциировано с "энергетическими" меридианами [17]. Иными словами, понятие переноса "энергии", характерное для представлений восточной медицины и режущее слух человеку с европейским образованием и научными традициями, может быть ассоциировано с транспортом электронновозбужденных состояний по молекулярным белковым комплексам. При необходимости совершения физической или умственной работы электроны, распределенные в белковых структурах, транспортируются в соответствующие структурно -функциональные комплексы и могут обеспечивать повышение коэффициента полезного действия окислительного фосфорилирования, то есть энергетического обеспечения функционирования локальной системы [12]. Таким образом, организм, по-видимому, может формировать функционально лабильные энергетические депо, являющиеся базисом для совершения работы, требующей мгновенной мобилизации и огромных энергоресурсов в условиях сверхбольших нагрузок, характерных, например, для спорта высших достижений.
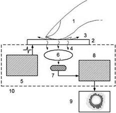
Рис. 1а. Схематическое изображение ГВР прибора. 1 - объект исследования; 2 - прозрачный электрод; 3 - газовый разряд; 4 - оптическое излучение; 5 - генератор; 6 - оптическая система; 7,8 - видеопреобразователь; 9 - компьютер; 10 - корпус
Принцип метода ГРВ заключается в следующем рис.1а): между исследуемым объектом (1) и диэлектрической пластиной (2), на которой размещается объект, подаются импульсы напряжения длительностью 10 мкс от генератора электромагнитного поля (5), из-за чего на обратной стороне пластины (2) развивается лавинный и/или скользящий разряд, параметры которого определяются свойствами объекта. Свечение разряда с помощью оптической системы и ПЗС-камеры (6-8) преобразуется в видеосигналы, которые фиксируются в памяти компьютера (9) в виде одиночных кадров биоэлектрограмм (БЭО-грамм). Обработка производится с помощью специализированного программного комплекса, который позволяет вычислять набор параметров БЭО-грамм и на их основе делать определенные диагностические заключения.
Аппаратный комплекс "Коррекс", используемый при проведении ГРВ-графии, соответствует требованиям нормативных документов безопасности и разрешен к применению Комитетом по новой медицинской технике МЗ РФ и Госстандартом России с 1999 года, регистрационный номер в государственном реестре медицинских изделий № 29/06111299/3064-02 от 23 января 2002 г.
Для характеристики БЭО-грамм используются следующие показатели: площадь газоразрядного изображения, нормализованная площадь, интегральный коэффициент площади, энтропия изображения и коэффициент фрактальности. Исследуются значения этих показателей для каждого пальца руки, средние значения показателей для пальцев обеих рук и отдельно для правой и левой, определяются величины параметров в секторах проекционных зон функциональных систем, предложенных P. Mandel (1986) в модификации К.Г. Короткова [15] (рис.1 б). У практически здоровых людей величины колебаний параметров БЭО-грамм (среднесуточная и средняя 10-минутная) составляют соответственно 6,6 и 4,1%. Сформированный в ходе совместных исследований со специалистами США, Швеции, Финляндии и Словакии банк данных позволил определить зону нормы для вышеуказанных параметров БЭО-грамм, характерных для практически здоровых людей разных возрастных групп и пола [16].
Апробация технологии ГРВ-биоэлектрографии в спорте была проведена в 1999 - 2002 гг. на базе Северо-Западной Олимпийской Академии России (президент - академик В.У. Агеевец) в совместных исследованиях СПбНИИФК и Академии физической культуры им. П.Ф. Лесгафта. В исследованиях приняли участие чемпионы Олимпийских игр и высококвалифицированные спортсмены училищ олимпийского резерва № 1, 2 и Центра олимпийской подготовки Санкт-Петербурга (средний возраст - 18,3±3,5 года), среди них 15 мастеров спорта международного класса, 26 мастеров спорта и 42 кандидата в мастера спорта. Всего в комплексных лонгитюдных исследованиях было проведено более 348 человеко-обследований. По данным углубленных медицинских обследований, все спортсмены были практически здоровы и активно выступали на международных соревнованиях и в сборных России и города в видах спорта, где тренировка на выносливость является доминирующей: в современном пятиборье, триатлоне, лыжных гонках, конькобежном спорте, академической гребле и плавании.
Рис 1б. ГРВ-диаграмма практически здорового человека. Сектора диаграммы соответствуют проекцион ным зонам функциональных систем организма. Левая и правая диаграммы построены по параметру JS пальцев левой и правой руки. Две кривые соответствуют состояниям человека в разные дни одной недели
Рис. 2а. Типизация БЭО-грамм у группы практически здоровых обследованных (слева) и высококва лифицированных спортсменов, тренирующихся в виде спорта на выносливость (справа). Выборки аналогичны по числу обследованных (65 человек), соотношению лиц женского и мужского пола (45-55%) и возрасту (18,1 ± 2,3 года)
Рис. 2б. Результаты кластерного анализа для группы высококвалифицированных спортсменов УОР-2 С.-Петербурга (директор - И.И. Комаров). По осям отложены ГРВ параметр JSL для левой руки и дисперсия этого параметра DJSR для правой руки. Ось R представляет рейтинг спортсменов по результатам годового соревновательного цикла. Видно, что разделение спортсменов на группы по величине ГРВ параметров коррелирует с эффективностью соревнова тельной деятельности
