Методы извлечения и очистки родия
11. Окисление родия при температуре 300—900 °С, в результате чего родий пре вращается в RhOs.
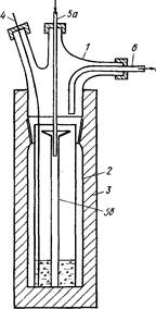
Родий извлекают из высококипящих смолистых остатков дистилляции, получаемых при переработке реакционных смесей, образующихся при превращении органических соединений в присутствии гомогенных комплексных родиевых катализаторов. В качестве примера таких реакций могут быть упомянуты гидроформилирование, гидрокарбоксилирование, изомеризация, димеризация или олигомеризация. Выделение катализатора проводят путем пропускания тока не окисляющего, предпочтительно восстанавливающего газа, например водорода или f водородсодержащего газа, через остатки от дистилляции при повышенной температуре. В результате достигается селективное удаление органических компонентов и получается гетерогенный остаток, содержащий родий. Этот остаток растворяют в неорганической кислоте, получая водорастворимое соединение родия, которое может быть использовано для приготовления комплексного родиевого катализатора. Предпочтительно в качестве неорганической кислоты применять олеум и после его смешивания с гетерогенным остатком проводить частичное упаривание. На рис. 3 представлен лабораторный аппарат, который может быть использован для проведения этого процесса.
Гомогенный раствор, в состав которого входит родиевый комплекс, и высококипящие остатки от дистилляции, нагревают в реакторе, через который непрерывно проходит поток газа. На схеме применены следующие обозначения: 1 — верхняя часть стеклянного реактора; 2 нижняя часть стеклянного реактора; 3 — нагреватель; 4 — термопара; 5а — металлический капилляр со стеклянной входной трубкой; 56 — стеклянный капилляр; 6 — трубка для выхода продуктов. Все компоненты кубового остатка и продукты, образующиеся в результате пиролиза, выносятся из реактора током газа, а получающийся металл остается в реакционной камере.
Ниже приводится конкретный пример осуществления данного процесса. Нагревают 500 г н-валерьянового альдегида при 300 °С в течение 72 ч в автоклаве с поршневой мешалкой. Затем отгоняют низкокипящие продукты поликонденсации в высоком вакууме. Растворяют 300 мг HRh(CO)(PR3)3 и 1200 мг РРп3 в 15 мл остатка, образовавшегося при дистилляции, при =;100°С с пропусканием водорода. Водород подают с постоянной скоростью 0,4 л/мин.
После выхода из реакционной камеры газовый поток пропускают через две последовательно соединенные промывные склянки — с вышеупомянутыми продуктами поликонденсации и с толуолом. Реактор нагревают при температуре 300 °С в течение 90 мин и затем охлаждают. В реакторе образуется 169 мг твердого остатка.
Ни в одной из промывных склянок родий не обнаруживается; таким образом, весь имеющийся родий входит в состав твердого остатка.
В реактор добавляют 15 г 10 %-ного олеума и 25 % этого количества выпаривают при =г300°С. Образующиеся нары отводят при небольшом вакууме, пропуская их через промывную склянку с водой. Промывная вода не содержит родия. Оставшуюся кислоту, содержащую металл, разбавляют 162 мл воды с получением 7 %-ной серной кислоты. Полученный раствор имеет темно-коричневую окраску. Здесь родий, введенный в систему, находится в растворе.
