Нитрование ароматических углеводородов. Производство нитро-бензола
Образующиеся оксиды азота необходимо улавливать. При малотоннажном производстве их можно поглощать щелочью. При многотоннажном сжигать в токе природного газа:
CH4 + 2NO2 → CO2 + N2 +2 H2O
Однако трудными экологическими проблемами является обезвреживание промывных вод и щелочных растворов от нитросоединений, а также разбавленных кислых стоков.
2.6. Разработка новых технологий нитрования
В настоящее время продолжаются интенсивные разработки новых технологических решений процесса нитрования. В основном это направления снижение острого взрывоопасного начала реакции, снижение концентрации нитросоединений и кислых отходов в сточных водах. Возможность варьирования нитрующих реагентов, сред, катализаторов, способов выделения даёт простор для поиска оптимальных технологических режимов.
В настоящее время изучено нитрование бензола 65 %-ной азотной кислотой на вольфрам-циркониевых катализаторах, некоторых цеолитах и Al-бентоните. Показано, что выход нитробензола существенно зависит от условий проведения процесса. Наибольшую активность в нитровании проявляют WO3/ZrO2 и Al-бентонит, обладающие сильными кислотными свойствами. Выход нитробензола на WO3/ZrO2 достигает 70 % при селективности, близкой к 100 %.
Заключение
Нитрование – сложный, опасный, экологически напряженный процесс, но без него невозможен синтез ряда продуктов. Перспективы использования нитрования в новых технологических решениях – снижение острого взрывоопасного начала реакции, снижение концентрации нитросоединений и кислых отходов в сточных водах. В наше время эти проблемы стали более острее, так как из-за развития производств некоторых продуктов, сырьём для которых являются продукты нитрования, требования к количеству и качеству нитроароматики возрастают.
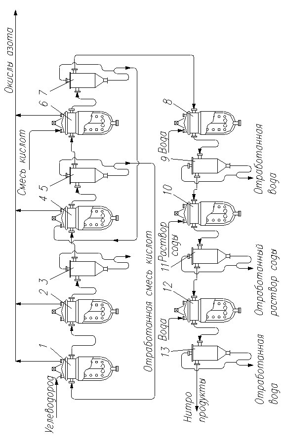
Приложение 1.
Процесс жидкофазного нитрования ароматических углеводородов
1,2,4,6 – нитраторы; 3,5,7,9,11,13 – сепараторы; 8,10,12 – промывные ёмкости
Приложение 2.
Установка для нитрования ароматических углеводородов в проточном нитраторе
1 – мотор; 2 – сепарационные камеры; 3 – камеры нитрования; 4 – холодильники.
Список литературы
1. Лебедев Н.Н. Химия и технология основного органического и нефтехимического синтеза. М.: Химия, 1969. 670 с.
2. Адельсон С.В. и др. Технология нефтехимического синтеза. М.: Химия, 1985. 607 с.
3. Горелик М.В., Эффос Л.С. Основы химии и технологии ароматических соединений. М: Химия, 1992. 640 с.
4. Чичибабин А.Е. Основные начала органической химии. М.: Государственное научно-техническое изд-во химической литературы, 1963. т.1 545 с.
5. Грейш А.А., Демыгин С.С., Кустов Л.М. Нанесенные вольфрам-циркониевые и цеолитные катализаторы // Катализ в промышленности, 2002, № 4 с. 17
6. Чичибабин А.Е. Основные начала органической химии. М.: Государственное научно-техническое изд-во химической литературы, 1957. т.2 614 с.
