О-хлорстирол
Принципиальная схема процесса с использование катализаторных комплексов приведена на рисунке 3.
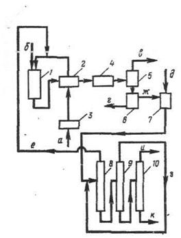
Рис. 3. Принципиальная схема получения этилбензола при использовании катализаторного комплекса.
1 – колонна обезвоживания,
2 - сепаратор,
3 - реактор;
4 – газосепаратор,
5 - сепаратор для отделения катализаторного комплекса;
6 - блок приготовления свежего катализаторного комплекса;
7 - система промывки алкилата;
8, 9,10 - ректификационные агрегаты;
а - исходный бензол;
б - азеотропная смесь вода + бензол;
в - вода;
г - обезвоженный бензол;
д -газы;
е - циркулирующий катализаторный комплекс;
ж - этилен;
з - хлорид алюминия;
и - свежий катализаторный комплекс;
к - оборотный бензол;
л - этилбензол;
м - диэтилбензол;
н - кубовый остаток;
о - вода на промывку;
п - сточные воды.
При получении этилбензола алкилирование ведут с избытком бензола (200 – 300% от стехиометрического), чтобы уменьшить образование ди- и полиалкилбензолов. И все же содержание последних оказывается значительным. Диалкилпроизводные подвергаются переалкилированию в реакторе алкилирования. Но можно непосредственно использовать их в качестве товарных продуктов.
В процессе алкилирования бензола с хлоридом алюминия циркулируют значительные объемы жидкого катализаторного комплекса. Причем в реакционной массе две жидкие фазы: катализаторный комплекс и смесь бензола и алкилбензолов. В результате возможность подъема температуры процесса ограничена, так как при температурах выше 130 °С комплекс дезактивируется и разрушается (3, 6).
Более интересно гомогенное алкилирование в присутствии хлорида алюминия. В этом случае количество катализатора определяется его растворимостью в бензоле, а давление процесса подирается таким, чтобы олефин находился в жидкой фазе.
Реактор работает в адиабатическом режиме, и на выходе из него температура достигает 200 °С. При этом резко уменьшился выход побочных продуктов, а выход этилбензола стал близок к количественному.
По такой технологии работает установка мощностью 760 тыс. т/год. Ее особенностью является высокий выход продуктов алкилирования (99%) и более низкие удельные затраты хлорида алюминия (в два раза) по сравнению с обычным процессом. В схеме отсутствует рецикл катализатора. Последний выделяется при нейтрализации в виде гидроксида алюминия и используется на установках очистки сточных вод в качестве осадителя. Большая единичная мощность установки в сочетании с высокой температурой в реакторе создает благоприятные условия для утилизации тепла реакции, в результате 90% потребности в тепловой энергии установка покрывает за счет использования названного тепла.
Рассмотрим технологическую схему получения стирола.
|
|
Ряс. 2. Принципиальная схеме получения стирола:
1 – контактный аппарат;
2 – теплообменник;
3 – подогреватель;
4 – холодильник;
5 – газосепаратор;
6 сепаратор воды;
7 – смеситель;
8, 9, 10 – ректификационные агрегаты;
а – бензол;
б –. водяной пер;
в – водородсодержащие газы;
г – вода;
д – ингибитор;
е – оборотный бензол;
ж – «печное масло»;
л – стирол-сырец;
ы – товарный стирол;
к – кубовый остаток.
Этилбензольная шихта подогревается в теплообменнике до 70-95
за счет теплоты химически загрязненного конденсата и подается в испаритель вместе с небольшим количеством водяного пара. Из испарителя пары шихты с температурой 160
поступают в перегреватель, где перегреваются до 500-550
за счет теплоты перегретого водяного пара, выходящего из межступенчатого подогревателя реактора. Из перегревателя пары шихты направляются на дегидрирование в реактор. Теплота, необходимая для реакции, подводиться с водяным паром, перегретым в печи до 700-750
.
Пароэтилбензольная смесь на входе в реактор имеет температуру 560-630
. За счет эндотермической реакции после первого реактора температура контактного газа снижается до 570
. Контактный газ из реактора поступает в межступенчатый подогреватель, где подогревается до 580-630
, и затем направляется во второй реактор. Контактный газ из реактора с температурой 570
поступает в котел-утилизатор. Охлажденный до 180-200
контактный газ из котла-утилизатора направляется в пенный аппарат, где происходит дальнейшее охлаждение контактного газа и отмывка его от механических примесей.
Охлажденный контактный газ поступает на конденсацию. Конденсация осуществляется последовательно в нескольких конденсаторах. Полученные конденсаты стекают в отстойную емкость, где происходит расслаивание на водный и углеводородные слои. Верхний углеводородный слой, называемый печным маслом, самотеком поступает в сборник, где заправляется ингибитором гидрохиноном, и направляется на ректификацию. Нижний водный слой – химически загрязненный конденсат – собирается в емкость и насосом подается на отмывку контактного газа в пенный аппарат, откуда конденсат после охлаждения в теплообменнике направляется на очистку от механических примесей. Несконденсировавшийся газ после конденсаторов компримируется и поступает в линию топливного газа.
Основным процессом получения стирола в промышленности остается каталитическое дегидрирование. Увеличению равновесного выхода стирола благоприятствует повышение температуры и понижение давления. Поэтому дегидрирование ведут при температуре около 600°С, используя разрежение или подачу острого пара. Выход стирола за проход составляет 25–35%. Катализатором служат смеси оксидов железа и хрома, продотированные, например, карбонатом калия. Ректификация стирола-сырца проводится в вакууме при добавлении ингибиторов полимеризации. Принципиальная схема процесса представлена на рис. 2. Сравнительно небольшая разница температур кипения стирола и этилбензола требует применения высокоэффективных ректификационных колонн.
Лучшие современные предприятия по производству стирола характеризуются следующими расходными показателями на 1 т стирола:
Этилен, т 0,307
Бензол, т 0,820
Пар (Р=О,53 МПа) . .1,70
Электроэнергия, кВт-ч 65
Топливо, ГДж . . .6,35
Перспективным методом производства стирола является окислительное дегидрирование этилбензола диоксидом серы – необратимый процесс, малочувствительный к примесям, содержащимся в этилбензоле, и позволяющий получить стирол с высоким выходом. Перспективен и процесс сопряженного окислительного дегидрирования, по которому получают стирол и оксид пропилена [ 4, с. 206 –207]. По этой технологии сооружен ряд крупных производств, в частности в Нидерландах.
