Реологические свойства САН и АБС пластиков
Сополимер САН, обладая повышенной стойкостью к бензину и маслам, относительно высокой теплостойкостью, применяется в автомобилестроении и приборостроении, в т.ч. в производстве кухонных приборов. К настоящему времени в России разработана и готовится к внедрению вторая марка этого сополимера с еще более высокой текучестью (ПТР более 3 г/10 мин при 200°С/5 кг). При этом практически решена проблема характерной для этого сополимера желтизны.
Вторая группа полистирольных пластиков - наиболее крупнотоннажная и разнообразная по марочному ассортименту - ударопрочные пластики. Их суть заключается в том, что имеется жесткая полистирольная матрица того или иного свойства, в которой находится дисперсная каучуковая фаза, эффективно связанная с матрицей. Когда матрицей является гомополистирол, получается в итоге ударопрочный полистирол; когда матрица - сополимер стирола и акрилонитрил, получается так называемый АБС-пластик. Ударопрочный полистирол производится в России и во всем мире двумя методами: полимеризацией в массе и блочно-суспензиционным методом. Матрицей некоторых из АБС-пластиков является сополимер стирола и акрилонитрила. Акрилонитрильные звенья придают пластику дополнительную теплостойкость и химическую стойкость, обеспечивает более высокие физико-механические свойства, но делают его более вязким по сравнению с ударопрочным полистиролом. Более высокий уровень физико-механических свойств определяет преимущественное использование этих пластиков в качестве конструкционного материала. АБС-пластик используется, прежде всего, там, где требуется сочетание высокой ударопрочности и формоустойчивости. Это, прежде всего корпусные детали, основание различных приборов и устройств. Одной из главных областей применения является автомобилестроение. АБС-пластик производится у нас тремя методами: полимеризацией в массе, блоко-суспензионным и эмульсионными методами. В данный период ведется работа по организации этого производства в нашей стране. Наличие в составе АБС-пластика полярных нейтральных групп расширяет области изменения этого типа ударопрочного пластика, т.к. позволяет проводить металлизацию изделий, наносить на изделия лакокрасочные покрытия, а также вводить в пластик стекловолокно. Созданы стеклонаполнительные марки на базе матричного сополимера САН и на базе некоторых марок самого АБС-пластика. Также полимеры позволяют получить литьем под давлением детали с повышенной размерной точностью и обеспечивают им повышенные жесткость и теплостойкость. Композиции АБС с поликарбонатом позволяют с большим эффектом сочетать достоинства обоих компонентов, в частности, получать материал менее дорогой и с гораздо более высокими литьевыми свойствами по сравнению с поликарбонатом (ПТР 3-6 г/10 мин при Т=220°С и Р=10 кг) и гораздо более ударопрочный и теплостойкий по сравнению с АБС (ударная вязкость по Изоду 50-70 кДж/м2, температура размягчения по Вика (Р=5 кг) 110 - 125°С).
КАПИЛЯРНАЯ ВИСКОЗИМЕТРИЯ
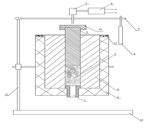
Для построения кривых течения образцов при высоких скоростях сдвига используют капиллярный вискозиметр МВ-ЗМ (рис.4). Прибор предназначен для определения вязкостных свойств полимеров в размягчённом и расплавленном состоянии, и в частности, для определения индекса расплава. Принцип основан на измерении объёма расходуемого материала (а) при прохождении через стальной капилляр 1 под действием постоянного напряжения (2) приложенного к исследуемому образцу 3 через рычаг 4 и шток 5. Расход материала определяется по степени погружения штока в камеру 6. Он регистрируется с помощью датчика перемещения 7 и индикатора перемещения 8, сигнал с которого идёт на цифропечатающее устройство и выводится в виде значений времени, за которое шток проходит определённое фиксированное расстояние. Камера помещается в обогревательную печь 9, которая снабжена терморегулятором позволяющим поддерживать постоянную температуру (от комнатной до 350 °С). Использование различных величин нагрузки, изменение плеча рычага и размеров капилляра позволяют проводить измерения в широком диапазоне напряжения сдвига: от 103 до 106 Па. Необходимое для исследования количество вещества ~2 грамм. Для построения кривой течения определяли логарифмы напряжения и скорости сдвига на стенке капилляра. Напряжение сдвига на стенке капилляра (τ) равно:
τ=ΔРr/2(L+nR) [дин/см2],
где L и R длина и радиус капилляра соответственно, n - поправка, учитывающая потери давления на входе в капилляр, ΔРr перепад давления между концами капилляра
ΔРr =981*4*Р/πD2,
где Р - сумма весов грузов, поршня и усилия пружины индикатора, D - диаметр поршня. Тогда
τ=981 *4*P/2πD2(L+nR)=K1*P
или lgτ=lgK1+lgP.
Для определения скорости сдвига на стенке капилляра (γ') сначала рассчитывают её среднее значение (γ'1):
γ'1=Q/πR3,
где Q - расход материала.
Q=(S/t)*(πD2/4),
S - величина перемещения поршня за время t. Отсюда:
γ'1=S*π*D2/4*πR3t=K2*(S/t)
или lgγ'1=lgK2+lg(S/t).
Значения констант К1 и К2 постоянны для каждого капилляра. По найденным значениям lgγ', и lgτ строится вспомогательная осреднённая кривая течения lgγ'1=f(lgτ). Для построения истиной кривой течения, связывающей напряжение сдвига на стенке капилляра со скоростью деформации на стенке производится графическое перестроение данной кривой по уравнению:
lgγ'=lgγ'1+lg(3+n),
где n=d(lgγ'1)/d(lgτ); т.е. тангенс угла наклона касательной в каждой данной точке кривой lgγ'1==f(lgτ). Расчёт значения вязкости (η) производится по формуле:
η=τ/γ'.
Рис. 6. Принципиальная схема микровискозиметра МВ-3М
1-капилляр; 2-груз; 3-исследуемый образец; 4-рычаг; 5-шток; 6-камера (бомба); 7-датчик перемещения; 8-индикатор перемещения; 9-печь с электрообогревом; 10-теплоизулирующая шляпка; 11-съёмная крышка; 12-штатив; 13-опорная плита.
ИСХОДНЫЕ ДАННЫЕ.
ЭКСПЕРИМЕНТАЛЬНЫЕ ДАННЫЕ И КОММЕНТАРИИ К НИМ.
Эксперименты с образцами сополимеров стирола и акрилонитрила проводились при четырёх температурах и при значениях логарифма напряжений сдвига lgτ от 3 до 5.5 [Па]. На рис.5 представлены результаты экспериментов для типичного представителя образцов линейных САН (SAN 32) - качественно кривые выглядят одинаково.
Рис. 7. Экспериментальные данные типичного представителя линейных САН (SAN 32)
Из рис.7 видно, что кривые имеют сходный характер, имея прямопропорциональную и, больше того, практически линейную зависимость скорости сдвига от деформации. Также можно выделить общую закономерность для всех образцов: при повышении температуры проведения эксперимента - при тех же значениях напряжений скорости деформаций увеличиваются (то есть кривые параллельно поднимаются относительно оси ординат). Что является вполне закономерным явлением, учитывая, что подвижность сегментов макромолекул увеличивается, при увеличении температуры, и полимер легче деформируется (в данном случае начинает течь).
