Технология производства из отходов полиолефинов порошкообразных сорбентов нефти
Учитывая, что с каждым годом увеличивается число аварийных разливов нефти и нефтепродуктов и возрастает количество образующихся в результате жизнедеятельности населения земного шара полимерных отходов, которые лишь в незначительной степени подвергаются утилизации, актуальность исследований, направленных на. решение этих важнейших экологических проблем, является очевидной. Известно [1], что тонкодисперсные полиолефиновые порошки являются эффективными сорбентами нефти и нефтепродуктов, применяемыми при ликвидации их аварийных разливов. Понятно, что, если эти сорбенты будут производиться из вторичного полимерного сырья, то актуальность указанных исследований становится еще более значимой.
В настоящее время известны два промышленных способа получения полиолефиновых порошков (криогенное механическое измельчение и осаждение из растворов), которые, однако, обладают рядом существенных недостатков. Так, механическое измельчение экономически невыгодно в силу того, что оно может быть реализовано только в присутствии хладагентов, расход которых (например, жидкого азота) составляет в среднем 4 кг на 1 кг порошка. Получение же порошков полимерных материалов по методу осаждения из растворов при их охлаждении предполагает использование большого количества осади-теля (применительно к полиэтилену - этилового спирта), в результате чего возникает проблема разделения на компоненты путем ректификации образующегося раствора двух низкомолекулярных жидкостей.
Целью данного сообщения является изложение результатов исследований, направленных на разработку, лишенную указанных недостатков технологии производства из отходов полиолефинов порошкообразных сорбентов, предполагающую растворение полимеров в органических жидкостях при повышенной температуре и последующее выделение полимера (с использованием специальных приемов) в виде порошка.
Сформулированные нами ранее [2] представления о фазовом равновесии в системах частично-кристаллический полимер-жидкость и анализ под этим углом зрения полученных полных диаграмм состояния таких систем [3] позволили определить область, в которой реализуется неполный фазовый распад с образованием механически непрочного геля полимера. Эта область находится под кривой растворимости жидкости в полимере (рис. 1). Судя по приведенной на этом рисунке диаграмме состояния, максимальная температура стадии освобождения порошка от содержащегося в нем растворителя не должна превышать температуру полной аморфизации полимера (Там) в присутствии жидкости, которая для рассматриваемой системы ПЭНП - толуол составляет ~ 64 °С. Поэтому очевидно, что для выполнения этого условия процесс удаления растворителя должен реализовываться при использовании приемов, понижающих температуру кипения растворителя, к которым относятся, в частности, перегонка при пониженном давлении и в токе водяного пара. Причем из общих соображений ясно, что вода будет выполнять роль хладагента, и ее использование предотвратит слипание порошка и сделает процесс пожаро- и взрывобезопасным.
Выполненные на специально разработанной лабораторной установке эксперименты подтвердили справедливость изложенных положений, позволили в первом приближении очертить границы области (заштрихованный прямоугольник на диаграмме состояния), внутри которой может быть реализован процесс получения полиэтиленового порошка на установке данной конструкции, и выяснить особенности механизма стадии отгонки растворителя.
Левая граница соответствует концентрации, при которой возможность выделения порошка лимитируется не эффективностью диспергирующего устройства, а сохранением достаточного уровня дисперсности полимера на стадии отгонки растворителя. Правая же, напротив, соответствует концентрации полимера, начиная с которой лимитирующим фактором становится эффективность (мощность) диспергатора. Нижняя граница этой области отвечает температуре совместной перегонки толуола и воды при остаточных давлениях, создаваемых вакуум-насосом в реакторе, а верхняя - максимальной температуре, при которой еще гарантируется возможность получения порошка при измельчении охлажденного водой раствора.
Анализ и сопоставление полученных на лабораторной установке кинетических зависимостей изменения температуры и остаточного давления в реакторе на стадии отгонки для модельной (толуол + вода) и реальной (охлажденный и диспергированный раствор ПЭНП в толуоле + вода) систем показали, что на этой стадии реализуются два периода: с постоянной (совместная отгонка растворителя и воды) и падающей (удаление следов растворителя) скоростью. При этом лимитирующим общую длительность процесса является именно второй период, связанный с переносом иммобилизованных в частицах полимера молекул растворителя к их поверхности.
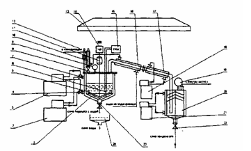
Однако понятно, что полученные в «пробирке» результаты не могут быть перенесены без соответствующих уточнений на крупнотоннажное производство. Поэтому в рамках следующего этапа работы была изготовлена и введена в эксплуатацию пилотная установка периодического действия производительностью до 2 кг порошка за цикл, принципиальная схема которой приведена на рис. 1.
Эксперименты, выполненные на пилотной установке, позволили определить технологические параметры стадии приготовления раствора ПЭНП в толуоле и стадии получения порошка.
Рис. 1. Схема пилотной установки: 1 - аппарат для получения порошка, 2 - термостат для подачи «горячего» теплоносителя; 3 - термостат для подачи «холодного» теплоносителя; 4,7 – трехходовые краны; 5 - мешалка; 6 - термопара; 8 - загрузочный кран; 9,19- вакуумметры; 10 - обратный холодильник; 11 - электродвигатель мешалки; 12 - штатив; 13 - вытяжной зонт; 14 - частотный регулятор скорости вращения вала; 15 - прибор ТРМ 1, показывающий температуру; 16 - конденсатор паров водяной; 17 — низкотемпературный конденсатор; 18, 21 - криостаты; 20 - сборник конденсата; 22 - кран слива конденсата; 23 - кран для выгрузки
Некоторые результаты кинетических экспериментов по растворению в толуоле гранул ПЭНП при различных температурах теплоносителя, подаваемого в рубашку реактора (75-95 °С), и скоростях перемешивания (125-400 мин"1) иллюстрируют рис. 3 и 4. Видно, что длительность процесса растворения уменьшается с увеличением температуры и интенсивности перемешивания.
На основании этих данных, а также с учетом того, что процесс растворения состоит из двух стадий (набухание гранулы полимера до достижения на ее поверхности состояния подвижного геля и собственно растворения с отрывом макромолекул с поверхности этого геля и распределением их в растворителе за счет конвективной диффУ" зии в условиях интенсивного перемешивания), была разработана математическая модель стадии [4]. Адекватность этой модели экспериментальным данным наглядно иллюстрируют кривые, приведенные на рис. 2 и 3.
Рис. 2. Зависимость массовой доли растворившегося ПЭНП (е) от времени процесса приготовления раствора с конечной концентрацией по полимеру, равной 15,7 %, при скорости вращения мешалки 125 мин"1 и температуре теплоносителя 75 (1) и 95 (2) °С. Точки - эксперимент, сплошные линии – расчет
