Фазовый состав полиблочных блок-сополимеров полиариленсульфоноксида и полиэтиленоксида
состава, используя только блок-сополимеры III, полученные одностадийным способом.
На рис. 3 приведены диаграммы состояния трех блок-сополимеров типа III на основе ПАСО различной ММ, сравнительное рассмотрение которых позволяет отметить следующее. При небольших содержаниях ПЭО в каждом ряду блок-сополимеров наблюдается лишь одна температура стеклования Тс1, отличная от температуры стеклования исходного ПАСО и резко снижающаяся при увеличении количества ПЭО. При некотором содержании ПЭО Тс2 перестает снижаться и наряду с ней появляется еще одна температура стеклования Тс2, существенно отличная от Те чистого ПЭО. Так же как и в случае блок-сополимеров ПА — ПЭО, Гс2 относится к стеклованию раствора жесткого блока (ПАСО) в ПЭО. Зависимости Тс2 от состава для разных рядов блок-сополимеров различны, но их экстраполяция на 100%-ное содержание ПЭО во всех случаях дает Тс чистого ПЭО большой ММ (~200 К) [8]. Дальнейшее увеличение содержания ПЭО сопровождается выделением кристаллической фазы ПЭО, характеризующейся температурой Тпл и теплотой плавления ()пл (рис. 4). Зависимости Тпл от состава для разных рядов блок-сополимеров различны: чем меньше молекулярная масса ПАСО-блока, тем больше их наклон. Так, в ряд блок-сополимера на основе ПАСО (М=13 500) максимальное снижение Тпл ПЭО-блока при уменьшении его количества составляет ~12 К, в то время как в ряду блок-сополимеров на основе ПАСО (М=1600) это снижение достигает ~20 К.
Как известно [8], понижение температуры плавления кристаллизующегося компонента в бинарной полимер-полимерной системе обусловлено, по меньшей мере, двумя факторами: наличием второго (способного к растворению) компонента и изменением размеров кристаллитов. При анализе понижения Тал необходимо, естественно, учитывать и собственную зависимость Гпл кристаллизующегося компонента от ММ. На рис. 5 приведена наглядная зависимость Гпл от молекулярной массы ПЭО-блока для трех рядов блок-сополимеров. Здесь же для сравнения представлены Гдл чистого ПЭО различной ММ [9]. Как следует из рисунка, Тпл ПЭО-блока одной и той же ММ имеет различные значения для разных рядов блок-сополимеров, что свидетельствует о зависимости Т„„ ПЭО-блока не только от его ММ, но и от содержания в системе. С другой стороны, как это было показано для блок-сополимеров ПА — ПЭО [5], содержание ПЭО определяет морфологию блок-сополимеров. С момента начала аморфного микрофазового разделения с увеличением количества ПЭО размеры дисперсной фазы (обогащенной ПЭО), из которой происходит его кристаллизация, увеличиваются. При дальнейшем увеличении содержания кристаллического ПЭО он становится матрицей, а фазой являются аморфные области, обогащенные ПАСО. Улучшение условий кристаллизации ПЭО по мере увеличения его количества в блок-сополимерах приводит к увеличению размеров кристаллитов и, следовательно, их Гпл. Заметные различия в значениях Тпл в разных рядах блок-сополимеров при малых концентрациях ПЭО сглаживаются в области больших содержаний, и экстраполяция этих зависимостей на 100% -ное содержание ПЭО приводит к температуре плавления чистого ПЭО большой ММ (343 К) [10]. Соотношение термодинамического и морфологического факторов, оказывающих влияние на понижение Тпл блок-сополимеров ПАСО — ПЭО, является предметом проводимых в настоящее время исследований.
Критические составы начала выделения кристаллической фазы ПЭО для каждого ряда блок-сополимеров приведены в табл. 2. С увеличением молекулярной массы ПАСО-блока они сдвигаются в сторону меньшего содержания ПЭО.
Калориметрические данные хорошо согласуются с оптико-микроскопическими наблюдениями. Во всех рядах блок-сополимеров с момента начала кристаллизации ПЭО вместо однородного прозрачного поля появляется мелкозернистая структура (рис. -6, а), которая при увеличении содержания ПЭО трансформируется в хорошо выраженные сферолиты (рис. 6, г). Чем больше молекулярная масса ПАСО-блока, тем значительнее границы структурных превращений сдвинуты в область меньшего содержания ПЭО.
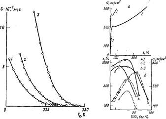
Влияние ПАСО на кристаллизацию ПЭО проявляется не только в наличии критических составов, начиная с которых происходит выделение кристаллической фазы, и в зависимости Тил (рис. 3), степени кристалличности а (рис. 4), а также скорости кристаллизации ПЭО от состава блок-сополимеров. На рис. 7 представлена зависимость скорости роста сферо-литов ПЭО от температуры кристаллизации для блок-сополимеров различного состава. Из рисунка видно, что с увеличением доли ПАСО скорость кристаллизации ПЭО резко уменьшается. Следует отметить происходящие при этом изменения формы и размеров сферолитов. При высоком содержании ПЭО большое число растущих сферолитов не позволяет им достичь больших размеров и иметь правильную форму. Уменьшение количества ПЭО в блок-сополимерах снижает число зародышей и приводит к образованию сферолитов больших размеров более правильной формы.
Рис. 7. Зависимость скорости роста сферолитов ПЭО от температуры кристаллизации для блок-сополимеров на основе ПАСО (Л/=4700, ж=10), содержащих 75 (1), 80 (2)и 89% ПЭО (3)
Рис. 8. Типичные кривые растяжения блок-сополимеров, составы которых находятся в характерных областях диаграммы состояния (а) и зависимости разрывной прочности (сплошные линии) и удлинения блок-сополимеров (штриховые) от содержания ПЭО {б), а: 1 — область малых содержаний ПЭО; 2 — до начала кристаллизации ПЭО и при небольших степенях кристалличности (а<50%); 3 — а>50% ПЭО; б: х=Ъ (1),10 (2) и 30 (3)
При дальнейшем уменьшении содержания ПЭО они исчезают, и структура становится мелкозернистой, поэтому изучение кинетики кристаллизации блок-сополимеров такого состава может быть проведено по скорости валовой кристаллизации. Детальный анализ кинетики кристаллизации в этих блок-сополимерах является предметом отдельного рассмотрения.
С целью сопоставления механических свойств блок-сополимеров различного состава были сняты кривые одноосного растяжения образцов при комнатной температуре и установлена существенная зависимость механических свойств от содержания ПЭО и степени его кристалличности а. Аналогичная зависимость была получена и для блок-сополимеров ПА — ПЭО в работе [5]. На рис. 8, а приведены типичные кривые растяжения образцов, составы которых находятся в характерных областях диаграммы состояния. На рис. 8, б представлены зависимости разрывной прочности и удлинения в зависимости от состава для трех рядов блок-сополимеров. Сравнительное рассмотрение рис. 8 и рис. 4 показывает следующее. Блок-сополимеры с малым содержанием ПЭО характеризуются типичными кривыми растяжения аморфного полимера в стеклообразном состоянии (кривая 1). Блок-сополимеры с большим содержанием ПЭО имеют (кривая 1) кривую растяжения пластифицированного аморфного полимера (кривая 2), но степень кристалличности их не превышает 50%. При достижении степени кристалличности ПЭО более 50% наблюдается резкое снижение прочностных свойств образцов и их хрупкое разрушение (кривая 3). Следует отметить, что блок-сополимеры на основе ПАСО (М=1600) обладают худшими механическими свойствами и хрупко разрушаются уже при малых значениях а.
