Фторирование и дефторирование воды
Сорбционная способность активированного оксида алюминия может быть повышена применением для регенерации сорбента вместо раствора едкого натра раствора сульфата алюминия. При этом в процессе удаления фтора из воды активированный оксид алюминия действует как анионит (АН), заряженный при регенерации обменными ионами S042-. Этот процесс описывается следующей реакцией:
Уместно отметить, что при этом происходит поглощение не только ионов фтора, но и бикарбонатных ионов:
По данным Е. Ф. Золотовой, поглощение активированным оксидом алюминия ионов фтора происходит интенсивнее, чем бикарбонатных ионов.
В процессе обесфторивания воды в результате ионного обмена происходит увеличение концентрации в фильтрате сульфатных ионов. Количественно это увеличение эквивалентно уменьшению концентрации суммы ионов фтора и бикарбонатных ионов. Однако, известно, что содержание сульфатов в питьевой воде регламентируется. Согласно ГОСТ 2874—82, оно не должно превышать 500 мг/л. Поэтому увеличение содержания сульфатов при обесфторивании воды необходимо учитывать при проектировании и расчете комплексов по улучшению качества воды.
Исследования, выполненные в институте ВОДГЕО, показали что для загрузки обесфторивающих фильтров может быть использован оксид алюминия, выпускаемый отечественной химической промышленностью. Однако, перед загрузкой его необходимо подвергнуть вторичной активации прокаливанием при 800°С в течение 3 ч. После остывания его смачивают 15%-ным раствором кальцинированной соды и снова прокаливают при 800° С в течение 30 мин. Перед введением фильтра в работу загрузку необходимо взрыхлить, отрегенерировать 2%-ным раствором едкого натра и нейтрализовать избыток щелочи 0,5%-ным раствором соляной кислоты.
Основными технологическими сооружениями рассматриваемого метода обесфторивания воды (см. рис. 16.6) являются скорые напорные или открытые фильтры, загруженные оксидом алюминия. Помимо фильтров установка по удалению фтора из воды должна иметь реагентное хозяйство для приготовления регенерационных растворов, баки для хранения воды, необходимой для взрыхления и отмывки сорбента, также насосное и воздуходувное оборудование.
Рассматриваемая технологическая схема отличается известной простотой, возможностью компактного решения планировки станции, надежностью при эксплуатации. Кроме того, обесфторивание воды по данному методу позволяет получить наибольший технико-экономический эффект, так как себестоимость обработки воды здесь минимальная по сравнению со всеми ранее рассмотренными методами.
Обесфторивание воды, на алюмомодифицированных материалах показывает, что после обработки солями алюминия песка, керамзита, дробленого клиноптилолита и других фильтрующих загрузок они способны эффективно извлекать из фильтруемой воды фтор — ионы. Максимальной сорбционной емкостью по фтору из рассматриваемых материалов обладает алюмомодифицированный клиноптилолит, который в естественной форме фтор из воды практически не извлекает. Механизм сорбции фтора алюмомодифицированным клиноптилолитом может быть представлен следующим образом. При контакте алюмосодержащего реагента с клиноптилолитом (Кл), который является природным катионообменником, в последнем замещаются обменные катионы Са2+, Mg2+, Na+ на катионы алюминия из раствора — модификатора:
При последующем фильтровании очищаемой воды через алюмо- модифицированный материал начинается реобмен катионов алюминия из клиноптилолита. Алюминий взаимодействует с анионами воды (SO42-, ОН-, F-). Одновременно с гидролизом и образованием основных солей алюминия протекает процесс дефторирования воды. Извлечение фтора осуществляется за счет ионообмена и образования алюмофторидных комплексов, которые адсорбируются клиноптилолитом:
Сорбционная емкость алюмомодифицированных клиноптилолитов составляет 0,5 . 1 мг фтора на 1 г сорбента.
Технологическая схема обесфторивания воды путем ее фильтрования через алюмомодифицированную загрузку клиноптилолита состоит из скорых фильтров, загруженных модифицированным клиноптилолитом. Регенерацию истощенной загрузки осуществляют в два приема. Первоначально производят взрыхление и отмывку сорбента от фторсодержащих осадков, задержанных на поверхности и в порах загрузки. Затем клиноптилолит модифицируют, пропуская через загрузки концентрированный 4 .6 %-ный раствор солей алюминия (например, сернокислого алюминия). Раствор-модификатор циркулирует по замкнутому циклу бак—фильтр—бак. После модификации на фильтры подают исходную воду. Первые порции фильтрата с большим содержанием алюминия и низким значением рН отводят в специальный резервуар для повторного использования.
Гиперфильтрационное обесфторивание природных вод является новым способом в технологии обесфторивания природных вод, основанным на применении полупроницаемых мембран (гиперфильтрация и электродиализ).
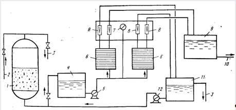
Рис. 16.7. Технологическая схема дефторирования воды обратным осмосом.
1 — фильтр предварительной очистки; 2, 10 — подача исходной и отвод обесфтореиной воды; 4 — бак осветленной воды; 5 — насос высокого Давлении; 6 — гиперфильтрационные аппараты; 8 — ротаметры; 7 — манометр; 9 — бак обеефторенной воды; 11 — бак концентрата; 3 — сброс в Канализацию; 12 — насос
Исследования, проведенные НИИ КВОВ АКХ, показали, что при фильтровании фтор - содержащей воды через полупроницаемые мембраны при давлениях выше осмотических происходит извлечение фтор-ионов из воды. В качестве обесфторивающих гиперфильтрационных установок могут быть использованы аппараты фильтр-прессового, трубчатого и рулонного типов, а также аппараты с полыми волокнами.
Производственная установка (рис. 16.7) состоит из песчаного фильтра предварительной очистки, бака осветленной воды, насосов высокого давления, гиперфильтрационных аппаратов, ротаметров для измерения расхода фильтрата и сбросного раствора. Кроме того, установка оснащена электроконтактными манометрами, которые вместе с клапанами-регуляторами давления обеспечивают автоматизацию ее работы. Расход электроэнергии 3 .4 кВт*ч на 1 м3 обесфторенной воды.
Литература
Алексеев Л. С., Гладков В. А. Улучшение качества мягких вод. М.,
Стройиздат, 1994 г.
Алферова Л. А., Нечаев А. П. Замкнутые системы водного хозяйства промышленных предприятий, комплексов и районов. М., 1984.
Аюкаев Р. И., Мельцер В. 3. Производство и применение фильтрующих
материалов для очистки воды. Л., 1985.
Вейцер Ю. М., Мииц Д. М. Высокомолекулярные флокулянты в процессах очистки воды. М., 1984.
Егоров А. И. Гидравлика напорных трубчатых систем в водопроводных очистных сооружениях. М., 1984.
