Шпинель. Структура шпинели
2)Кристаллическая структура шпинели MgAl2O4.
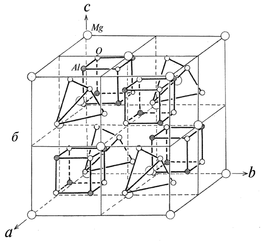
В основе структуры нормальной шпинели MgAl2O4 -
трехслойная плотнейшая упаковка атомов О, на которую
указывают слагающие всю структуру гранецентрированные
кубы. Характер заполнения 1/2 октаэдрических и 1/8
тетраэдрических пустот этой упаковки атомами Al и Mg
соответственно приводит к тому, что элементарная ячейка
структуры минерала оказывается составленной из восьми
малых F-кубов. Длина ребра элементарной ячейки около 0,8 нм. В такой увосьмиренной элементарной ячейке атомы Mg располагаются по "алмазному" закону. Это легко увидеть, если первый атом Mg поместить в ближайшую к
началу координат тетраэдрическую пустоту.
Подобное расположение [MgO4]-тетраэдров задает структуре
шпинели пространственную группу с координатными
клиноплоскостями d, отвергая при этом координатные
зеркальные плоскости пространственной группы ,
описывающей симметрию чистой кубической плотнейшей
упаковки, и сохраняя общие для обеих групп: тип решетки
Браве, диагональные зеркальные плоскости и оси 3-го
порядка, т.е. кубическую симметрию всей структуры.
Переместив начало координат в первый (исходный) атом Mg
(000) и приведя к нему высоты (координаты z) остальных атомов (Mg и O), увидим, что атомы Al располагаются в такой новой большой ячейке в незанятых атомами Mg октантах. Причем четверки из атомов Al
дополняют свободные от атомов Mg кислородные тетраэдры
до кубов. Положения атомов Al подчиняются задаваемым атомами Mg клиноплоскостям d. Таким образом, пространственной группой, описывающей
симметрию структуры шпинели, будет группа , в которой
позиции атомов Mg, находящиеся в тетраэдрическом
окружении атомов О, наследуют симметрию тетраэдра, т.е.
точечную группу , атомы Al оказываются в
центросимметричных позициях , атомы О - в моновариантных
позициях на осях 3-го порядка - 3m:
Mg - 8 (a) : 000,
Al - 16 (d) :
O - 32 (e) 3m :
где х 7/8,
a = 8,11.
Акцентируя внимание при описании структурного типа
Шпинели (АВ2О4) на мотиве заполнения октаэдрических и
тетраэдрических пустот кубической плотнейшей упаковки из
атомов кислорода, т.е. рассматривая ее полиэдрическую
модель, легко обнаружить перпендикулярные осям 3-го
порядка октаэдрические слои (111), заполненные атомами
Al по "шпинелевому" закону (заполнены ¾ октаэдрических пустот) и чередующиеся с антишпинелевыи слоями (заполнена 1/4 октаэдрических пустот), что подтверждает отношение Al : O = 1 : 2 в химической
формуле соединения. При этом одиночные Al-октаэдры
"антишпинелевого" слоя садятся на треугольные
"посадочные площадки", образованные ребрами трех
Al-октаэдров предыдущего шпинелевого слоя.
Тройки же ребер верхней грани одиночных октаэдров
являются также общими с ребрами троек Al-октаэдров, но
уже следующего шпинелевого слоя. Таким образом, два
ближайших шпинелевых слоя оказываются связанными точками
инверсии, совпадающими с центрами одиночных октаэдров
антишпинелевого слоя. Основаниями Mg-ортотетраэдров, расположенных в
антишпинелевых слоях, служат треугольные грани пустых
октаэдров из шпинелевого слоя. Вершины
тетраэдров, противоположные их основаниям, являются
общими для трех Al-октаэдров выше- и нижележащих
шпинелевых слоев. Таким образом, пустой октаэдр
шпинелевого слоя оказывается между антипараллельными
гранями двух Mg-тетраэдров, связанных один с другим
второй системой центров инверсии, расположенных в этих
пустых октаэдрах. Ближайшие друг к другу шпинелевые слои смещены косо
расположенной к ним трансляцией, являющейся ребром
примитивного ромбоэдра - ребром основной ячейки
гранецентрированного куба. Пространственная схема пересечения пустот очень сложна. Пересечение слоёв катионов цепочками октаэдеров происходит в направлениях {110}.Связи в структуре шпинели смешанные, ионно-ковалентные. В проекции
полиэдрической модели структуры шпинели на плоскость
(111), перпендикулярную оси 3-го порядка,
хорошо видны зеркальные плоскости симметрии,
пересекающиеся вдоль этой оси. В итоге обнаруживается
пространственной группы, являющаяся в данном случае подгруппой
кубической пространственной группы.



рис.е.
Кристаллическая структура шпинели MgAl2O4: а -
проекция ху структуры минерала; выделены Mg-тетраэдры; б
- общий вид структуры; в - график пр. гр. Fd3m(O1k) с нанесенными
на него атомами Mg, Al и О; г - шпинелевый октаэдрический слой; д - фрагмент структуры в проекции на плоскость (111); способ сочленения шпинелевого и
антишпинелевого слоев; е - идеализированная постройка из Al-октаэдров в структурном типе шпинели.
Ионы O2- находятся приблизительно в плотнейшей кубической упаковке. Ячейка содержит тетраэдрические пустоты, число которых 64 (узлы А), и октаэдрические пустоты в количестве 32 (узлы В). Восемь узлов А и 16 узлов В занимают катионы, расположенные таким образом, что ряды заполненных ими октаэдров, соединённых между собой рёбрами, вытягиваются вдоль одной диагонали куба, связываясь в цепочки за счёт занятых тетраэдров. В результате образуется один слой (рис. е). Тетраэдры соединяют его с октаэдрами соседнего слоя, который располагается вдоль другой диагонали грани куба. Четыре таких слоя образуют элементарную ячейку. Каждый атом кислорода является общим для двух октаэдров и одного тетраэдра. Катионы представлены двумя типами: А2+ и В3+ . В нормальной шпинели катионы А2+ находятся в узлах А, а В3+ - в узлах. Однако существует обращенная шпинель, у которой 8В3+ располагаются в узлах А, а (8 А2+ + 8 В3+) беспорядочно распределены по углам В. Выбор между этими двумя способами расположения атомов определяется энергией входящих в структуру ионов, стабилизирующей кристаллическое поле решётки. Второй вариант реализуется в тех случаях, когда больший из двух катионов занимает тетраэдрические узлы, нарушая обычное правило. Как в нормальных, так и в обращенных шпинелях остаются незаполненные катионами пустоты обоих сортов. Кроме того, существует ряд шпинелей, промежуточных между нормальными и обращенными.
3). Исследована низкотемпературная (20—400 °C) экзоэмиссия отрицательных зарядов со сложных оксидов, имеющих структуру перовскитов состава X3+ Y2+ О3 ( X3+ = La; Y2+ = Co, Mn, Ni) и структуру шпинели X2+Y23+O42- ( X2+= Cu; Y3+ = Fe, Co, Cr). Найдены корреляции между каталитической активностью в реакциях окисления СО, этилбензола и пропилена и эмиссионной способностью оксидов. Обсуждена роль слабосвязанного кислорода и ионов переменной валентности в процессах экзоэмиссии и окислительного катализа сложными оксидами.
