Как помочь птицам
Что может дать развешивание штучных гнездовий для клинтуха, говорят такие примеры: в Швейцарии благодаря орнитологам стало гнездиться 60 пар голубей (только 3 из них в естественных дуплах), хотя раньше не было вовсе. В Германии на участке леса в 13 га удалось поднять численность клинтуха за 12 лет от 1 пары до 24, заселенность гнездовий в разные годы составляла 70-90%.
Из других больших птиц-дуплогнез дников крайне нуждается в помощи утка-гоголь .
Для гоголей делают домики из досок или дуплянки из полого ствола. Высота гоголятника до 70 см, дно 30х30 см, оптимальный размер летка 10 см. Внутренние стенки гнездовья должны быть нестругаными, шершавыми, чтобы птенцы могли выбраться из него. Развешивают гоголятники в 100-150 м от лесных водоемов. Привлекательны для этих уток протоки между озерами, устья речек и ручьев, впадающих в озера. Хорошие результаты дает развешивание гнездовий около незамерзающих рек и озер.
Такие домики заселяются весной в первую очередь. Возле самой воды гоголятники развешивают на высоте 3-5 м, на расстоянии от берега не менее 10 м. Леток должен быть направлен к воде. Лучше, если гнездовье вообще будет видным от воды. Гоголятники крепко закрепляют на дереве так, чтобы был небольшой наклон вперед. Там, где у берегов нет удобных деревьев, домики можно устраивать и на жердях высотой в несколько метров. Как было установлено наблюдениями в Лапландском заповеднике (Кольский полуостров), небольшие, до 2 мм, щели между досками не влияют ни на заселенность, ни на успешность размножения, наоборот, они способ ствуют быстрому высыханию гнездовой подстилки.
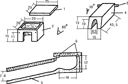
Гнездовой ящик для гоголя (размеры в см).
На дно гнездовья насыпают до 10 см трухи, опилок, стружки. После окончания сезона гнездования гоголятники важно проверить и почистить. Утки в следующем году не заселят гнездовья, в которых остались прошлогодние яйца или мертвые птенцы.
Гнездовья для птиц-норников
Зимородок гнездится в норках по берегам водоемов. Для привлечения его на гнездование устраивают искусственные норки в естественных обрывистых берегах или искусственные обрывы. На берегу речки, озера, вдоль которых растут деревья и кусты, лопатой расчищается вертикальная площадка - размером приблизительно 2х2 м. Дальше птицы могут загнездиться и сами, но лучше сделать несколько норок, пробив палкой отверстие диаметром 6-8 см. Гнездовые норки должны быть укрыты среди кустов и корней.
Форма для изготовления искусственного хода для зимородка (размеры в см).
Там, где нет естественных крутых берегов, можно устроить искусственный. Среди прибрежных кустов около водоема, богатого мелкой рыбешкой и удобными присадами (их также можно устроить искусственно - натыкав в дно жерди), устраивается стенка из досок, укрепленных кольями. За ней насыпается куча земли.
Все это прикрывается травой, ветками. В досках предварительно выпиливают отверстия 6-8 см в диаметре. От них внутрь кучи делают гнездовые ходы до метра в длину. Чтобы земля в них не осыпалась, в норку вставляют картонную трубочку. Она должна немного подниматься в направлении гнездовой камеры, чтобы не стекала дождевая вода. Гнездовую камеру делают из цемента или глины, обжигая ее предварительно для прочности. Внутренний размер камеры 14-18 см. Такие гнездовья очень удобны для наблюдения за гнездовой жизнью этих птиц. Для защиты от дождей над гнездовой камерой желательно приделать какой-нибудь водонепроницаемый материал - кусок пленки, толя и т.п.
А вот другой вариант гнездовья, которое можно закопать наверху естественного обрыва возле воды. Состоит оно из двух основных частей: хода и гнездовой камеры. Ход аркообразной формы делается из цемента или глины. Длина его 40-45 см, диаметр 6-7 см. Лучше всего сделать специальную форму для его изготовле ния, как указано на рисунке, гнездовая камера делается из досок, или также лепится из глины. Гнездовье закапывается в землю на 20-60 см от поверхности. Устанавливают его таким образом, что образованный каркас защищает гнездо сверху и с боков, снизу насыпается не большой слой песка. Чтобы к гнезду не могли прокопаться мыши, хорошо с самого низа под песок пристроить проволочную решетку.
Искусственное гнездовье для зимородка: 1 - крышка, 2 - гнездовая камера, 3 - металлический угольник, 4 - ход в камеру, 5 - почва, 6 - металлические скобы.
Размещение искусственного гнездовья для зимородка: 1 - отверстие для постройки гнездовья; 2 -металлическая сетка (размеры в см).
В норах гнездятся также и некоторые виды уток. Это пеганка, огарь. Для них устраиваются искусствен ные норы на крутом берегу или возвышении возле водоема. Снимается полоска дерна, которая потом используется для маскировки постройки. Лопаткой выкапывается ров длиной 1,5-2 м, шириной и глубиной - 25-40 см. От главного хода делается несколько отверстий, которые заканчиваются гнездовыми камерами размером 30х35 см и в высоту около 30 см. Сверху ров прикрывается досками, кусками шифера, хворостом и т.п., маскируется дерном, травой, ветками. Особенно надежно необходимо защищать гнездовую камеру, чтобы туда не могли проникнуть четвероногие хищники. Вход в нору должен быть размещен немного ниже гнездовой камеры, чтобы в нее не попадала дождевая вода. Для устройства ходов в норах можно использовать куски керамических, бетонных, деревянных труб диаметром около 30 см. Гнездовую камеру для надежности можно сделать в виде ящика из досок. Гнездовья такие устраивают в малопосещаемых человеком участках морского побережья, по берегам лиманов, солоноватых водоемов, на островах.
Учитель из Рязанской области М.Т. Кошелев предложил оригинальный способ устройства гнездовий для каменок. Эти птицы гнездятся в различных нишах, полостях. Норки выкапывались Г-образно загнутым металлическим прутом так, что за небольшим гнездовым ходом образовывалась просторная гнездовая камера.
Гнездовья для водно-болотных птиц
Постройка искусственных гнездовий и меры по защите гнезд открыто гнездящихся птиц важны еще и потому, что много кладок гибнет от хищников и по другим причинам. Например, значительная часть гнезд уток, куликов, крачек разоряется серой вороной, особенно в местах, где часто бывают люди. При нормальных условиях птица никогда не слетает прямо с гнезда, чтобы не выдать место его расположения - проходит или отплывает определенное расстояние в сторону. Ворона же внимательно наблюдает за человеком или скотом и замечает места, откуда вылетают испуганные птицы. Немало гнезд затапливается по берегам водоемов с непостоянным уровнем воды, прежде всего это водохранилища ГЭС, работающие в пиковом режиме. Например, перепады уровня воды в нижнем бьефе Каневской ГЭС достигают иногда 2 м! Искусственные гнездовья позволяют не только привлечь определенных птиц, но и снизить гибель гнезд.
