ГолографияРефераты >> Технология >> Голография
Очевидно, можно предложить еще ряд систем подобного типа, которые будут отличаться друг от друга принципиально только типом модулятора света: акустические модуляторы, модуляторы на жидких кристаллах нематического типа, механические и другие модуляторы.
Весьма перспективными являются системы пространственной временной модуляции света при помощи электронного луча, т. е. системы, в которых используются специальные электроннолучевые трубки (ЭЛТ). Эти системы могут применяться непосредственно в тех случаях, когда скорости развития процесса малы по отношению к скоростям развертки луча и коммутации регистрирующих элементов в СВЧ матрице.
20
При этом перемещение луча по экрану ЭЛТ синхронизируется с переключением элементов в регистрирующей СВЧ матрице, так что определенному положению луча на экране соответствует определенное положение регистрирующего элемента (приемного, передающего или «возмущающего») в СВЧ матрице. Интенсивность электронного луча определяется величиной сигнала, получаемого в системе регистрации СВЧ голограмм, например, с помощью приемников перемножителей и т. д. Этот луч создает на экране, освещенном от когерентного источника света и играющем роль модулятора, потенциальный рельеф, который преобразуется в пропорциональное глубине этого, рельефа изменение коэффициента пропускания или фазовой задержки. Таким образом осуществляется пространственно-временная модуляция когерентного светового потока.
В качестве модулирующих сред в таких системах могут применяться термопластики, кристаллы КДР, АДР, электрооптическая керамика.
В этих системах могут также применяться обычные ЭЛТ (с фосфорным экраном), совмещенные с преобразователями некогерентного светового изображения в фазовый или амплитудный рельеф на модуляторе когерентного света. Такое преобразование может осуществляться при помощи жидких кристаллов и термопластиков с подложкой из фотопроводника и других материалов.
Все рассмотренные варианты систем с визуализацией изображений в реальном масштабе времени требуют для своей реализации источников когерентного света. Однако возможно построение систем с получением изображений в реальном масштабе времени и без использования таких источников. Сущность работы таких систем заключается в том, что принятые СВЧ колебания преобразуются в колебания другой природы, например в ультразвуковые колебания или СВЧ колебания другого диапазона с сохранением амплитудно-фазовых соотношений, затем восстанавливаются соответственно ультразвуковые или СВЧ изображения и визуализируются без применения когерентных источников света.
21
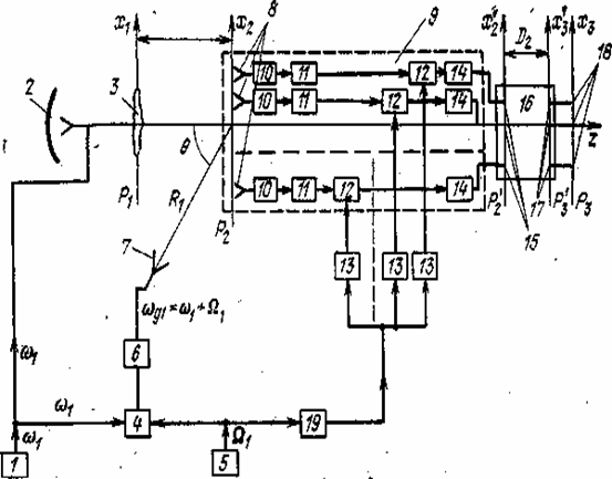
Рисунок 5 – Схема голсграфической регистрации с получением восстановленного изображения в реальном масштабе времени:
1 — генератор СВЧ колебаний частоты w1; 2—передающая антенна;
3 — объект; 4 — смеситель сдвига; 5 — опорный генератор первой промежуточной частоты; 6 — полосовой фильтр с центральной частотой
wg1 =w1+W1; 7 — антенна опорного луча; 8 — приемная СВЧ матрица;
9 — многоканальный приемник; 10, 12 — смесители; 11 — полосовые фильтры; 13 — фазовращатели; 14 — полосовые фильтры с центральной частотой W2;
15, 17 — ультразвуковые преобразователи; 16 — среда, в которой может распространяться ультразвук; 18 — управляемые источники света;
19 — умножитель частоты, предназначенный для образования частоты второго гетеродинирования.
22
По существу, в таких системах когерентный источник света заменяется когерентным источником ультразвуковых или СВЧ колебаний. Сохранение амплитудно-фазовых соотношений достигается за счет свойств квазилинейности (линейности по отношению к комплексной амплитуде) супергетеродинных методов приема. В случае перехода из одного диапазона СВЧ. в другой можно использовать параметрические преобразователи. Рассмотрим такую схему подробнее на примере системы с использованием ультразвуковых преобразователей.
На рисунке 5 приведена структурная схема системы. В этой системе опорная волна создается на частоте гетеродина wg1. Если продетектировать сигналы на выходе 11, получим СВЧ голограмму. Но в устройстве рисунке 5 колебания с выхода 11 попадают на смесители 12, где смешиваются с колебаниями второго гетеродина wg1 который имитирует освещение голограммы при восстановлении. Требуемый фронт восстанавливающей волны создается системой фазовращателей 13. Полученные на выходе 12 сигналы преобразуются в ультразвуковые сигналы и распространяются в среде 16, образуя в некоторой плоскости ультразвуковое изображение исследуемого объекта, которое может быть визуализировано каким-либо из известных методов. Для получения изображения в реальном масштабе времени можно применить, например, систему линейных преобразователей 17 ультразвуковых сигналов в электрические и затем подать их на малоинерционные источники света 18.
23
4 Заключение
Голография — это метод записи волнового фронта, рассеянного объектом на некотором регистраторе (например, на плоской фотопластинке), и последующего восстановления записанного волнового фронта.
Активное развитие голографии началось с 1962—1963 гг. с появлением лазеров, обеспечивающих возможность получения когерентного излучения, необходимого для записи голограмм.
В настоящее время число опубликованных работ по голографии исчисляется сотнями тысяч и непрерывно растет.
Голография стала популярной не только среди узкого круга специалистов в данной области. Возможности голографии высоко оцениваются учеными и инженерами различного профиля и широкой научной общественностью.
Голография открывает новые пути для исследований в различных областях естествознания и совершенствования производственных процессов.
В настоящее время в России и за рубежом быстро увеличивается число голографических разработок и ассигнований на эти работы.
Несомненно, и то что с развитием методов голографии появляются новые области ее применения, появляются принципиально новые технологии базирующиеся на ней (например, выставки алмазного фонда России, где вместо настоящих алмазов выставляются их голограммы; так же во многих странах разрабатывается “головизор” на основе голографии ).
24
5 Список использованных источников
1. Гинзбург В. М. Голография методы и аппаратура.- М.:Сов.Радио, 1974,376 с.
2. Островский Ю. И. Голографическая интерференция.- М.: Наука,
1977,376 с.
3. Сороко Л. М. Основы голографии и когерентной оптики.- М.: Наука, 1971, 616 с.
4. Строук Д. Введение в когерентную оптику и голографию. Пер. с англ.- М.: Мир,1967, 320 с.
5. Гудмен Д. Введение в Фурье – оптику. Пер. с англ.- М.: Мир, 1970, 283с.
6. Борн М., Вольф Э. Основы оптики. Пер. с англ.- М.: Мир, 1970, 367 с.
7. Франсон М. Голография. Пер. с франц.- М.: Мир, 1972, 326 с.
8. Микаэлян А. Л. Голография. – М.: Знание, 1968, 345 с.
9. Островский Ю. И. Голография. – М.: Наука, 1970, 362 с.
10. Кок У. Лазеры в голографии. – М.: Мир, 1971, 287 с.
11. Кольер Р., Беркхарт К., Лин Л. Оптическая голография. Пер с англ. – М.: Мир, 1973, 421 с.
