Доменный процессРефераты >> Технология >> Доменный процесс
eоб=3eлин .
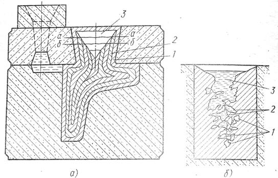
Усадочные раковины – сравнительно крупные полости, расположенные в местах отливки, затвердевающих последними (рис.3,а). Сначала около стенок литейной формы образуется корка 1 твёрдого металла. Вследствие того что усадка расплава при переходе из жидкого состояния в твёрдое превышает усадку корки, уровень металла в не затвердевшей части отливки понижается до уровня а-а. В следующий момент времени на корке 1 нарастает новый твёрдый слой 2, а уровень жидкости опять понижается до уровня б-б. Так продолжается до тех пор, пока незакончится процесс затвердевания. Снижение уровня расплава при затвердевании приводит к образованию сосредоточенной усадочной раковины 3. Сосредоточенные усадочные раковины образуются при изготовлении отливок из чистых металлов, сплавов эвтектического состава (сплав АЛ2) и сплавов с узким интервалом кристаллизации (низкоуглеродистые стали, безоловянные бронзы и др.).
Усадочная пористость – скопление пустот, образовавшихся в отливке в обширной зоне в результате усадки в тех местах отливки, которые затвер –вали последними без доступа к ним расплавленного металла (рис.3,б). Вблизи температуры солидуса кристаллы срастаются друг с другом. Это приводит к разобщению ячеек 2, заключающих в себе остатки жидкой фазы 3. Затвердевание небольшого объёма металла в такой ячейке происходит без доступа к ней питающего расплава из соседних ячеек. В результате усадки в каждой ячейке получается небольшая усадочная раковина 1. Множество таких межзеренных микроусадочных раковин образует пористость, которая располагается по границам зёрен металла.
Получить отливки без усадочных раковин и пористости возможно за счёт непрерывного подвода расплавленного металла в процессе кристалли – зации вплоть до полного затвердевания. С этой целью на отливки устанавливают прибыли – резервуары с расплавленным металлом, которые обеспечивают доступ расплавленного металла к участкам отливки, затвердевающим последними.
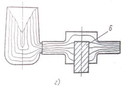
Предупредить образование усадочных раковин и пористости позволяет установка в литейную форму наружных холодильников 5 (рис.4, в) или внутренних холодильников 6 (рис. 4, г).

Наружные холодильники (рис.4,в) устанавливают в форму с внешней стороны массивных частей отливки. Вследствие высокой теплопроводности и большой теплоёмкости холодильника отвод теплоты происходит интенсив– нее , чем от тонкой. Это способствует выравниванию скоростей затвердевания массивной и тонкой частей и устранению усадочных раковин и пористости.
Внутренние холодильники (рис.4, г) устанавливают внутрь полости формы, образующей массивные части отливки. Эти холодильники изготовля- ют из того же сплава, что и отливку. При заполнении формы внутренние холодильники частично расплавляются и свариваются с основным металлом.
Трещины в отливках.
В отливках в результате неравномерного затвердевания тонких и толстых частей и торможения усадки формой при охлаждении возникают внутренние напряжения. Эти напряжения тем выше, чем меньше податливость формы и стержней. Если величина внутренних напряжений превзойдёт предел прочности литейного сплава в данном участке отливки, то в теле её образуются горячие или холодные трещины. Если литейный сплав имеет достаточную прочность и пластичность и способен противостоять действию возникающих напряжений, то искажается геометрическая форма отливки.
Горячие трещины в отливках возникают в процессе кристаллизации и усадке металла при переходе из жидкого состояния в твёрдое при температуре близкой температуре солидуса. Горячие трещины проходят по границам кристаллов и имеют окисленную поверхность. Склонность сплавов к образованию горячих трещин увеличивается при наличии неметаллических включений, газов (водорода, кислорода), серы и других примесей. Кроме того, образование горячих трещин вызывают резкие переходы от тонкой части отливки к толстой, острые углы, выступающие части и т.д. Высокая температура заливки способствует увеличению зерна металлической структуры и увеличению перепада температур в отдельных частях отливки, что повышает вероятность образования трещин.
Для предупреждения возникновения горячих трещин в отливках необходимо создавать условия, способствующие формированию мелкозерни- стой структуры; обеспечивать одновременное охлаждение тонких и толстых частей отливок; увеличивать податливость литейных форм; по возможности снижать температуру заливки сплава и т. д.
Холодные трещины возникают в области упругих деформаций, когда сплав полностью затвердел. Тонкие части отливки охлаждаются и сокращаются быстрее, чем толстые. В результате в отливке образуются напряжения, которые и вызывают появление трещин. Холодные трещины чаще всего образуются в тонкостенных отливках сложной конфигурации и тем больше, чем выше упругие свойства сплава, чем значительнее его усадка при пониженных температурах и чем ниже его теплопроводность. Опасность образования холодных трещин в отливках усиливается наличием в сплаве вредных примесей (например, фосфора в сталях).
Для предупреждения образования в отливках холодных трещин необходимо обеспечивать равномерное охлаждение отливок во всех сечениях путём использования холодильников; применять сплавы для отливок с высо– кой пластичностью; проводить отжиг отливок и т.п.
Коробление – изменение формы и размеров отливки под влиянием внутренних напряжений, возникающих при охлаждении. Коробление увеличивается при усложнении конфигурации отливки и повышении скорости охлаждения, которая вызывает неравномерное охлаждение между отдельными частями отливки и различную усадку. Коробление отливки может быть также вызвано сопротивлением формы усадке отдельных частей отливки.
Для предупреждения короблений в отливках необходимо увеличивать податливость формы; создавать рациональную конструкцию отливки и т.д.
Газовые раковины и пористость в отливках.
В расплавленном состоянии металлы и сплавы способны активно поглощать значительное количество водорода, кислорода, азота и других газов из оксидов и влаги исходных шихтовых материалов при их плавке, сгорании топлива, из окружающей среды, при заливке металла в форму и т.д.
В жидких металлах и сплавах растворимость газов с увеличением температуры повышается. При избыточном содержании газов они выделяются из расплавов в виде газовых пузырей, которые могут всплыть на поверхность или остаться в отливке, образуя газовые раковины, пористость или неметаллические включения, снижающие механические свойства и герметичность отливок. При заливке расплавленного металла движущийся расплав может захватывать воздух в литниковой системе, засасывать его через газопроницаемые стенки литниковой системы. Кроме того, газы могут проникать в металл из формы при испарении влаги, находящейся в формовочной смеси, при химических реакциях на поверхности металл –фор- ма и т.д.
