Автоматизированная система подбора автомобильных запчастей
ПРАКТИЧЕСКАЯ ЧАСТЬ
В своей курсовой работе я показал все вышеперечисленные диаграммы.
На нулевом уровне представлена контекстная диаграмма Automobile Services.
На нулевом уровне представлены две внешних сущности:
ü Clients – пользователь автоматизированной системы
ü Financial Administrator – специалист, подготовленный управляющий системы.
В автоматизированную систему от Financial Administrator поступают данные:
ü List of Clients
ü List of Spares
ü List of Prices
Исходящие данные от АСУ - Financial Administrator:
ü Financial Information
В автоматизированную систему от Clients поступают данные:
ü Network Name & Password
ü Orders
Исходящие данные от АСУ - Clients:
ü Results of Order
ü Copies of Order
Исходящие и входящие данные обрабатываются в АСУ, выдаются результаты запроса и интересующие данные.
Далее процесс дальнейшей обработки информации более детализируется и представлен на следующем уровне.
Контекстная диаграмма, описанная выше, представлена в Автоматизированной Системе подбора запчастей на автомобили следующим образом.
Следующий уровень представлен Детализированной Диаграммой потоков данных и управляющих потоков данных(1 уровень).
На ней я разработал четыре управляющих процесса:
1. Registration & List of Clients – регистрация клиентов в системе и построение списков клиентов
2. Information about Tariff & Spare – обработка поступающей информации о тарифах и наличии запчастей
3. Information about Orders – аккумуляция поступающей информации из управляющих потоков и построение списка заказов
4. Realization Orders – обработка полученной информации из вышеперечисленных управляющих потоков и прослеживание реализации заказов
В первый управляющий поток Registration & List of Clients поступают данные Network Name & Password, происходит их обработка. Результат Client {данные} поступают в потоки «3» и «4»(Information about Tariff & Spare и Information about Orders).
Во второй управляющий поток Information about Tariff & Spare поступают данные List of Prices, List of Spares и List of Clients.
Данные о Тарифах и Наличии запчастей Tariff и Spares аккумулируются в управляющих потоках Information about Orders и Realization Orders.
«3» и «4» управляющие потоки Realization Orders и Information about Orders представляют собой результаты обработанной информации, а также работу с Базами Данных “Data about Prices on Spares” и “Data about Realization Orders”.
Детализированная Диаграмма потоков данных и управляющих потоков данных(1 уровень) описанная выше, представлена в Автоматизированной Системе подбора запчастей на автомобили следующим образом.
На следующем уровне я детализирую Диаграмму потоков данных “Network Name & Password” на три составляющие:
1. Registration – регистрация клиента в системе.
2. Formation List of Clients – формирование списка клиентов.
3. Formation List of Employees – формирование списка служащих.
«2» и «3» Диаграммы потоков данных (Formation List of Clients и Formation List of Employees) взаимодействуют с базами данных “Data about Client’s” и “Data about Employee’s”, а также с управляющими процессами “Client’s Work Control” и “Financial Work’s Control”
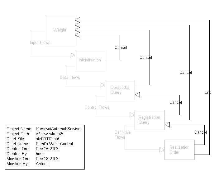
Управляющий процесс Client’s Work Control представляет собой взаимодействие клиентов в автоматизированной системе.
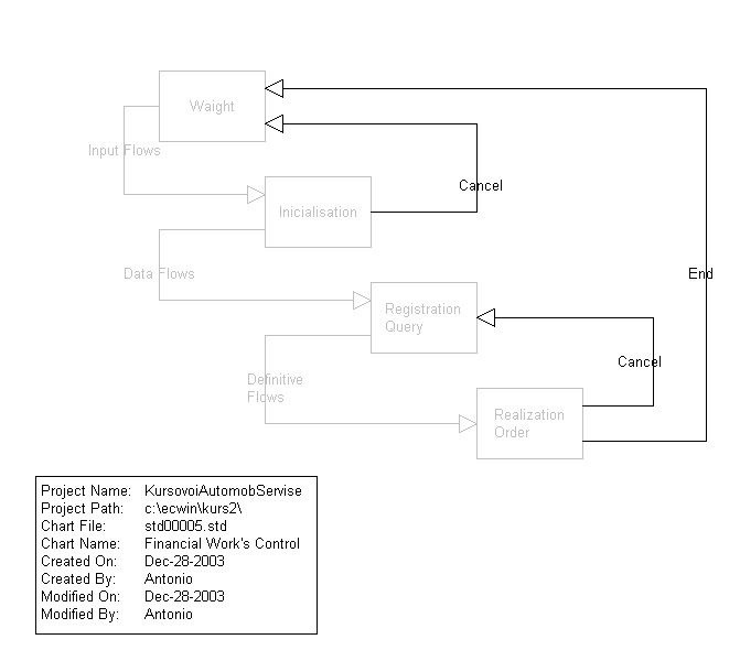
Управляющий процесс Financial Work’s Control представляет собой взаимодействие служащих в автоматизированной системе.
Детализированная Диаграмма потоков данных “Registration & List of Client’s” представлена в Автоматизированной Системе подбора запчастей на автомобили следующим образом.
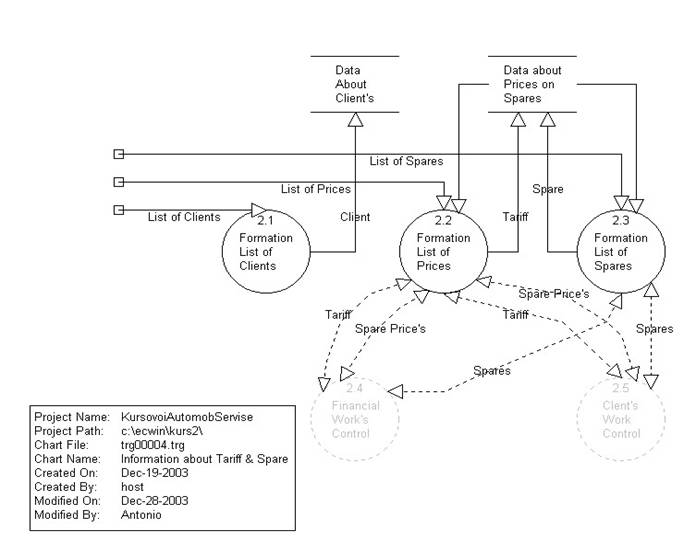
На следующем уровне я детализирую Диаграмму потоков данных “Information about Tariff & Spare ” на три составляющие:
1. Formation List of Clients
2. Formation List of Prices – формирование списка цен.
3. Formation List of Spares – формирование списка запчастей.
«2» и «3» Диаграммы потоков данных (Formation List of Prices и Formation List of Spares) взаимодействуют с базами данных “Data about Client’s” и “Data about Prices on Spares”, а также с управляющими процессами “Client’s Work Control” и “Financial Work’s Control”
Детализированная Диаграмма потоков данных “Information about Tariff & Spare” представлена в Автоматизированной Системе подбора запчастей на автомобили следующим образом.
Управляющий процесс Client’s Work Control представляет собой взаимодействие клиентов в автоматизированной системе и представляет собой Диаграмму перехода Состояний.
Управляющий процесс Financial Work’s Control представляет собой взаимодействие служащих в автоматизированной системе и представляет собой Диаграмму перехода Состояний.
СЛОВАРЬ ТЕРМИНОВ
1. АСУ – автоматизированная система управления.
2. Results of Order – результат заказа, полученный после обработки информации.
3. Clients – пользователь автоматизированной системы
4. Financial Administrator – специалист, подготовленный управляющий системы.
5. Registration & List of Clients – регистрация клиентов в системе и построение списков клиентов.
6. Information about Tariff & Spare – обработка поступающей информации о тарифах и наличии запчастей.
7. Information about Orders – аккумуляция поступающей информации из управляющих потоков и построение списка заказов.
8. Realization Orders – обработка полученной информации из вышеперечисленных управляющих потоков и прослеживание реализации заказов.
9. Registration – регистрация клиента в системе.
10. Formation List of Clients – формирование списка клиентов.
11. Formation List of Employees – формирование списка служащих.
12. Formation List of Prices – формирование списка цен.
13. Formation List of Spares – формирование списка запчастей.
14. Tariff – список тарифов на услуги.
15. Spare – список запчастей, находящихся в наличии.
16. Clients – список клиентов, зарегистрированных в системе.
17. Order – список сформированных заказов.
18. Weight – система находится в состоянии «ожидание».
19. Initialization – система находится в состоянии «инициализация пользователя».
20. Registration Query – система находится в состоянии «оформление запроса».
21. Realization Orders – система находится а состоянии «реализация заказа».
22. Cancel – система находится а состоянии «Отмена действия».
23. End – система находится а состоянии «окончание реализации заказа».
