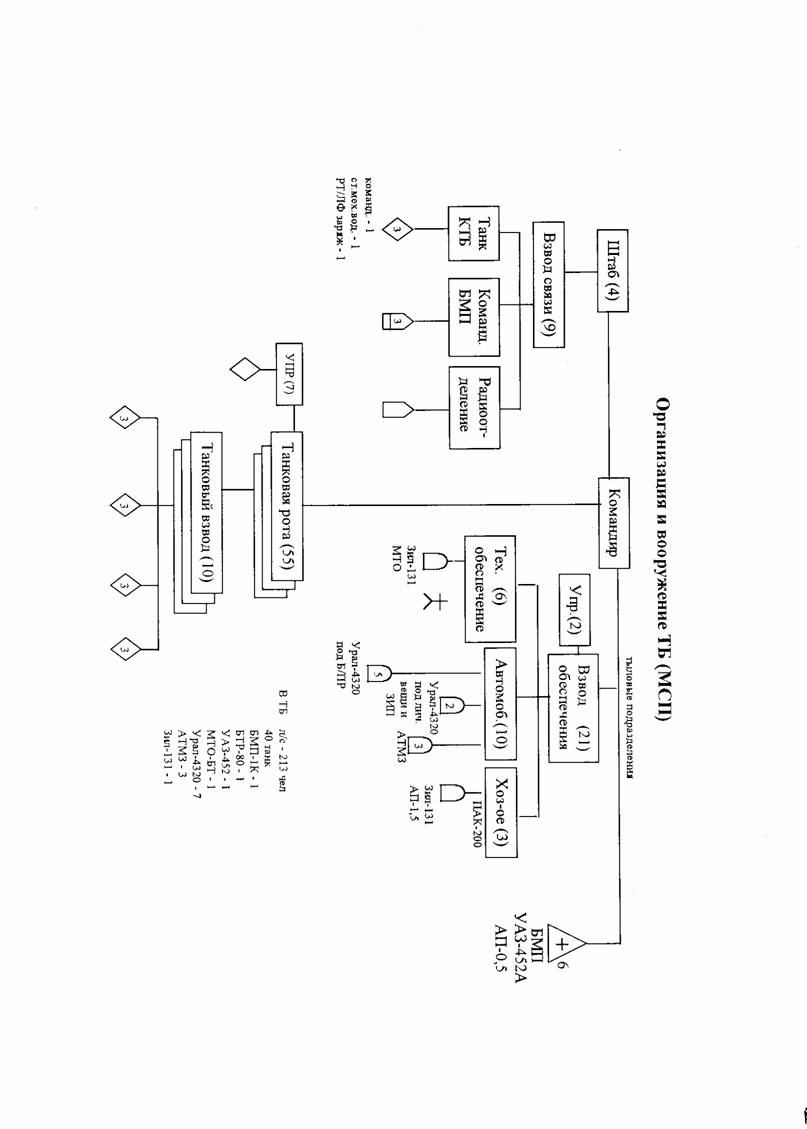
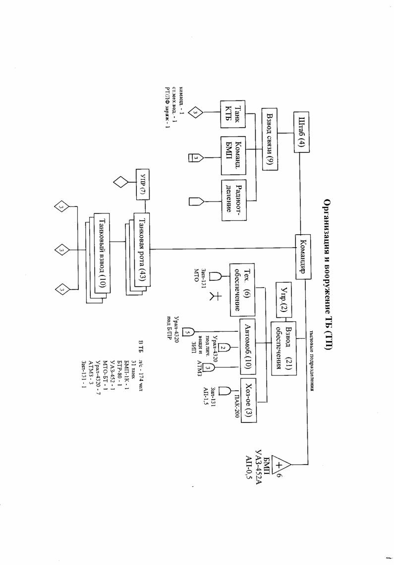
Мотострелковый танковый батальон и артиллерийский дивизионРефераты >> Военная кафедра >> Мотострелковый танковый батальон и артиллерийский дивизион
![]() |
|
Показатели |
Т-64 |
Т-72АК |
Т-80 |
|
Масса, т. | 38 | 41 | 42 |
|
Экипаж, чел. | 3 | 3 | 3 |
|
Вооружение: |
|
|
|
|
• 125мм гладкоствольная пушка Д-81 "Рапира" | 1 | 1 | 1 |
|
• 7, б2мм пулемет ПКТ | 1 | 1 | 1 |
|
• 12,7мм пулемет НСВТ "Утес" | 1 | 1 | 1 |
|
Прицельная дальность |
|
|
|
|
стрельбы, м.: |
|
|
|
|
• 125мм пушки | 4000 | 4000 | 4000 |
|
• 7,62мм пулемета ПКТ | 1800 | 1800 | 1800 |
|
• 12,7мм зенитного пулемета НСВТ |
|
|
|
|
• по наземным целям | 2000 | 2000 | 2000 |
|
• по воздушным целям | 1500 | 1500 | 1500 |
|
Дальность прямого |
|
|
|
|
выстрела, м. (Нц=2 м.) |
|
|
|
|
• 125мм пушки | 2100 | 2100 | 2100 |
|
• 12,7мм пулемета НСВТ | 850 | 850 | 850 |
|
• 7,62мм пулемета ПКТ | 400 | 400 | 400 |
|
Скорострельность, выс/мин: |
|
|
|
|
• 125мм пушки | 10 | 8 | 8 |
|
• 7,62мм пулемета ПКТ | 250 | 250 | 250 |
|
• 12,7мм пулемета НСВТ | 80 -100 | 80 - 100 | 80 -100 |
|
Начальная скорость снаряда |
|
|
|
|
(пули), м/сек: |
|
|
|
|
• 125мм пушки | 1800 | 1800 | 1800 |
|
• 12,7мм пулемета НСВТ | 845 | 845 | 845 |
|
Мощность двигателя, л.с. | 700 | 780 | 1000 |
| многотопливный, дизельный | дизельный | газотурбинный | |
|
Скорость, км/час | 61 | 60 | более 70 |
|
Запас хода по шоссе, км | 500 | 500 | 450 |
|
Броня | противоснарядная с защитными экранами противокумулятивного действия | многослойная, противоснарядная, с контейнерами динамической защиты | |

