Методичка по статической балансировкеРефераты >> Строительство >> Методичка по статической балансировке
6. Расскажите устройство и действие балансировочного приспособления с линейными опорами.
7. Какие факторы ограничивают точность балансировки роторов на приспособлении с линейными опорами?
8. Сколько этапов включает операция статической балансировки? Расскажите содержание и порядок выполнения отдельных этапов статической балансировки.
СПИСОК РЕКОМЕНДУЕМОЙ ЛИТЕРАТУРЫ
1. Левит М.Е., Рыженков В.М. Балансировка деталей и узлов - М.: Машиностроение. 1986 - 248 с.
2. Ермаков В.И., Шеин В.С. Ремонт и монтаж химического оборудования; Учебн. пособие для вузов. - Л.: Химия. 1981 - 363 с.
3. ГОСТ 19534 - 74 балансировка вращающихся тел. Термины. - М.: Изд-во стандартов, 1975 - 45 с.
4. Яковлев В.И., Справочник слесаря-монтажника - 4-е изд., перераб. и доп. - М.: Машиностроение, 1983 - 454 с.
Таблица 1
ПЕРЕЧЕНЬ
приборов, инструментов, материалов, используемых при выполнении операции статической балансировки ротора
| Наименование, тип, марка прибора, инструмента или материала | Характеристики прибора, инструмента или материала | Наименование прибора, инструмента или материала |
| 1 | 2 | 3 |
| Приборы | ||
| 1. Весы технические лабораторные ВЛТ-1 | Диапазон измерения 0,005-1,0 кг. Относительная погрешность измерения ±5% | Для измерения веса уравновешивающих, пробных и корректирующих грузов |
| 2. Набор гирь Г-3-1110 | Комплект разновесов от 10мг. до 5кг. | То же |
| Мерительные инструменты | ||
| 3. Штангенциркуль НЩ-П ГОСТ 166-80 | Диапазон измерений 0-315 мм Ценна деления 0,1 мм | Для измерения геометрических размеров ротора и линейных координат ц.т. грузов |
| 4. Линейка измерительная металлическая ГОСТ 427-75 | Длина – 500 мм. Ценна деления 1 мм. Допустимая погрешность ±0,15 мм | То же |
| 5. Уровень брусковый ГОСТ 9392-75 | Цена деления – 15’=4,4 мм/м | Для измерения горизонтальности ножей |
| 6. Угломер УМ ГОСТ 5378-66 | Цена деления – 15’. Диапазон измеряемых углов 0-1800 | Для измерения угловых координат ц.т. грузов |
| Инструменты слесарные | ||
| 7. Ключи гаечные двухсторонние с открытым зевом ГОСТ 2839-80 Е | Размер зева: 12 мм – 1 шт., 17 мм – 2 шт., 19 мм – 1 шт. | Назначения ключей: для регулировки винтовых опор, для регулировки горизонтальности ножей и затяжки болтов крепления уголка к перекладине, для затяжки болтов крепления ножей к уголку |
| 8. Пластилин | Количество – 0,5 кг | Для использования в качестве уравновешивающих и пробных грузов |
| 9. Рейка металлическая | Длина – 0,65 м, сечение – 22мм x 22мм, отклонение от прямоугольности не более 0,1 мм | Для контроля горизонтальности ножей |
Рис. 1. Статическая неуравновешенность ротора
0 – 0’ – ось вращения ротора
i – i – главная ось инерции ротора
е – смещение центра массы ротора относительно оси вращения
Рис. 2. Устройство для статической балансировки роторов на линейных опорах
1 – основание; 2 – стойка; 3 – линейная опора; нож (1-а); призма (1-б); скалка (1-в)
Рис. 3. Определение направления смещения центра тяжести
Рис. 4. Определение скрытой неуравновешенности ротора
m – масса пробного груза; i – обозначение положения ротора; а – разбивка ротора на сектора; б – диаграмма разбалансировки ротора
Рис. 5. Расчётная схема уравновешивания ротора
Рис. 6. Эскиз выполнения балансировочного отверстия
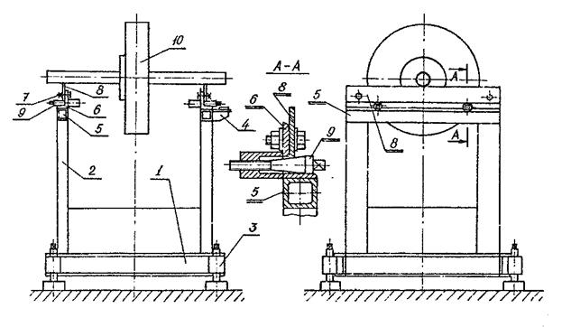
Рис. 7. Схема лабораторного стенда для статической балансировки роторов
1 – основание; 2 – стойка; 3 – винтовая опора; 4 – пузырьковый уровень; 5 – перекладина; 6 – планка; 7 – болты крепления; 8 – ножи; 9 – винты регулировочные; 10 – ротор
Составитель
Вячеслав Алексеевич Плотников
Статическая балансировка
вращающихся частей машинЫ
Методическое указание к лабораторной работе по курсу “Эксплуатация и ремонт оборудования химических производств ” для студентов специальности 1705 “Машины и аппараты химических производств и предприятий строительной индустрии”
Редактор ZoRgi
