Модернизация гидропривода экскаватора 4 рамерной группы
Введение
Курсовое проектирование для машиностроительных специальностей, вузов, является важным этапом процесса формирования знаний инженера-машиностроителя. Курсовой проект, кроме того, представляет собой подготовительную работу для дипломного проекта.
Курсовое проектирование закрепляет, углубляет и обобщает знания, полученные во время лекционных или практических занятий, учит пользоваться справочной литературой, ГОСТами, таблицами, номограммами, нормами, умело сочетая справочные данные с теоретическими знаниями, полученными в процессе изучения курса.
В настоящее время существует много проблем связанных с усовершенствованием гидропривода землеройных машин. Одной из них является удаление растворенного в рабочей жидкости воздуха. В рабочей жидкости может содержаться от 10 до 20% воздуха. Это приводит к тому что во первых увеличивается ковитационный износ, а во вторых снижается производительность, за счет увеличения времени срабатывания гидроцилиндров. Целью данного курсового проекта является разработка конструкции гидробака с механизмом удаления воздуха из жидкости.
1. Анализ найденных патентных решений
В результате патентного поиска было найдено несколько авторских свидетельств связаны с решением этой проблемы. Рассмотрим недостатки данных изобретений (найденные авторские свидетельства представлены в приложении).
Основным недостатком всех большинства найденных решений является то, что конструкции представленных изобретений являются сложными и трудоемкими в изготовлении. Кроме этого имеются другие недостатки которые рассмотрим в отдельности ля каждого авторского свидетельства.
1. А.С. №1435266 и №1780803. Эти две конструкции схожи по конструкции. Кроме выше сказанного они имеют и имеют большие габариты связанные с установкой устройства для дегазации жидкости;
2. А.С. № 1692944. Устройство имеет простую конструкцию но в нем не предусмотрена система регуляции разряжения в верхней полости бака.
3. А. С. № 1719015. Кроме того, что устройство по конструкции является довольно сложным, эту идею нельзя применить для стандартного бака, т. е. необходимо спроектировать совершенно новую конструкцию бака, и наладить производство данного изделия.
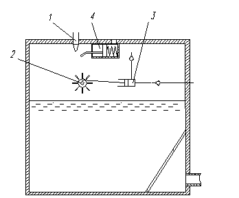
Техническое предложение представлено на рисунке 1.1. Данная конструкция имеет ряд преимуществ перед теми изобретениями, которые были проанализированы выше. Это простота конструкции, возможность применения в стандартном баке. Наиболее близкой по конструкции является схема представленная в авторском свидетельстве №1692944. Отличие состоит в том, что в техническом предложении имеемся устройство для регуляции разряжения в верхней части бака.
Принцип работы состоит в следующем. Жидкость двигаясь по сливному трубопроводу через штуцер 1 попадает на лопатки турбины 2, приводя её во вращение. Вращаясь, турбина приводит в движение поршень цилиндра 3, таким образом в верхней части бака создается разряжение способствующее
![]() |
Рисунок 1.1 Техническое предложение
Затем когда разряжение начнет переходить за пределы допустимого начнет двигаться поршень цилиндра 4, перенаправляя тем самым поток жидкости. Турбина перестает вращаться и откачка воздуха прекращается.
2. Основные расчеты экскаватора ЭО – 4121
2.1 Тяговый расчет
Движение по горизонтали
Необходимое для движения по горизонтали тяговое усилие Sт на одной гусеничной ленте:
2Sт = Wвн + Wи + Wк + Wв,
где Wвн – внутреннее сопротивление ходовых механизмов;
Wи – сопротивление сил инерции при трогании с места;
Wк – сопротивление грунта при перемещении экскаватора;
Wв – сопротивление ветра.
Внутреннее сопротивление ходовых механизмов:
Wвн = α·(W1+ W2+ W3+ W4+ W5+ W6+ W7),
где α – коэффициент, учитывающий добавочное сопротивление от внешних сил, α = 1, 2;
W1 – сопротивление в подшипниках опорных катков;
W2 – сопротивление в подшипниках ведущих колес;
W3 – сопротивление в подшипниках направляющих колес;
W4 – сопротивление качению опорных катков по гусеничным лентам;
W5 – сопротивление изгибанию гусеничных цепе на ведущих колесах;
W6 – сопротивление изгибанию гусеничных цепей на направляющих колесах;
W7 – сопротивление движению гусеничных цепей по поддерживающим каткам.
Сопротивления W2, W3, W5 и W6 находятся в функциональной зависимости от Sт. если коэффициенты этой зависимости обозначить через р, l, m и n, то
Wвн = α(W1 + p·Sт + l· Sт + W4 + m·Sт + n· Sт +W7).
Если теперь в формулу для определения Sт подставить значения Wвн и преобразовать её то она прими вид:
.
Сопротивление в подшипниках опорных катков:
,
где Gэ = 205800 Н – вес экскаватора ЭО-4121 с оборудованием обратная лопата с ковшом вместимостью 1,25 м3; qзв – вес гусеничных звеньев, лежащих на земле; fпк – приведенный коэффициент трения качения; d1 = 0.08 м – диаметр цапфы катка; D1 = 0,24 м – диаметр опорного катка.
Вес гусеничных звеньев:
Н,
где
= 472 Н – вес одного гусеничного звена; L = 3 м – длина гусеничной ленты, лежащей на земле; t = 0.203 м – шаг гусеничного звена.
Приведенный коэффициент трения качения:
,
где К = 0,01 см – коэффициент трения качения; dц = 0,06 м – диаметр цапфы катка; D = 0.106 м – наружный диаметр внутреннего кольца подшипника; δ – диаметр тела качения подшипника, для подшипника 3616 δ=0,016 м.
Сопротивление в подшипниках опорных катков:
= 210 Н.
Сопротивление в подшипниках ведущих колес:
,
где RA, RB – реакции в подшипниках вала ведущего колеса; dцA, dцВ – диаметр цапф вала ведущего колеса; fпкА, fпкВ – приведенные коэффициенты трения качения в цапфах вала ведущего колеса; D2 = 0.743 м условный диаметр ведущего колеса.
В соответствии с рисунком 2.1
;
,
где α = 24˚23΄ - угол зацепления зубчатых колес; Dk = 0.462 м; D2 = 0.743 м.

