Организация технического обслуживания и ремонта автотранспорта
Причиной изменения технического состояния узла является износ. Но, пожалуй, определяют непосредственно по износу только техническое состояние шин, коробки передач, заднего моста, рулевого управления - по изменению высоты протектора, по зазорам в зубчатых передачах, в шарнирах и других сопряжениях. Величину неисправности узлов, агрегатов оценивают по изменению эксплуатационных показателей: расходу масла, прорыву газов в картер двигателя, шумам, температуре нагрева и др. [1, c.60]
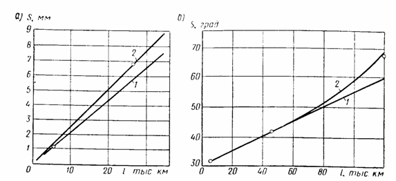
Рис. 2.1. Изменение технического состояния узлов в процессе эксплуатации
автомобиля:
а — износ S протектора шипы автомобиля ГАЗ-24 в зависимости от пробега l по результатам
двух измерении: 1 — первого; 2 — второго;
б — изменение зазора (люфта) S в редукторе автомобиля ЗИЛ-130 в зависимости от пробега l:
1 — линейная зависимость; 2 — экспоненциальная зависимость.
Приведенный графический способ прогнозирования является простейшим, его вполне можно применять при линейной закономерности износа или изменения другого критерия технического состояния узла в зависимости от пробега автомобиля. Аналогично можно прогнозировать износ тормозных накладок.
Износ остальных сопряжений деталей, изменение большинства эксплуатационных показателей имеет более сложную закономерность.
Прогнозировать техническое состояние некоторых агрегатов, узлов и сопряжений можно только по эксплуатационным показателям, так как измерить зазоры, люфты без разборки узла невозможно. Так, техническое состояние сопряжения кольцо - канавка поршня двигателя внутреннего сгорания можно оценить по расходу масла на угар, сопряжения кольцо - гильза — по утечке газа в картер, подшипников коленчатого вала и всей совокупности сопряжений двигателя внутреннего сгорания, смазка которых производится под давлением, по изменению давления в системе смазки.
Удельные затраты на приобретение Са зависят от стоимости агрегата Са и его пробега l после установки
![]() |
Удельные затраты на поддержание работоспособности Спр зависят от стоимости СД заменяемых детален, узлов, величины заработной платы Сз рабочим за установку, убытка Сп от простоя автомобиля и пробега l с начала эксплуатации
При расчете удельных затрат на поддержание работоспособности при пробеге l автомобиля с начала эксплуатации суммируют стоимость всех замененных за это время деталей, зарплату рабочих за установку всех этих деталей и убытки от простоя автомобиля при замене отказавших деталей или узлов.
По удельным затратам определяют экономически обоснованный пробег автомобиля до замены дорогостоящей детали, узла, агрегата и постановки автомобиля в капитальный ремонт. [1, c. 81-86]
3. Планово-предупредительная система технического обслуживания и ремонта подвижного состава
Для поддержания подвижного состава автомобильного транспорта в технически исправном состоянии, необходимом для нормальной эксплуатации, принята планово-предупредительная система технического обслуживания и ремонта.
Технически исправное состояние подвижного состава достигается путем технического обслуживания и ремонта.
Техническое обслуживание проводится принудительно в плановом порядке через определенные пробеги или время простоя подвижного состава.
Ремонт предназначен для восстановления и поддержания работоспособности подвижного состава, устранения отказов и неисправностей, возникших при работе или выявленных в процессе технического обслуживания. Ремонтные работы выполняются как по потребности (после появления соответствующего отказа или неисправности), так и по плану через определенный пробег или время работы подвижного состава - предупредительный ремонт.
Техническое обслуживание и ремонт подвижного состава производят с предварительным контролем или без него. Основным методом проведения контрольных работ является диагностика, которая служит для определения технического состояния автомобиля и агрегатов без разборки.
Цель диагностики при техническом обслуживании заключается в определении действительной потребности в производстве работ, выполняемых при каждом обслуживании, и прогнозировании момента возникновения отказа или неисправности.
Цель диагностики при ремонте заключается в выявлении причин отказа или неисправности и установлении наиболее эффективного способа их устранения.
3.1. Виды технического обслуживания и ремонта
Техническое обслуживание подвижного состава по периодичности, перечню и трудоемкости выполняемых работ подразделяется на:
Ø ежедневное техническое обслуживание (ЕО);
Ø первое техническое обслуживание (ТО-1);
Ø второе техническое обслуживание (ТО-2);
Ø сезонное техническое обслуживание (СО).
Производство технического обслуживания и ремонта подвижного состава в автотранспортных предприятиях осуществляется по схеме, приведенной на /рис. 3.1/.
Ежедневное обслуживание (ЕО) включает в себя: проверку прибывающего с линии и выпускаемого на линию подвижного состава, внешний уход за ним и заправочные операции. Для проверки подвижного состава в автотранспортном предприятии создается контрольно-технический пункт (КТП) с осмотровой канавой и комплектом необходимых, инструментов, приспособлений и оборудования. Проверка подвижного состава входит в обязанности водителя и работников отдела технического контроля (ОТ К).
Рис. 3.1. Схема обслуживания и ремонта подвижного состава АТП
При проверке подвижного состава, прибывающего с линии, устанавливаются: время прибытия, показания счетчика пройденного расстояния и остаток топлива в баке автомобиля; комплектность подвижного состава; наличие неисправностей, поломок, повреждений; потребность в текущем ремонте.
В случае необходимости составляется заявка на текущий ремонт с перечнем неисправностей, подлежащих устранению, и акт о повреждении подвижного состава с указанием характера, причин поломки и лиц, ответственных за нее.

