Организация технологического процесса на сборку прерывателя-распределителя ЗиЛ-130
2.3 Выбор и обоснование способа сборки.
Учитывая значительную производственную программу 20000 двигателей в год и малой трудоёмкости рационально проводить сборку на универсальном посту. В условиях такой организации работы на посту выполняется ремонт одного узла или совокупность заранее определенных технологических операций. Применение специализированных постов позволяет повышать производительность труда, снизить требования к уровню квалификации рабочих и уменьшить за счёт этого стоимость ремонта. Так как при сборке агрегата используются регулировочные работы, по установке зазора в контактах прерывателя, сборка производится методом регулирования.
2.6 Выбор оборудования, приспособлений и инструмента.
Таблица 3
Оборудование
| Наименование | Модель, тип | Габариты |
| Прибор для проверки прерывателей-распределителей Прибор для проверки конденсаторов Верстачный пресс, реечный, усилие до 1т. Диагностический стенд |
Э 213
РК-3
KR-8005А |
260 × 150
320 × 220
800 × 600
270 × 600 |
Таблица 4
Приспособления
| Наименование | Модель, тип | Габариты | Площадь, м2 |
| Верстак электромонтажный Верстак слесарный Стеллаж для деталей Тумбочка для инструмента Ванна для мойки деталей Ларь для обтирочных материалов | КО-389А
101910200 ИП-58
КО-379
2031
2249 | 1800 × 700
1200 × 500 2600 × 600
830 × 560
648 × 520
600 × 280 | 1,26
0,6 1,56
0,46
0,34
0,16 |
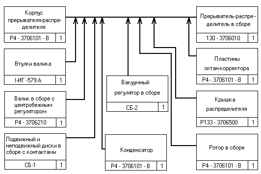
2.4. Схема технологического процесса сборки прерывателя-распределителя
ЗИЛ-130.
Порядок сборки прерывателя-распределителя ЗИЛ-130
Запрессовать бронзовые втулки(3) в корпус прерывателя-распределителя(4). Вставить в корпус валик(1) в сборе с центробежным регулятором(5), и закрепить вал с муфтой (2) при помощи штифта(9). Установить в корпус прерывателя-распределителя подвижный и неподвижный диски в сборе с подшипником. Прикрутить к корпусу конденсатор, подсоединив провод. Подсоединить провод массы. Закрепить винты крепления дисков. Вставить в корпус винт-клемму с наружным изолятором, вставить внутренний изолятор и закрутить гайку.
Установить вакуумный регулятор, установить тягу к оси подвижного диска, подсоединить один конец провода массы и завинтить винты крепления оси. Закрутить винты вакуумного регулятора.
Установить ротор(6), соединив установочные пазы на валике и роторе. Установить крышку распределителя(7), застегнув двумя пружинными защёлками(10). Установить пластины октан-корректора(8) с регулировочными гайками, затянув их к корпусу болтом.
3. Расчётная часть
3.1 Расчёт норм трудоёмкости
Годовая производственная программа предприятия рассчитывается по следующей формуле [1, с.70, ф.(4.1)]
Тг = t * N (3.1)
где Тг - годовой объём работ, чел.-ч
t – трудоёмкость ремонта, чел.-ч t = 4,72 [5, с.317, приложение.]
N – годовая производственная программа, шт
Вычислим производственную программу в приведённых единицах по следующей формуле [1, с.282, ф. (36.1)]
Nпр = N * ηпр (3.2)
где Nпр – приведенная производственная программа, шт
N – годовая производственная программа
ηпр – коэффициент приведения, характеризующий конструктивно-технологические особенности объектов ремонта, ηпр = 1,13 [3, с.281, т.(36.1)]
Nпр = 20000*1.13 = 22600
3.2 Расчёт годового объёма работ
Тг = Nпр* tм* Км * Ка (3.3)
где tм – трудоёмкость по видам работ, чел.-ч, tм = 4,72 [3, с.317, приложение]
Км – коэффициент механизации, Км = 0,70 [2, с.26, ф.(5)]
Ка – Коэффициент автоматизации, Ка = 0,9 [3, с.403]
Тг = 22600*4,72*0,70*0,9 = 67203 чел.-ч (3.4)
Рассчитаем годовую трудоёмкость по видам работ по следующему выражению
Твр = Тг * tк (3.5)
где tк –комплектование, слесарно-подгоночные работы и селективный подбор
tк = 8,40% [3, с.317, приложение]
Твр = 67203*8,40 = 5645 чел.-ч
Определим трудоёмкость на сборку одного прерывателя-распределителя по следующей формуле
Твр = Твр/Nпр (3.6)
где Твр – годовая трудоёмкость по видам работ
Nпр – годовая программа предприятия.
Твр = 5645/22600 = 0,24 чел.-ч.
Рассчитываем действительный и номинальный фонды рабочего времени по следующим выражениям [4, с.479]
Рассчитаем номинальный рабочий фонд
Фн = [365-(104+dn)*tсм – tc*nп] (3.7)
где dn – количество праздничных дней в году
tсм – продолжительность рабочей смены
tc – количество предпраздничных дней
nп – количество праздников в году
Фн = [365-(104+11)*8 – 1*11] = 1989 чел.-ч.
Рассчитаем действительный рабочий фонд
Фд = {[365-(104+ dn+dо)*tсм – tc*nп]}* ηр (3.8)
где dо – число рабочих дней отпуска. При нормальных условиях труда принимаю
dо = 40 дней.
ηр – коэффициент потерь рабочего времени. ηр = 0,97
Фд = {[365-(104+11+40)*8 – 1*11]}* 0,97 = 1618 чел. -ч.
3.3 Определение количества явочных и списочных рабочих.
Списочный состав рабочих определяется по формуле [3, с.286, ф.(36.11)]
