АвтоматикаРефераты >> Радиоэлектроника >> Автоматика
Задание 1.
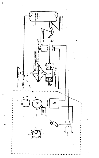
Составить схему системы автоматического регулирования для выбранного объекта и дать описание ее работы.
При составлении схемы пользоваться данными табл. 1 и приложениями 1-3. в которых приведены схематические виды каждого устройства, входящего в регулятор: измерительного преобразователя, усилителя, исполнительного устройства.
Таблица 1.
|
Вариант |
Датчик (преобразователь ) |
Усилитель |
Исполнительный механизм |
Регулируемый параметр |
|
5 |
Манометрический |
Пневматический соплозаслонка |
Пневматический, мембранный |
Клапан |
Датчик Манометрический:
Состоит из трубчатой пружины, который имеет резьбу и вкручивается в любой прибор. При возрастании
температуры трубка разгибается из-за роста давления газа внутри трубы.
|
|
Усилитель и Используемый механизм.
Соплозаслон состоит из дросселя постоянного сечения куда подается давление сжатого воздуха из компрессора Р d 0,2-0,3 мм.
Соплозаслонка, дроссель переменного сечения, междроссельная камера и на выходе поршневой исполнительныймеханизм. Простота конструкции, большие коэффициенты усиления.
|
|
Принцип действия САР:
При возрастании температуры изменяется давление Р0 в замкнутой системе датчика, возникает перемещение Y1 , закрывается входное сопло усилителя.
Давление сжатого воздуха направляется на поверхность мембраны исполнительного механизма. В результате она прогибается и уменьшает проходное сечение регулирующего клапана уменьшая тем самым подачу теплоносителя в систему автоматизации.
Задание 2.
![]()
![]()
Передаточная функция разомкнутой цепи:
Передаточная функция замкнутой цепи:
.
Контрольная работа №2
Задание 1.
Для проектирования системы автоматического регулирования известна передаточная функция замкнутой системы, которая:
при этом известны значения параметров системы
К = 50 с
Т1 = 0,4 с
Т2 = 0,1 с
К – коэффициент усиления системы
Т – постоянная времени элементов составляющих САР
Определить устойчивость САР двумя методами по критериям Рауса – Гурбица и по критерию Михайлова.
Приравниваем к нулю:
a1 + a2 + a3 + a0 = 0
по критерию Рауса-Гурбица система устойчива если:
a3 a2 > a0 a1
1*0,5 > 2
следовательно САР не устойчива.
Определить устойчивость этой системы по критерию Михайлова.
Критерий устойчивости Михайлова предназначен для оценки устойчивости системы по его характеристическому уравнению. Устойчивая система содержит только левые корни, т.е. т=0. И тогда, угол поворота характеристического частотного вектора при изменении w от 0 до +¥ составит j (w )=(n-2m)p /2, т.е. для устойчивости системы характеристический частотный вектор должен пройти последовательно (поочередно) в положительном направлении (против часовой стрелки) п квадрантов. Вектор начинает движение при w =0 с положительной вещественной оси.
Порядок расчета устойчивости по критерию Михайлова:
1. Записывается характеристическое уравнение замкнутой системы:
2. Производится замена р = jw и выделяются вещественная Р(w ) и мнимая Q(w ) слагаемые.
3. В осях координат P(w ),jQ(w ) при изменении w от 0 до +¥ строят характеристический частотный вектор (годограф Михайлова).
Годографы Михайлова для систем:
а - устойчивых , б - неустойчивых
4. По виду годографа Михайлова судят об устойчивости системы. Устойчивые годографы проходят поочередно п квадрантов. На границе устойчивости системы годограф проходит через начало координат.
р = jw
мнимая jV (w) вещественная U(w)
jV (w) + U(w)= w(jw )
представили многочлены в виде мнимой и вещественной частей
| w | U(w) | JV(w) |
| 0 | 50 | 0 |
| 12.9 | 0 | -72.9 |
| 20 | -70 | -300 |
| ¥ | -¥ | -¥ |
Для уравнения 3 порядка система не устойчива.
