Алмазные пленкиРефераты >> Радиоэлектроника >> Алмазные пленки
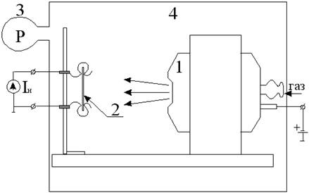
Основные достоинства рассматриваемого метода - высокая точность и возможность измерения весьма малых токов. К недостаткам цилиндра Фарадея относятся большие размеры и невозможность получить информацию о токе пучка, не нарушив его. Принципиальная схема цилиндра Фарадея показана на рис.2.
|
|
| Рис.2 Зонд для измерения плотности тока. |
Описание установки.
Схема используемой установки для напыления пленок показана на рис.3. В рабочий откачиваемый объем помещен источник ионов (1), формирующий поток ионизированного газа. Перед соплом источника крепится подложка (2) - пластина монокристалла кремния, нагреваемая пропусканием постоянного тока.
|
|
| Рис.3 Схема установки. |
Температура подложки определялась по температурной зависимости сопротивления кремня, измеренной в ходе предварительной работы.
Характеристики ионного источника
При работе с ионным источником необходимо знать его характеристики. На рис.4,5 представлены зависимости плотности ионного тока в зависимости от расстояния до источника и угла в плоскости оси источника соответственно.
|
|
| Рис.4 Зависимость плотности плотности тока пучка ионов от расстояния до источника. |
Скорость роста пленок в подобных экспериментах малы. Помещая подложку в область с максимальной плотностью падающих частиц, увеличивается скорость осаждения. Зная геометрическое распределение потока можно оценить неоднородность толщины напыленной пленки или принять специальные меры для ликвидации этой неоднородности.
|
|
|
Рис.5 Зависимость плотности тока пучка ионов от угла. |
СИНТЕЗ АЛМАЗНЫХ ПЛЁНОК ПРИ ВЗАИМОДЕЙСТВИИ НИЗКОТЕМПЕРАТУРНОЙ ПЛАЗМЫ С ПОВЕРХНОСТЬЮ МОЛИБДЕНА
Особый интерес для синтеза алмазных плёнок представляют плазменные "тонкоплёночные" технологии, которые позволяют получать плёнки высокого качества [2,3]. Как правило, это вакуумные способы. В работах [4,5] описан плазменный метод синтеза алмазных поликристаллических плёнок при горении ацетилена в кислороде при атмосферном давлении.
Одна из важных проблем при получении покрытий данным способом связана со стабильностью свойств плёнки при нормальных условиях после её охлаждения (адгезия, например). Необходимо оптимизировать теплофизические условия синтеза, среди которых - понижение температуры подложки - одна из основных проблем. Установлено, что для синтеза плёнок оптимальная температура подложки (Мо, Si ): Тп = 1070-1300К [6 -14]. Тем не менее возникают вопросы, связанные с точностью измерения температуры поверхности. При использовании пирометрического двух-лучевого способа измерения необходимы поправки с учетом свойств пламени и оптических свойств изменяющейся растущей углеродной плёнки. Термопарный метод так же нуждается в поправках, связанными с теплофизическими свойствами подложки и способами крепления термопары. Известно, что пламенный метод характеризуется значительными тепловыми потоками ( > 2 Mвт/м2) и температура поверхности роста может существенно отличаться от измеряемой температуры подложки. Важно определить температуру поверхности на начальной стадии роста, когда монокристаллы растут свободно: перед тем, как вырастет сплошная плёнка. Такой подход позволит лучше понять механизм зарождения алмазной плёнки.
ЭКСПЕРИМЕНТАЛЬНАЯ УСТАНОВКА
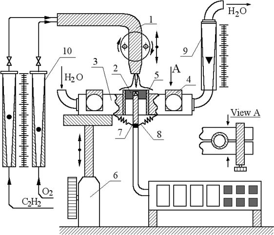
Установка позволяет провести исследования при известных [6-14] условиях синтеза: температура подложки - от 300 до 1500 К; расход газов: 1 - 4 л /мин и их отношение: R = О2 /C2H2 - до 2.5; расстояние между ядром пламени и подложкой - более 0.5мм. На рис.1 изображены: горелка - 1 (диаметр сопла: 1мм) над поверхностью подложки - 2, помещенной в теплообменник - 3 с зажимами - 4; теплоизолятор - 5 между подложкой и теплообменником, укреплённым на координатнике - 6; термопара - 7 вставлена в тело подложки и поджата пружинами - 8; измерители расхода воды - 9 и газов -10. В качестве материала подложки использовали молибденовые цилиндры (высота 5 и диаметр 10 мм). Спай термопары прижимался к подложке с помощью пружин. Проведенное исследование с помощью теплового датчика показало, что температура поверхности выше температуры подложки в точке измерения не более чем на 17 К при Тп = 900 К, а ошибка в измерении температуры, связанная со способом крепления термопары в молибденовой подложке, не превышает 60К при температуре 900К и определялась по точкам плавления химически чистого олова и меди в качестве реперов в специальном эксперименте.
Поверхностный слой плёнок исследовался на спектрометре комбинационного рассеяния (КР) "TRIPLEMATE (SPEX - USA) и на сканирующем электронном микроскопе "Fillips". При электронно-графическом исследовании на просвечивающем микроскопе "Jeol - 100 СX" для калибровки использовали частицы золота и природные алмазы.
|
|
| Рис. 1. Схема экспериментальной установки. |
Литература
1. АЛМАЗ в электронной технике. Сборник статей. Отв. ред. В.Б. Квасков. Москва, Энергоатомиздат. 1990 г. 245стр.
2. Рассеяние света в твёрдых телах. Под. ред. М. Кардона и Г. Гюнтеродта// Вып. 3, М.: Мир, 1985.
3. В.А. Черепанов, А.С. Золкин, Б.А. Колесов, К.Т. Мурзахметов, B.И. Семёнов. АЛМАЗОПОДОБНЫЕ ГРАНУЛИРОВАННЫЕ ПЛЁНКИ НА КРЕМНИИ, ПОЛУЧЕННЫЕ ПРИ ГОРЕНИИ АЦЕТИЛЕНА.
http://www.nsu.ru/cgi-in/psj?fname=http://src.nsu.ru/win/journals/phys_stud/articles/paper5.html
