ОгнетушителиРефераты >> Безопасность жизнедеятельности >> Огнетушители
Содержание
1 Цель работы
2 Общие сведения
3 Основные типы огнетушителей
3.1 Назначение и классификация огнетушителей
3.2 Огнетушители пенные
3.3 Огнетушители газовые
3.4 Огнетушители порошковые
4 Порядок выполнения работы н составление отчета
5 Вопросы для самоконтроля
Список использованных источников
1 Цель работы
Ознакомление с областью применения, конструкцией и принципом действия огнетушителей.
2 Общие сведения
Огонь безжалостен, но люди, подготовленные к этому стихийному бедствию, имеющие под руками даже элементарные средства пожаротушения выходят победителями в борьбе с огнем.
Средства пожаротушения подразделяют на :
- подручные (песок, вода, одеяло, кошма и т.п.),
- табельные (огнетушитель, топор, багор, ведро).
Эффективность тушения пожара и затраты на его ликвидацию зависят от своевременного обнаружения загорании и умения людей пользоваться первичными средствами пожаротушения.
Наиболее распространенными из первичных средств пожаротушения являются огнетушители. В качестве огнегасительного вещества в них используются пенообразующие составы, инертные газы и порошковые составы.
3 Основные типы огнетушителей
3.1 Назначение и классификация огнетушителей
Огнетушители - технические устройства, предназначенные для тушения пожаров в начальной стадии их возникновения.
Огнетушители классифицируются по виду используемого огнетушащего вещества, объему корпуса и способу подачи огнетушащего состава.
По виду огнетушащего вещества:
- пенные;
- газовые;
- порошковые,
- комбинированные.
По объему корпуса:
- ручные малолитражные с объемом корпуса до 5 л;
- промышленные ручные с объемом корпуса от 5 до 10 л;
- стационарные и передвижные с объемом корпуса свыше 10 л.
По способу подачи огнетушащего состава:
- под давлением газов, образующихся в результате химической реакции компонентов заряда;
- под давлением газов, подаваемых из специального баллончика, размещенного в корпусе огнетушителя;
- под давлением газов, закаченных в корпус огнетушителя;
- под собственным давлением огнетушащего средства.
По виду пусковых устройств:
- с вентильным затвором;
- с запорно-пусковым устройством пистолетного типа;
- с пуском от постоянного источника давления.
Этой классификацией не исчерпываются все показатели многочисленной группы огнетушителей. Постоянное совершенствование конструкции, повышение таких показателей как надежность, технологичность, унификация и др. ведет к созданию новых, более совершенных огнетушителей.
Огнетушители маркируются буквами, характеризующими вид огнетушителя, и цифрами, обозначающими его вместимость.
3.2 Огнетушители пенные
Предназначены для тушения пожаров огнетушащими пенами: химической (огнетушители ОХП) иди воздушно-механической (огнетушитель ОВП).
Химическую пену получают из водных растворов кислот и щелочей, воздушно-механическую образуют из водных растворов и пенообразователей потоками рабочего газа: воздуха, азота иди углекислого газа. Химическая пена состоит из 80 % углекислого газа, 19,7 % воды и 0,3 % пенообразующего вещества, воздушно-механическая примерно из 90 % воздуха, 9,8 % воды и 0,2 % пенообразователя.
Пенные огнетушители применяют для тушения пеной начинающихся загораний почти всех твердых веществ, а также горючих и некоторых легковоспламеняющихся жидкостей на площади не более 1 м2. Тушить пеной загоревшиеся электрические установки и электросети, находящиеся под напряжением, нельзя, так как она является проводником электрического тока. Кроме того, пенные огнетушители нельзя применять при тушении щелочных металлов натрия и кадия, потому что они, взаимодействуя с водой, находящейся в пене, выделяют водород, который усиливает горение, а также при тушении спиртов, так как они поглощают воду, растворяясь в ней, и при попадании на них пена быстро разрушается.
К недостаткам пенных огнетушителей относится узкий температурный диапазон применения (+5 °С - +45 °С), высокая коррозийная активность заряда, возможность повреждения объекта тушения, необходимость ежегодной перезарядки.
Из химических пенных огнетушителей наибольшее применение получили огнетушители: ОХП-10, ОП-М и ОП-9ММ (густопенные химические), ОХВП-10 (воздушно-пенный химический).
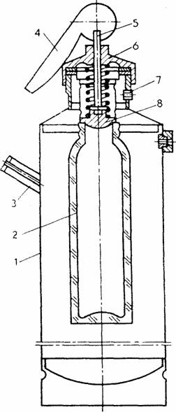
Химический пенный огнетушитель типа ОХП-10 (рисунок 1) представляет собой стальной сварной корпус с горловиной, закрытой крышкой с запорным устройством. Запорное устройство, имеющее шток, пружину и резиновый клапан, предназначено для того, чтобы закрывать вставленный внутрь огнетушителя полиэтиленовый стакан для кислотной части заряда огнетушителя. Кислотная часть является водной смесью серной кислоты с сернокислым окисным железом. Щелочная часть заряда (водный раствор двууглекислого натрия с солодковым экстрактом) залита в корпус огнетушителя. На горловине корпуса имеется насадка с отверстием (спрыск). Отверстие закрыто мембраной, которая предотвращает вытекание жидкости из огнетушителя. Мембрана разрывается (вскрывается) при давлении 0,08 - 0,14 МПа.
Для приведения огнетушителя в действие поворачивают рукоятку запорного устройства на 180°, переворачивают огнетушитель вверх дном и направляют спрыск в очаг загорания. При повороте рукоятки клапан закрывающий горловину кислотного стакана поднимается, кислотный раствор свободно выливается из стакана, смешивается с раствором щелочной части заряда. Образовавшийся в результате реакции углекислый газ интенсивно перемешивает жидкость, обволакивается пленкой из водного раствора, образуя пузырьки пены.
Образование пены идет по следующим реакциям:
H2SO4 + 2NaHCO3 → Na2SO4 + 2H2O + 2CO2
Fe(SO4)3 + 6H2O → 2Fe(OH)3 + 3H2SO4
3H2SO4 + 6NaHCO3 → 3Na2SO4 + 6H2O + 6CO2
Давление в корпусе огнетушителя резко повышается и пена выбрасывается через спрыск наружу.
При тушении твердых материалов струю направляют непосредственно на горящий предмет под пламя, в места наиболее активного горения. Тушение горящих жидкостей, разлитых на открытой поверхности, начинают с краев, постепенно покрывая пеной всю горящую поверхность, во избежании разбрызгивания.
Огнетушитель химический воздушно-пенный ОХВП-10 аналогичен по конструкции, но дополнительно имеет специальную пенную насадку, навинчиваемую на спрыск огнетушителя и обеспечивающую подсасывание воздуха. За счет этого при истечении химической пены образуется и воздушно-механическая пена. Кроме того, в этом огнетушителе щелочная часть заряда обогащена небольшой добавкой пенообразователя типа ПО-1.
1- корпус; 2- стакан с кислотной частью заряда; 3-ручка; 4- рукоятка; 5- шток; 6- крышка; 7- спрыск; 8- клапан.
