Орудия танков и БТРРефераты >> Военная кафедра >> Орудия танков и БТР
При выстреле под действием силы отдачи ствол с цилиндрами ПОУ идет в откат. Штоки ПОУ, связанные с люлькой, остаются неподвижными.
Жидкость в тормозе отката из предпоршневой полости поступает во внутреннюю полость штока, откуда идет по двум направлениям: свободно, отжав клапан модератора, поступает в замодераторную полость штока и пробрызгивается с большой скоростью через кольцевой зазор между регулирующим кольцом и веретеном. В этом кольцевом зазоре создается гидравлическое сопротивление. Зазор переменный, этим достигается такой характер изменения силы, чтобы на основной длине отката сила сопротивления откату R была постоянной.
Одновременно жидкость, находящаяся во внутреннем цилиндре накатника, вытесняется поршнем через отверстия а и б в полость наружного цилиндра, чем обеспечивается сжатие газа. Сжатый газ накапливает энергию, которая будет расходоваться на возвращение откатных частей в исходное положение. Отношение первоначального объема газа к объему в конце отката находится в пределах 2—2,5.
По окончании отката под действием давления сжатых в накатнике жидкости и газа откатные части возвращаются в исходное положение.
Жидкость, находящаяся в цилиндре тормоза отката, из-за поршневой полости после выбора вакуума перемещается через кольцевой зазор в обратном направлении. Скорость наката во много раз меньше скорости отката, к тому же гидравлическое сопротивление пропорционально квадрату скорости. Вследствие этого торможение наката в кольцевом зазоре недостаточно эффективно. Для обеспечения нормального торможения наката на всей его длине работает модератор. Клапан модератора под давлением жидкости в замодераторной полости - закрывается, и жидкость пробрызгивается по канавкам переменной глубины. Небольшой избыток энергии при накате поглощается при ударе казенника ствола о резиновые буфера люльки.
Для наблюдения за состоянием ПОУ при стрельбе на ограждении орудия устанавливается указатель отката. После отката движок указателя заряжающим возвращается в переднее положение. Для каждого орудия, как правило, устанавливается нормальная и предельная (обозначаемая на линейке словом “Стоп”) длины отката. При предельной длине отката стрельба из орудия должна быть прекращена.
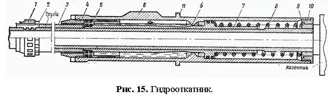
Противооткатные устройства (гидрооткатник) 73-мм орудия — концентрического типа. Последовательно вокруг ствола установлены гидравлический Тормоз отката и пружинный накатник. Такое расположение ПОУ придает им компактность, а конструкция позволяет удобно и просто их обслуживать.
![]() |
На трубе имеются кольцевые проточки. На эту часть трубы надето разрезное кольцо 2, на которое навинчена гайка 1. Эти детали создают искусственный бурт для передачи силы отдачи через втулку 3 на детали, заключенные внутри наружного цилиндра 6. Цилиндр 6 спереди и сзади закрыт гайками 4 и 10.
В передней части полости цилиндра 6 размещен тормоз отката, заполненный тормозной жидкостью. Переменный зазор образуется при откате и накате профильной поверхностью внутреннего цилиндра 7 и кольцом б, выполненным. за одно .целое с цилиндром 6. Два отверстия, закрытые винтами, в стенке цилиндра 6 служат для проверки уровня жидкости.
Пружина 8 накатника передним концом упирается в бурт внутреннего цилиндра 7, отжимая ствол в переднее положение. Задний конец пружины 8 через буфер 9, гайку 10 и цилиндр 6 упирается в люльку (лафет) орудия.
Ввиду напряженного теплового режима в гидрооткатнике применена полиэтилсилоксановая жидкость № 3 (вместо стеола М), имеющая более высокую точку кипения.
Люлька и ограждение
Люлька (рис. 16) предназначена для направления ствола при стрельбе во время отката и наката. При выстреле усилие от противооткатных устройств на башню передается через люльку и цапфы. К люльке крепятся узлы и детали механизмов и агрегатов вооружения.
Внутри люльки 1 имеются направляющие втулки 2 или вкладыши, а с боков— цапфы. На цапфы надеваются игольчатые подшипники. Обоймы 3 цапф неподвижны в башне танка. Ими пушка вставляется в вырезы кронштейнов башни, и обоймы поджимаются клиньями. В 100-мм пушке цапфы имеют фланец, который крепится болтами к кронштейну башни, а цапфы, проходя через кронштейн, своими концами с надетыми игольчатыми подшипниками входят в отверстия люльки.
Смазка направляющих втулок (или вкладышей) и подшипников цапф производится с помощью тавотонабивателя через маслопроводы 4.
Спереди к приливам а люльки крепится болтами бронировка, а сзади крепится ограждение. К заднему торцу люльки прикрепляются резиновые буфера 5. Сверху (на некоторых пушках—снизу) приваривается направляющий штырь б, входящий в латунный вкладыш казенника. Штырь удерживает ствол от проворота при выстреле. С левой стороны располагаются приливы, к которым
крепятся сектор 7 подъемного механизма и кронштейн 8 для крепления головной части прицела.
Снизу люльки делается прилив в с отверстиями для крепления штоков противооткатных устройств. У 100-мм пушки приливы для крепления цилиндров противооткатных устройств — на люльке сверху.
Ограждение служит для предохранения членов экипажа от ударов казенником во время стрельбы. Ограждение состоит из левого и правого щитов, соединенных между собой основанием и прикрепленных болтами к люльке. К основанию крепится спусковой механизм. На левом щите, как правило, устанавливаются боковой уровень и некоторые детали затвора (механизма повторного взведения и др.). На правой стороне, со стороны заряжающего, крепится указатель отката. На щитах и основании могут устанавливаться некоторые узлы стабилизатора и детали механизмов и автоматов заряжания.
3. УСТРОЙСТВО И ДЕЙСТВИЕ БОЕПРИПАСОВ, ПРИМЕНЯЕМЫХ К ТАНКОВЫМ ПУШКАМ И ОРУДИЯМ БМП
Боеприпасами (боевыми припасами) артиллерии называются предметы артиллерийского вооружения в виде устройств, действие которых основано, как правило, на использовании взрывчатых веществ.
Артвыстрел (артиллерийский выстрел) —вид боеприпаса, предназначенный для нанесения поражения противнику при стрельбе из орудий и выполнения других задач, состоит из снаряда со снаряжением и взрывателем, боевого заряда и вспомогательных элементов в гильзе и средства воспламенения его—капсюльной
втулки.
Артвыстрелы подразделяются на боевые, холостые, практические и учебные. Боевые артвыстрелы—основные, так как от них зависит ущерб, наносимый противнику. Правильное обращение с ними позволяет обеспечить безопасность в служебном обращении и безотказное, эффективное действие по целям на поле боя. Холостые артвыстрелы имеют специальный боевой заряд в укороченной гильзе без снаряда и служат для холостой стрельбы (имитации светового и звукового эффектов выстрела) во время учений и для салютов. Практические артвыстрелы имеют снаряды и взрыватели в инертном снаряжении и применяются для стрельбы на полигоне Учебные артвыстрелы не содержат ВВ и предназначены для изучения материальной части боеприпасов (преимущественно разрезные и легкоразборные), для обучения действию при вооружении и для проверок и регулировок вооружения. Учебные артвыстрелы, используемые для заряжания орудий, называют учебно-тренировочными или макетами.

