Технология изготовления декоративной косметикиРефераты >> Косметология >> Технология изготовления декоративной косметики
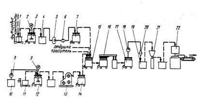
Отвешенные на весах 1 жировые компоненты загружаются в передвижную емкость 3, которая устанавливается под настенной мешалкой 2. Расплавленную массу из промежуточной емкости 4 перекачивают насосом 5 через фильтр 6 в емкость 7. Одновременно в емкость 15 загружают красители, пленкообразующие компоненты, расплавленную жировую основу и проводят эмульгирование массы в гомогенизаторе 16. Готовая маем из сборника 77 через фильтр 20 насосом 18 подается в емкость 19 и пропускается через коллоидную мельницу 21. Далее готовая масса подается в машину для автоматического наполнения и укупорки.
Пигментная паста и жидкий краситель, отвешенные на весах II, компонент из емкости 10 насосом 8 подаются в емкость 12 с мешалкой 9. Полученную смесь подвергают вальцеванию на трехвалковой машине 13 и готовую пигментную пасту добавляют в емкость 14.
Тени для век и средства для наведения теней под глазам и. Их применяют для оттенка глаз и придания им "глубины". Тени вырабатываются различных цветов и оттенков в виде паст, карандашей и в компактном виде. Тени в виде паст и карандашей состоят из основы (смеси жировых, воскообразных веществ и нефтепродуктов) и красителей. Технология приготовления изделий в виде паст и карандашей и аппаратурное оформление процесса производства и фасовки аналогичны производству губной помады.
Получение теней для век (компактных) аналогично получению компактной пудры.
Карандаш для бровей. Он предназначен для подкраски и подчеркивания бровей, а также придания им желаемой формы. Карандаш представляет собой окрашенную ароматизированную смесь восков, жиров и красителей. Цвета карандаша — черный, коричневый и синий. Технология приготовления его аналогична процессу производства и упаковки губных помад.
Лак и паста для ногтей. Лак для ногтей — бесцветные или окрашенные растворы нитроцеллюлозы в органических растворителях -предназначен для придания ногтям блеска и окраски. Материалом для приготовления лака служит целлулоид, коллоксинин и др. В качестве растворителей применяют амиловый эфир уксусной кислоты, ацетон,
Приложение № 1.
![]() |

Приложение № 2.



[1] В рецептуры пудр для сухой кожи входят компоненты, повышающие жирность кожи (стеараты и др.). а в пудры для жирной кожи - компоненты, обеспечивающие впитывание выделений кожи.

