Вычисление интеграла методом Ньютона-Котеса (теория и программа на Паскале)Рефераты >> Кибернетика >> Вычисление интеграла методом Ньютона-Котеса (теория и программа на Паскале)
Взяв n=3, мы получим
. Частный случай формулы Ньютона –Котеса – формула Симпсона
Теперь произведем анализ алгоритма и рассмотрим основной принцип работы программы.
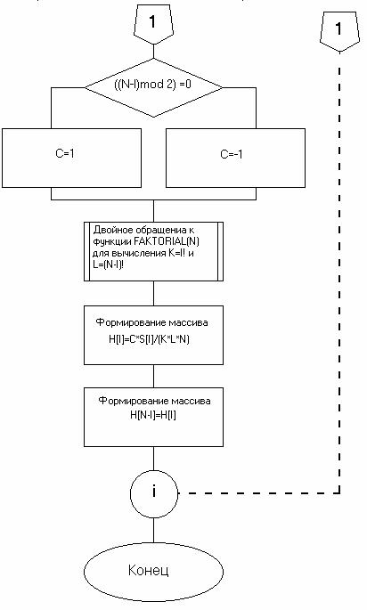
Для вычисления интеграла сначала находятся коэффициенты Ньютона-Котеса. Их нахождение осуществляется в процедуре hkoef.
Основной проблемой вычисления коэффициентов является интеграл от произведения множителей. Для его расчета необходимо:
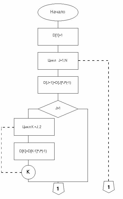
А) посчитать коэффициенты при раскрытии скобок при q
(процедура mnogoclen)
Б) домножить их на 1/n , где n –степень при q (процедура koef)
В) подставить вместо q значение n (функция integral)
Далее вычисляем факториалы (функция faktorial) и перемножаем полученные выражения (функция mainint). Для увеличения быстроты работы вводится вычисление половины от количества узлов интерполяции и последующей подстановкой их вместо неподсчитанных.
Процедура koef(w: массив;n:целый;var e:массив);
Процедура hkoef(n:целый;var h:массив);
Процедура mnogochlen(n,i:целые;var c:массив );
Процедура funktia(n:целая;a,b:вещест.;var y:массив;c:вещест.;f:строка);
Функция facktorial(n:целый):двойной;
Функция integral(w:массив;n:целый):двойной;
Функция mainint(n:целый;a,b:вещест.;y:массив):двойной;
Основная программа
Программа состоит из 8 файлов:
· K_main.exe – файл загрузки основной программы
· K_unit.tpu – модуль вычислительных процедур и функций
· K_graph.tpu – модуль графических процедур
· Graphic.tpu – модуль процедур для построения графика
· Egavga.bgi – файл графической инициализации
· Sans.chr, litt.chr – файлы шрифтов
· Keyrus.com (не обязательно) – файл установки русского языка.
Для работы программы с русским интерфайсом желательно запускать ее в режиме DOS.
================================================
==========МОДУЛЬ GRAPH==========
================================================
{$N+}
unit k_graph;
interface
uses
crt,graph,k_unit,graphic;
procedure winwin1;
procedure proline(ea:word);
procedure winwwodab(ea:word);
procedure error1(ea:word);
procedure helpwin(ea:word);
procedure error(ea:word);
procedure newsctext(ea:word);
procedure newsc(ea:word);
procedure win1(ea:word);
procedure win2(ea:word;var k:word);
procedure wwodn(ea:word;var n:integer);
procedure wwodab(ea:word;var a,b:real);
procedure wwod1(ea:word;var y:array of double;var n:integer;var a,b:real);
procedure wwod2(ea:word;var ea1:word;var n:integer;var a,b:real;var st:string);
procedure win3(ea:word;n:integer;a,b:real;int:double;f:string;h:array of double;var k:word);
implementation
procedure proline(ea:word);
{Проседура полосы процесса}
var
i:integer;
f:string;
c:char;
begin
newsc(ea);
setcolor(15);
setfillstyle(1,7);
bar(160,150,460,260);
rectangle(165,155,455,255);
rectangle(167,157,453,253);
case (ea mod 2) of
0: outtextxy(180,170,' Идет работа .Ждите ');
1: outtextxy(180,170,' Working.Please wait ');
end;
setfillstyle(1,12);
setcolor(0);
rectangle(200,199,401,221);
for i:=1 to 9 do
line(200+i*20,200,200+i*20,220);
delay(20000);
for i:=1 to 100 do
begin
if ((i-1) mod 10)=0 then
line(200+((i-1) div 10)*20,200,200+((i-1) div 10)*20,220);
bar(round(200+2*(i-0.5)),200,200+2*i,220);
delay(1100);
setcolor(15);
setfillstyle(1,7);
bar(280,230,323,250);
str(i,f);
f:=f+'%';
outtextxy(290,235,f);
if (i mod 25) =0 then
bar(170,180,452,198);
if (ea mod 2)=0 then
case (i div 25) of
0:
outtextxy(170,190,'Подготовка ');
1:
outtextxy(170,190,'Расчет коеффициентов в многочлене');
2:
outtextxy(170,190,'Расчет коеффициентов Ньютона-Котеса');
3:
outtextxy(170,190,'Расчет интеграла');
end
else
case (i div 25) of
0:
outtextxy(170,190,'Prepearing');
1:
outtextxy(170,190,'Calculation of mnogochlen coeff.');
2:
outtextxy(170,190,'Calculation of Newton-Cotes coeff. ');
3:
outtextxy(170,190,'Calculation of integral');
end;
setfillstyle(1,12);
setcolor(0);
end;
end;
procedure winwwodn(ea:word);
{Окно ввода числа узлов интерполяции}
var
c:char;
f:string;
begin
helpwin(ea);
if (ea mod 2) =0 then
begin
outtextxy(360,140,' В этом окне необходимо ');
outtextxy(360,155,' ввести количество узлов ');
outtextxy(360,170,' интерполяции, от которого ');
outtextxy(360,185,' будет зависить точность ');
outtextxy(360,200,' вычисления интеграл и ');
outtextxy(360,215,' количество зн чений функции.');
outtextxy(360,240,' ВНИМАНИЕ : НАСТОЯТЕЛЬНО ');
outtextxy(360,250,' РЕКОМЕНДУЕТСЯ НЕ ВВОДИТЬ ');
outtextxy(360,260,' ЗНАЧЕНИЕ N БОЛЬШЕ 12 !! ');
end
else
begin
outtextxy(360,140,' In this window you have to ');
outtextxy(360,155,' put into the number. ');
outtextxy(360,170,' The accuracy of calculation ');
outtextxy(360,185,' and the number of function ');
outtextxy(360,200,' parameters will depend on ');
outtextxy(360,215,' this number. ');
outtextxy(360,240,' WARNING: IT IS HARDLY ');
outtextxy(360,250,' RECOMENDED NOT TO PUT IN ');
outtextxy(360,260,' NUMBER MORE THEN 12 !! ');
end;
setcolor(2);
setfillstyle(1,14);
bar(70,200,340,300);
rectangle(75,205,335,295);
rectangle(77,207,333,293);
if (ea mod 2) =0 then
begin
outtextxy(90,227,'Введите количество узлов(n):');
outtextxy(80,270,'ВНИМАНИЕ: При больших n возможна');
outtextxy(80,280,'некорректная работа компьютера!!');
end
else
begin
