Разработка элементов учебно-тренировочных средств на основе интерактивных электронных технических руководств по подготовке разгонного блока «Бриз-М» на технической позицииРефераты >> Авиация и космонавтика >> Разработка элементов учебно-тренировочных средств на основе интерактивных электронных технических руководств по подготовке разгонного блока «Бриз-М» на технической позиции
- кабель: экранированная витая пара;
5) Проектор.
3. РЕАЛИЗАЦИЯ УТС ПМК РБ «БРИЗ-М» НА ПРИМЕРЕ ТЕХНОЛОГИЧЕСКОЙ ОПЕРАЦИИ «ПОДГОТОВКА РБ «БРИЗ-М» К ТРАНСПОРТИРОВАНИЮ НА ЗАПРАВОЧНУЮ СТАНЦИЮ»
В качестве примера, иллюстрирующего работу учебно-тренировочного средства на основе ИЭТР была выбрана технологическая операция «Подготовка РБ «Бриз-М» к транспортированию на заправочную станцию».
3.1. Анализ технологического процесса подготовки РБ на ТК космодрома «Байконур»
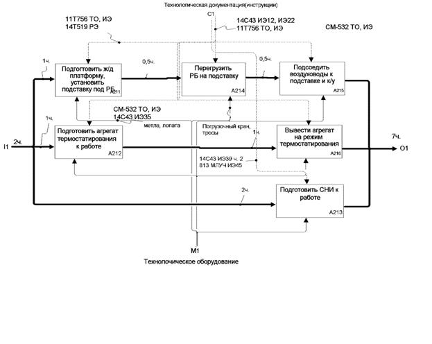
Изначально информация о последовательности выполняемых операций содержалась в Инструкции по эксплуатации № 10 в виде сетевых графиков. (См. Приложение №1).
Как видно из Приложения №1 представление информации в таком виде крайне не удобно. Информация иерархически не структурирована, сложно мысленно охватить и осмыслить всю инструкцию целиком.
Методология IDEF0 лишена данных недостатков, поэтому инструкция №10 была переработана в рамках концепции IDEF0.
Реализация методологии IDEF0 представлена в рис. 3.1.
а)
б)
в)
г)
Рис. 3.1. Представление технологического процесса
в методологии IDEF0
Как видно из рисунков, последовательность действий четко структурирована и легко мысленно представить себе все этапы процесса. Каждая последующая таблица детализует и раскрывает таблицу более верхнего уровня.
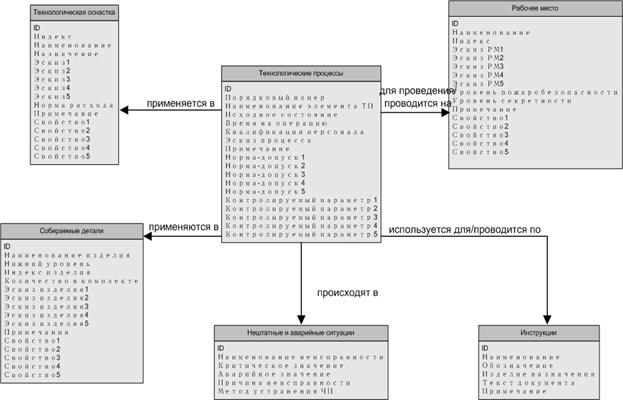
Для анализа взаимосвязей между различными объектами информационной модели используется методология IDEF1X.
Представление информационной модели в методологии IDEF1X показано на рис. 3.2.
Рис. 3.2. Схема информационной модели УТС на основе ИЭТР в методологии IDEF1X
3.2. Информационное наполнение БД Microsoft Access
Информационным ядром УТС на основе ИЭТР является БД Microsoft Access. Ее структура создается на основе модели созданной в методологии IDEF1X с учетом конкретных программных особенностей. Поэтому структура таблиц базы данных сходна со структурой модели IDEF1X.
Структура БД Microsoft Access показана на рис. 3.3.
Рис. 3.3. Схема данных БД УТС в среде СУБД MS Access
3.3. Графический интерфейс пользователя
Графический интерфейс пользователя исполнен посредством языка объектного программирования Microsoft Visual Basic.
Внешний вид рабочего окна представлен на рис. 3.4.
Рис. 3.4. Вид рабочего окна
4. ЭКОЛОГИЯ И БЕЗОПАСНОСТЬ ПРОИЗВОДСТВА
4.1. Анализ технологического процесса и условий труда
Физические опасные и вредные производственные факторы подразделяются на:
1. Физические;
2. Химические;
3. Биологические;
4. Психофизические.
В данном дипломном проекте среди приведенных выше четырех групп опасных и вредных производственных факторов можно пренебречь биологическими и химическими факторами, так как на данном рабочем месте они оказывают незначительное влияние на деятельность оператора ЭВМ. Рассмотрим только физические и психофизические опасные и вредные производственные факторы и мероприятия по их устранению или снижению.
Технологический процесс программирования включает в себя операции, описанные в таблице 4.1.
Таблица 4.1.
Основные элементы производственного процесса, формирующие опасные и вредные производственные факторы
|
№ п п |
Наименование операции |
Материалы, сырье, комплектующие изделия |
Оборудование, приспособления, инструменты |
Готовые изделия |
Производственная среда |
Окружающая среда | |
|
Оснащение компьютеров специальным программным обеспечением (ПО) |
- магнитные носители, CD |
- ВМ |
— |
- опасный уровень электрического тока, - повышенная напряженность электрического или магнитного поля, повышенный уровень электромагнитных излучений |
воздух | ||
|
Анализ поставленной задачи и определение ТЗ |
- бумага, - тонер для лазерного принтера |
- ВМ, - принтер |
- сформулированное ТЗ для разрабатываемого ПО |
- опасный уровень электрического тока, - повышенная напряженность электрического или магнитного поля, - повышенный уровень электромагнитных излучений |
воздух | ||
|
Создание текстов ПО |
- бумага - тонер для лазерного принтера |
- ВМ, - принтер, |
- тексты ПО |
- опасный уровень электрического тока, - повышенная напряженность электрического или магнитного |
воздух | ||
|
- |
- |
- |
Продолжение таблицы 4.1. | ||||
|
- |
- |
- |
- поля, повышенный уровень электромагнитных излучений | ||||
|
Отладка ПО на универсальных вычислительных машинах (ВМ) |
- провода, - разъемные соединения |
- ВМ, - принтер. |
- отлаженное ПО, - доработанная аппаратура |
- опасный уровень электрического тока, - повышенная напряженность электрического или магнитного поля, - повышенный уровень электромагнитных излучений |
воздух | ||
