Технологические и экономические аспекты производства диметилового эфира терефталевой кислоты
В настоящее время довольно много крупных фирм в мире работают над проблемой получения ДМТ в основном двумя путями: 1) этерификация метанолом «сырой» ТФК (американские фирмы «Eastman Kodak», «Du Pont», японские «Toray Industries», «Kararay Vuka» и др. [6]); 2) окисление п-ксилола до п-ТК, ее этерификация метанолом, последующее окисление метильной группы до кислотной и превращение в ДМТ или совместное окисление п-ксилола, метилового эфира п-ТК и монометилового эфира ТФК и последующая их этерификация.
Процесс получения ДМТ постоянно развивается, усовершенствуется, модернизируется [6]. Ниже приводятся некоторые способы получения ДМТ.
1) Каталитическое окисление п-ксилола до образования п-толуиловой кислоты и монометилтерефталата с последующей этерификацией образовавшихся продуктов метанолом происходит по схеме:
2С6H4(CH3)2 +О2-----> C6H4(CH3)COOH-1,4 + C6H4(COOH)COOCH3-1,4
|
CH3OH
C6H4(CH3)COOH + C6H4(COOH)COOCH3-1,4 ------> C6H4(COOCH3)2-1,4
n-толуиловая монометалтерефталат диметилтерефталат
кислота
2) Каталитическое окисление п-ксилола до образования терефталевой кислоты с последующей этерификацией метанолом происходит по схеме:
+О2,кат
С6H4(CH3)2 --------> C6H4(COOH)2-1,4
n-ксилол терефталевая
|
t,Р
C6H4(COOH)2-1,4 + 2CH3OH -----> C6H4(COOCH3)2-1,4 + 2H2O
терефталевая диметилтерефталат
кислота
2. Сравнительные характеристики промышленных методов производства диметилтерефталата.
Сырьем для получения ДМТ служит п-ксилол. В основе всех процессов, используемых для синтеза ДМТ, лежит метод Виттен, предложенный в первоначальном варианте фирмой Chemische Werke Witlen GmbH (Германия). В дальнейшем процесс был модифицирован различными фирмами с целью улучшения его экономических показателей. Самый распространенный процесс разработан фирмой Dynamit Nobel AG (Германия). Применение данной фирмой нового катализатора (кобальто-марганцевый) окисления п-ксилола позволило проводить реакции окисления и этерификации без растворителей. При этом удалось снизить издержки производства и получить более высокий выход продукта. Согласно процессу фирмы Dynamit Nobel смесь п-ксилола и возвратного п-метилтолуилата окисляют воздухом при температуре 140-1700С и давлении 0.4-0.8 МПа в присутствии катализатора на основе тяжелого металла с образованием п-толуиловой кислоты и монометилтерефталата. Продукты окисления подвергают этерификации метанолом при температуре 250-2800С и давлении 2.0-2.5 МПа. Сырой ДМТ, отбираемый снизу ректификационной колонны очищают перекристаллизацией из метанола, центрифугируют и перегоняют с получением ДМТ сорта "для волокна" .Представляет интерес технология, разработанная японской фирмой "Мицуи сэкию кагаку", по которой получают ДМТ через промежуточную стадию синтеза ТФК. Реакцию этерификации терефталевой кислоты в ДМТ проводят в три стадии. Hа первой - реакция протекает при высоких температурах и давлении. При этерификации в одну стадию для достижения высокой степени конверсии необходимо использовать большой избыток метанола, что экономически нецелесообразно. В процессе "Мицуи" на первой стадии этерификации степень конверсии поддерживается низкой при минимальном избытке метанола. Hа второй и третьей стадии достигают высоких степеней конверсии за счет удаления из реакционной системы ДМТ и образующейся в ходе реакции воды. Значительным усовершенствованием процесса "Мицуи" является применение новой технологии очистки сырого ДМТ, включающей реакцию окисления и фракционирования, вместо кристаллизации, что позволяет значительно увеличить выход продукта и сократить примеси[6,7].
Таблица 1
.Расход основного сырья производства 1 т диметилтерефталата.
Процесс Процесс
Ф.Dynamit Ф."Мицуи сэкию
Nobel кагаку"
Сырье и материалы
п-ксилол,т 0.61 0.566
метанол,т 0.05 0.360
уксусная кислота,т - 0.04
Энергозатраты
электроэнергия,кВт.ч 500 380
топливо,ГДж 420 490
3. Способы производства диметалтерефталата.
3.1 СПОСОБ ФИРМЫ «DUNAMIT NOBEL» (Германия)
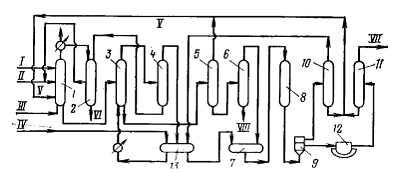
Фирма «Dunamit Nobel» получает ДМТ, пригодный для производства синтетических полиэфирных волокон, из п-ксилола и метанола по схеме, изображенной на рис.1.
Рис.1. Технологическая схема процесса синтеза ДМТ из п-ксилола и метанола:
1 — реактор окисления; 2 — отстойник; 3 — реактор этерификации: 4, 5,6— колонны ректификации; 7—аппарат для растворения; 8— кристаллизатор; 9—центрифуга; 10, 11—колонны; 12.— плавильник ДМТ; 1З—емкость. I—катализатор; II—п-ксилол; III—воздух; IV— метанол; V—п-метилтолуилат; VI-стоки; VII—чистый ДМТ;
VIII— кубовый остаток.
В реактор окисления 1 подают п-ксилол, п-метилтолуилат, катализатор. Туда же подводят воздух. Окисление проводят без добавления растворителя при 140—170 °С и 4-8·105Па. Образующаяся по реакциям (4) смесь п-толуиловой кислоты и монометилтерефталата (оксидат) поступает на этерификацию в реактор 3, куда подают метанол. Процесс идет по схеме:
(4)
Этерификация протекает в избытке метанола при 250—280 °С и20—25-105Па:
(5)
Избыток метилового спирта удаляют из зоны реакции через верх реактора этерификации 3, подвергают ректификации в колонне 4 и возвращают в цикл. Кубовый остаток из ректификационной колонны 4 и конденсат легкокипящих компонентов, которые отводят через верх реактора окисления 1, направляют в отстойник 2. Здесь происходит смешение и разделение двух фаз на органическую и водную. Органический слой возвращается на окисление, а водный направляется в стоки.
Оксидат после его этерификации в реакторе 3 подают в ректификационные колонны 5 и 6, в колонне 5 отгоняется п-метилтолуилат, который направляется в реактор окисления 1, а в ректификационной колонне 6 «сырой» диметиловый эфир отделяется от высококипящих соединений. ДМТ-сырец выводят через верх колонны 6 и направляют на дальнейшую очистку. В аппарате 7 растворяют ДМТ-сырец в метаноле, после чего подвергают его кристаллизации в аппарате 8. Выпавшие кристаллы ДМТ отделяют от маточного раствора на центрифугах 9 и направляют в плавильный аппарат 12. Расплавленный ДМТ подвергают дальнейшей очистке в ректификационной колонне 11, чистый ДМТ выводят через верх колонны 11, а в кубе концентрируются высококипящие соединения.
