Технологические и экономические аспекты производства диметилового эфира терефталевой кислоты
Маточный раствор после центрифуги 9 поступает в колонну 10, а остаток объединяют с кубовой жидкостью колонны 11 и возвращают в реактор окисления 1; выделенный метанол возвращают в процесс.
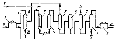
3.2 СПОСОБ ФИРМЫ «MITSUI PETROCHEMICAL» (ЯПОНИЯ)
Фирма «Mitsui Petrochemical» усовершенствовала процесс получения высокочистого ДМТ из ТФК. и метанола. Технологическая схема этого процесса показана на рис.2.
Рис. 2. Схема процесса производства ДМТ по технологии фирмы «Mitsui Petrochemical»:
1-подогреватель; 2, 5-ректификационные колонны; 3-реактор этерификации;
4-подогреватель-испаритель; 6-колонна термолиза;7, 8-вакуумные ректификационные колонны; 9-сборник;I-метанол; II-смесь метанола и технической ТФК; III-вода;
IV-легколетучие компоненты; V-тяжелая фракция; VI- чистый ДМТ.
Смесь технической ТФК и метанола из подогревателя 1 направляют в реактор этерификации 3 специальной конструкции, где при повышенных температуре и давлении происходит реакция этерификации. Продукты реакции поступают в подогреватель-испаритель 4, где снижают давление, реакционную смесь нагревают и направляют в колонну 5 для отгонки избытка метанола и реакционной воды, которые непрерывно отводят в ректификационную колонну 2. В этой колонне отделяют воду, а метанол возвращают в процесс. ДМТ-сырец из куба колонны 5, содержащий различные примеси, которые трудно отделимы при простой ректификации, специально обрабатывают в колонне термолиза 6, в результате чего указанные примеси превращаются в соединения, легко отделяемые при ректификации,
Далее ДМТ-сырец направляют в вакуумные ректификационные колонны 7 и 8. В колонне 7 отделяются легколетучие, а в колонне 8—тяжелые компоненты. Очищенный ДМТ через верх колонны 8 выводится в сборник 9. Выход диметилтерефталата из технической ТФК составляет более 98,0 %. По описанной технологии действуют установки мощностью 30 и 120 тыс.т в год.
3.3. СПОСОБ ФИРМЫ «EASTMAN KODAK» (США).
Фирма «Eastman Kodak» разработала технологический процесс производства ДМТ, аналогичный предыдущему технологическая схема показана на рис. 3
Рис.3. Схема процесса производства ДМТ по технологии фирмы «Eastman Kodak»:
1-реактор этерификации; 2-подогреватель; З-отпарная колонна; 4-колонна ректификации метанола; 5,6,7-ректификационные колонны; I-метанол; II-ТФК; III-пульпа; IV-ДМТ-сырец; V-вода; VI-рецикл метанола; VII-легкокипящие примеси; VIII-тяжелый остаток в рецикл; IX-чистый ДМТ.
Этерификацию технической ТФК метанолом осуществляют в отсутствии катализатора. Конструкция реактора в системе ректификации ДМТ обеспечивает экономичность процесса и способствует образованию небольшого количества побочных продуктов (отходов). Метанол и техническую ТФК направляют в подогреватель 2, откуда пульпа поступает в реактор этерификации 1. ДМТ-сырец в отпарной колонне 3 отделяется от метанола, который после ректификационной колонны 4 возвращают в рецикл, а воду из куба колонны 4 сбрасывают в канализацию.
ДМТ-сырец из отпарной колонны 3 поступает в ректификационные колонны 5 - 7, в которых отгоняют легкокипящие примеси и тяжелые остатки. Чистый ДМТ, выходящий с верха ректификационной колонны 7, направляется на затаривание.
3.4. СПОСОБ ФИРМЫ «WITTEN» (Германия)
Из всех перечисленных выше способов доминирующим в производстве диметилтерефталата стал способ, разработанный фирмой «Chemische Werke Witten» и осуществленный в промышленном масштабе фирмой «lrnhausen International» (Германия). По этому способу в настоящее время выпускают в мире более 40,0% от общего производства ДМТ.
Описываемый способ вначале осуществляли в две стадии. На первой стадии п-ксилол окисляли кислородом воздуха при 130-140°С до п-толуиловой кислоты, которую этерифицировали метанолом. Оставшуюся неокисленной метильную группу в молекуле метилового эфира п-толуиловой кислоты подвергали дальнейшему окислению при 200°С в присутствии кобальтовой соли легких погонов жирных кислот в качестве катализатора и получали монометиловый эфир ТФК. При этом эфирная группа в п-метилтолуилате не разрушалась. В дальнейшем монометиловый эфир ТФК этерифицировали и очищали.
Процесс получения ДМТ постоянно изменяется и усовершенствуется. В результате синтез ДМТ стали проводить путем совместного окисления п-ксилола и метилового эфира п-толуиловой кислоты кислородом воздуха в одну стадию до п-ТК, терефталевой кислот и монометилового эфира ТФК с последующей их этерификацией; недоокисленные продукты возвращали на стадию окисления (ДМИ-диметиловый эфир изофталевой кислоты) (рис. 4).
Рис. 4. Технологическая схема производства ДМТ способом фирмы «Witten» (Германия).
3.5. ТЕХНОЛОГИЧЕСКИЙ ПРОЦЕСС ПРОИЗВОДСТВА ДИМЕТИЛОВОГО ЭФИРА ТЕРЕФТАЛЕВОЙ КИСЛОТЫ В РОССИИ ПО СПОСОБУ ФИРМЫ «WITTEN».
В России диметилтерефталат производят по способу «Witten». Этот процесс, включающий совместное окисление п-ксилола и метилового эфира п-толуиловой кислоты с последующей этерификацией продуктов окисления, состоит из следующих основных стадий:
1) окисление п-ксилола и метилтолуилата;
2) этерификащия;
3) дистилляция сырого эфира (ДМТ);
4) кристаллизация ДМТ;
5) дистилляция ДМТ;
6) чешуирование и упаковка готового продукта[4].
В России диметилтерефталат производят в наибольших объемах на следующих химических предприятиях
-АО" Уфанефтехим";
-Ангарский химический завод;
-ПО "Химволокно" (г. Могилев).
Места производства продукта обусловлены наличием исходного сырья и необходимых технологических установок[10].
4. Экономика производства.
В настоящее время химические волокна используют в самых различных областях - от товаров широкого потребления до космической техники. В период 1980-1992 гг. на долю химических волокон приходилось около 40% от всего потребления текстильного сырья в различных странах, а в наиболее развитых - до 50-60% [1]. В связи с созданием крупнотоннажных производств синтетических волокон на их долю приходится более 70% всего выпуска химических волокон,. а в таких странах, как США и Германия,- почти 90% [9].
Литературные сведения о технико-экономических показателях существующих производств синтетических волокон и мономеров для ДМТ - весьма ограничены. Однако на основании имеющихся данных о строительстве заводов можно судить о тенденциях развития некоторых способов. получения указанного продукта.
5. СРАВНИТЕЛЬНАЯ ОЦЕНКА ЗАТРАТ В ПРОИЗВОДСТВЕ.
Анализ капиталовложений в производство синтетических волокон и мономеров для них в развитых странах показывает, какое большое внимание в настоящее время уделяется этим производствам в США, Германии, Японии и других странах.
Особое место среди синтетических волокон занимают полиэфирные, известные на мировом рынке под торговыми марками терилен, дакрон, лавсан и др. Из этих полиэфиров получают волокна, корд, пленку и другие промышленные изделия. На долю полиэфирных волокон в 80-х гг. приходилось (% от общего объема вырабатываемых синтетических волокон): в США - 51, в Германии - 54, в Японии - 40. Поскольку исходным сырьем для полиэфиров служат диметилтерефталат и терефталевая кислота, расширение производства полиэфирных волокон влечет за собой увеличение потребления этих мономеров, а следовательно, и мощностей по их производству.
