Микропроцессор AonZ80Рефераты >> Программирование и компьютеры >> Микропроцессор AonZ80
содержание
ВВЕДЕНИЕ
AOH HA Z80
1. СТРУКТУРНАЯ СХЕМА АОН
Цифровая часть
Аналоговая часть:
2. РАБОТА УЗЛОВ ПО ПРИНЦИПИАЛЬНОЙ СХЕМЕ
Микропроцессор Z80A
Постоянная память
Временная память
Таймер
Порт ввода-вывода
Узел сброса
Задающий генератор
Узел выборки ОЗУ
Узел индикации и опроса клавиатуры
Узел определения положения трубки
Узел охранного устройства
Узел управления магнитофоном
Компаратор
Схема анализа вызова из линии
Ключ подключения к линии
Узел выдачи сигналов в телефонную линию
Узел формирования звука
Выпрямитель
Разговорная схема
ЗАКЛЮЧЕНИЕ
ЛИТЕРАТУРА
введение
Первые упоминания о системах, производящих автоматическое определение номера звонящего абонента, в "полулегальной" радиолюбительской литературе появились в 1990 году. К этому времени в крупных городах закончилось оснащение районных АТС аппаратурой АОН. Эта аппаратура предназначается для работы с автоматической междугородной телефонной станцией (АМТС). Она выдает по запросу последней номер абонента, осуществившего запрос услуг АМТС. Это необходимо для автоматического учета услуг, оказываемых АМТС, а также автоматического выписывания счета абоненту, который при этом избавляется от трудоемкого набора собственного номера при работе с АМТС. Поскольку работа данной аппаратуры осуществляется непосредственно по физическим соединительным линиям в общепринятых и известных кодах, то негласно доступ к ней получили и широкие круги радиолюбителей. Это, а также ослабление многолетних запретов, существовавших в этой области, обусловило всплеск активности радиолюбителей, который не спадает уже на протяжении большого периода времени.
Коротко расскажем об истории АОН. Отметим, что разработки подобных систем могут вестись по двум направлениям:
— с использованием аналоговых фильтров;
— с использованием цифровых методов обработки.
Первые конструкции использовали ряд узкополосных фильтров и их "обвязку" на дискретных элементах. Они являлись упрощенными копиями профессиональных систем. Данные системы при правильном исполнении и тщательной регулировке обеспечивали высокую вероятность определения номера, достигающую 100 %. Однако использование в первых конструкциях неперспективной элементной базы не позволило реализовать сколько-нибудь приемлемый уровень сервиса. Поэтому данные системы не получили широкого распространения. В последнее время, однако, возрождается интерес к данному направлению ввиду его главного достоинства — высокой вероятности определения номера. Дальнейшее развитие этого направления связано с трансформацией элементов схемы в единую БИС.
Первым представителем второго направления, получившим широкое распространение, явился АОН на ИС КР580ВМ80А. Недостатки АОН большое потребление энергии, использование 3-х источников питания, низкое быстродействие МП, низкая вероятность определения трудности с формированием сигналов фиксированных частот, сложность в настройке, стирание информации при пропадании напряжения в электросети определялись типом используемого процессора.
На данной конструкции были опробованы основные принципы телефонного сервера, и затем она была вытеснена следующей конструкцией АОН на Z-80A.
Конструкция АОН на Z-80A оказалась настолько удачной, что выпускается целым рядом государственных, частных и "нелегальных" фирм в практически неизменном виде с 1992 года. По статистике более 50 % индивидуальных АОН выполнены по этой схеме.
За это время появилось большое количество доработок и усовершенствований, носящих не принципиальный характер - как удачных, так и неудачных.
![]() |
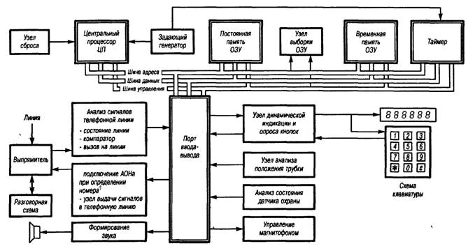
1. СТРУКТУРНАЯ СХЕМА АОН
На рисунке приведена структурная схема АОНа. Он состоит из цифровой и аналоговой частей.
Цифровая часть:
1. ЦП - центральный процессор
2. ПЗУ - постоянная память
3. ОЗУ - временная память
4. Таймер - счетчик времени
5. Порт В.-В. - порт ввода-вывода
Аналоговая часть:
6. Узел сброса
7. Задающий генератор
8. Узел выборки ОЗУ
9. Узел индикации и опроса кнопок
10. Узел определения положения трубки
11. Узел охранного устройства
12 Схема управления магнитофоном
13. Схема анализа состояния линии
14. Компаратор
15. Схема анализа вызова из линии при определении номера
16. Узел подключения к линии (ключа)
17 Узел выдачи сигналов в телефонную линию
18. Узел формирования звука
19. Выпрямитель
20. Разговорная схема
Рассмотрим назначение вышеупомянутых блоков и узлов.
ЦП (Центральный процессор)
Основа функционирования всего телефона Он формирует необходимые адреса, данные, устанавливая необходимые сигналы управления. Это настоящий диспетчер в этом «муравейнике». Он организовывает передачу данных между всеми микросхемами, подключенными к микропроцессорным магистралям адреса, данных, управления
ПЗУ (Постоянная память)
Содержит программы управления работой ЦП (соответствующую версию) Реализована на микросхеме, информация в которую заносится заранее В процессе эксплуатации информацию можно многократно стирать ультрафиолетовым излучателем и запрограммировать новую, т о ЦП будет выполнять новую последовательность команд
ОЗУ (Временная память)
Служит для хранения показаний часов, будильников, календаря. В ней размещена память телефонов и номера Вашей электронной записной книжки. Она участвует в процессе определения номера, так как содержит результаты анализа двухчастотных посылок.
Таймер
Управляется ЦП и служит для формирования звуковых сигналов и временных интервалов:
— формирование музыкальной заставки при включении питания;
— озвучивание клавиш при их нажатии;
— формирование вызывного сигнала;
— сигнал будильника;
— организация отображения информации;
— другие функции.
Порт В.-В. (Порт ввода-вывода)
Содержит 24 триггера, которые доступны для анализа ЦП. Причем 8 из 24 ориентированы им на прием информации из различных узлов телефона, а остальные 16 триггеров настроены ЦП на вывод информации, управляя аналоговой частью телефона.

