Автоматизированные системы обработки информации и управленияРефераты >> Программирование и компьютеры >> Автоматизированные системы обработки информации и управления
Отдельного внимания заслуживает тема организации федеральных сетей - предлагается считать, что только те интегрированные сети могут претендовать на статус федеральной F-сети, если они действуют на территории не менее чем 50% субъектов Российской Федерации.
С каждым днем все большее количество компаний объединяется в сети, которые в свою очередь присоединяются к более крупным с целью создания сети покрывающей всю территорию России.
В данный момент к этому близится "Единая Пейджинговая Система России", где отдельным операторам региональных сетей удалось согласовать использование одного номинала частоты на всей территории России и некоторых странах СНГ (Грузия, Казахстан), на сегодняшний день более 80 городов, что позволило им перейти к организации сетей, охватывающих многие регионы России.
Создание таких сетей позволит перейти на протокол федерального уровня FLEX.
"Выводы"
За период с 1980 года по 1993 год возникли и стали бурно развиваться другие виды персональной связи, реализующие в отличие от пейджеров двунаправленную передачу сообщений. Например, сотовая связь. Многие, быть может, удивятся, почему двунаправленные системы связи, обладающие богатыми функциональными возможностями, не вытеснили пейджинг с рынка. Однако популярность пейджинга не только не уменьшается, но даже растет. В чем же кроются причины успеха пейджинговой связи? Во-первых, пейджеры очень компактны и мало весят. Во-вторых, стоимость услуг пейджинга невысока. В-третьих, частотные ресурсы очень эффективно используются данными системами. Это означает, что один радиоканал с полосой, скажем 25 Кгц, может обслуживать большое число абонентов. И, наконец, пейджеры - очень комфортное средство персональной связи: вы можете получать сообщения во время деловой встречи или, находясь за рулем автомобиля, и они не оторвут вас от выполнения текущих дел. У вас всегда будет время обдумать полученный вызов или сообщение и только затем реагировать на него.
Складывающаяся в европейских странах ситуация показывает, что даже при значительном удешевлении услуг сотовой связи, мобильный телефон не вытесняет пейджер. Более того, проведенные опросы (в том числе и среди российских пользователей), показывают, что 72% респондентов воспринимают рынки сотовой и пейджинговой связи не как конкурентные, а как взаимодополняющие.
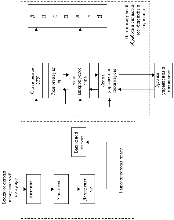
Рис. 8.5.1. Блок-схема приемника персонального радиовызова (пейджера).
Приложение
ИНСТРУКЦИЯ ПО ЭКСПЛУАТАЦИИ АЛФАВИТНО-ЦИФРОВОГО ПЕЙДЖЕРА "BUMERANG"
· Дисплей – 2 стоки по16 символов.
· Приветствие до 32 символов.
· Количество личных сообщений - 65.
· Максимальная длина личного сообщения -550 знаков
· Количество информационных каналов -12.
· Информационные каналы могут вмещать до 100 сообщений.
· 15 уровней регулировки контрастности.
· Календарь.
· Часы.
· Будильник
· Удаление личных сообщений избирательно и полностью.
· Защита личных сообщений от удаления (до 35 сообщений).
· Индикатор повторного сообщения и индикатор помех при приеме.
· Индикатор времени поступления сообщения.
· Оповещение о непрочитанном сообщении
· Индикатор отсутствия сообщений.
· Два типа сигнала оповещения: звук и вибрация.
· Индикатор о нахождении вне зоны обслуживания.
· Подсветка дисплея.
· Оповещение о разрядке батарейки.
· 10 мелодий.
· Ручное включение/выключение питания.
· Функция быстрого чтения сообщений.
· Звуковое напоминание о не прочтенных сообщениях.
· При смене батарейки данные не теряются.
· Индикатор автоматического включения/выключения питания.
· Индикатор переполнения памяти и защиты сообщения.
· Срок работы батарейки – 800 часов без отключения.
· Размер – 75х51х18 мм.
· Вес – 65 г. с батарейкой.
9. Телекоммуникационные средства связи
9.1. Локальные и глобальные вычислительные сети
9.1.1. Понятие: локальные и глобальные ВС
Локальная сеть (Local Area Network, LAN) представляет собой соединение нескольких РС с помощью соответствующего аппаратного и программного обеспечения. Слово “локальная” в этом названии означает, что все соединённые РС находятся, как правило, в одном здании или в соседних зданиях. Кроме LAN, существуют и другие сети:
MAN (Metropolitan Area Network). В этой сети основой является соединение систем в пределах города. В качестве области её применения можно представить компьютеризированную главную управляющую систему или управление информацией о жителях большого города.
WAN (Wide Area Network). В данном случае речь идёт о сети, которая может соединять несколько стран.
GAN обозначает сеть, которая соединяет континенты, и происходит от английского термина Global Area Network.
Естественно, РС может работать в любой из этих сетей. Однако типичной областью его применения является именно локальная сеть. Благодаря открытой архитектуре сети компьютер имеет возможности для подключения в сеть.
Преимущество, предоставляемое при использовании локальной сети:
- Распределение данных. Данные в сети хранятся на центральном РС и могут быть доступны для любого РС, подключенного к сети. Таким образом, не надо на каждом рабочем месте иметь накопители для хранения одной и той же информации.
- Распределение ресурсов. Периферийные (часто всего дорогие) устройства могут быть доступны для всех пользователей сети, например, факс или лазерный принтер;
- Распределение программ. Все пользователи сети могут иметь доступ к программе, которые были один раз централизованно установлены. При этом должна работать сетевая версия соответствующих программ.
- Электронная почта. Все пользователи сети могут предавать или принимать сообщения.
На предприятии, имеющею сет, включающей несколько сотен рабочих мест, должен быть специалист, который отвечает функционирование всей сети. Такого специалиста называют сетевым администратором или супервизором.
Для защиты информации в первую очередь необходимы устройства на случай выхода из строя промышленной электрической сети. Для этой цели используют аппаратные средства, например устройство непрерывного питания компьютера (UPS).
В качестве другой меры необходимо иметь в распоряжении дополнительный компьютер, который может заменить вышедший из строя сервер или рабочую станцию.
Так как в сети циркулирует большое количество данных, то необходимо тщательно и планомерно заботиться о защите информации. Например, могут быть установлены дополнительные винчестеры (зеркальные), на которых дублируется информация, или накопители большой емкости (стримеры), с помощью которых обеспечивается планомерное копирование (архивирование) данных.
Кроме того, в сети каждый пользователь может иметь доступ ко всей информации, то есть прочитать и изменить любые данные. Обычно это нежелательно, и не только из соображения безопасности.
Соответствующие действия пользователей сети регулируются определенными правилами доступа, которые устанавливают, какому пользователю разрешено читать или записывать определенные данные. Для разграничения доступа, распределения ресурсов сети и обеспечения сохранности данных необходимо сетевое администрирование.
