Выбор и расчет средств по пылегазоочистке воздухаРефераты >> Безопасность жизнедеятельности >> Выбор и расчет средств по пылегазоочистке воздуха
1. Подобрать циклон, обеспечивающий степень эффективности очистки газа от пыли не менее h = 0.87
Циклоны предназначены для сухой очистки газов от пыли со средним размером частиц 10…20 мкм. Все практические задачи по очистке газов от пыли с успехом решаются циклонами НИИОГАЗа: цилиндрическим серии ЦН и коническим серии СК. Избыточное давление газов, поступающих в циклон, не должно превышать 2500 Па. Температура газов во избежание конденсации паров жидкости выбирается на 30…500С выше температуры точки росы, а по условиям прочности конструкции – не выше 4000С. Производительность циклона зависит от его диаметра, увеличиваясь с ростом последнего. Цилиндрические циклоны серии ЦН предназначены для улавливания сухой пыли аспирационных систем. Их рекомендуется использовать для предварительной очистки газов при начальной запыленности до 400 г/м3 и устанавливать перед фильтрами и электрофильтрами.
Конические циклоны серии СК, предназначенные для очистки газов от сажи, обладают повышенной эффективностью по сравнению с циклонами типа ЦН за счет большего гидравлического сопротивления. Входная концентрация сажи не должна превышать 50 г/м3.
Исходные данные:
количество очищаемого газа - Q = 1.4 м3/с;
плотность газа при рабочих условиях - r = 0,89 кг/м3;
вязкость газа - m = 22,2×10-6 Н×с/м2;
плотность частиц пыли - rП = 1750 кг/м3;
плотность пыли – dП = 25 мкм;
дисперсность пыли - lgsп = 0,6;
входная концентрация пыли – Свх = 80 г/м3.
Расчет: Задаёмся типом циклона и определяем оптимальную скорость газа wопт, в сечении циклона диаметром Д:
Выберем циклон ЦН-15, оптимальная скорость газа, в котором wопт = 3,5 м/с.
Определяем диаметр циклона, м
Ближайшим стандартным сечением является сечение в 700 мм.
По выбранному диаметру находим действительную скорость газа в циклоне, м/с
м/с,
где n – число циклонов.
Вычисляем коэффициент гидравлического сопротивления одиночного циклона:
где К1 – поправочный коэффициент на диаметр циклона;
К2 - поправочный коэффициент на запыленность газа;
500 – коэффициент гидравлического сопротивления одиночного циклона диаметром 500 мм.
Определяем гидравлическое сопротивление циклона:
Па
По таблице 2.4 определяем значение параметров пыли
и lgsh:
Для выбранного типа циклона -
=4.5 мкм lgsh=0.352
Ввиду того, что значения
, приведенные в таблице 2.4, определены по условиям работы типового циклона (Дт = 0,6 м; rпт = 1930 кг/м3; mт = 22,2×10-6; wт = 3,5 м/с), необходимо учесть влияние отклонений условий работы от типовых на величину d50:
мкм
Рассчитываем параметр x:

по табл. 2.5 находим значение параметра Ф(x):
Ф(x)=0.8413
Определяем степень эффективности очистки газа в циклоне:
Расчетное значение h = 0,92 больше необходимого условия h = 0,87, таким образом циклон выбран верно.
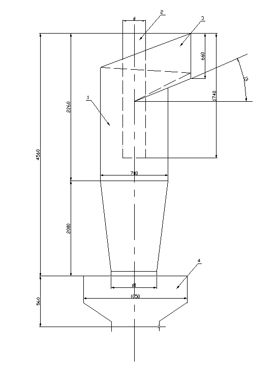
![]() |
1 – корпус
2 – входная труба
3 – патрубок
4 – буннер
2. Рассчитать эффективность применения скруббера Вентури для очистки от пыли производственных выбросов.
Скрубберы Вентури нашли наибольшее применение среди аппаратов мокрой очистки газов с осаждением частиц пыли на поверхности капель жидкости. Они обеспечивают эффективность очистки 0.96…0.98 на пылях со средним размером частиц 1…2 мкм при начальной концентрации пыли до 100 г/м3 . Удельный расход воды на орошение при этом составляет 0.4…0.6 л/м3 .
Исходные данные:
Загрязнитель – конвекторная пыль В = 9,88 × 10-2; n = 0,4663
Плотность газа в горловине rг = 0,9 кг/м3
Скорость газа в горловине Wг = 135 м/с
Массовый расход газа Мг = 0,9 кг/с
Массовый расход орошающей жидкости Мж = 0,865 кг/с
Удельный расход жидкости m = 1,5 л/м3
Давление жидкости rж = 300 кПа
Плотность жидкости rж = 1000 кг/м3
Коэффициент гидравлического сопротивления сухой трубы -
=0.15
Требуемая эффективность очистки от пыли не менее 0.9
Расчет:
Определяем гидравлическое сопротивление сухой трубы Вентури,
![]() |
Н/ м2 , где
ж – коэффициент гидравлического сопротивления трубы, обусловленный вводом жидкости
Находим гидравлическое сопротивление трубы Вентури, Н/ м2
Находим суммарную энергию сопротивления Кт, Па
![]() |
Vж = Мж/rж = 0,865/1000 = 8,65 × 10-4 м3/с
Vг = Мг/rг = 0,9/0,9 = 1 м3/с
Кт = 10662855 + 300×103(8,65×10-4/1) = 10663114 Па
Определяем эффективность скруббера Вентури
![]() |




