Выбор и расчет средств по пылегазоочистке воздухаРефераты >> Безопасность жизнедеятельности >> Выбор и расчет средств по пылегазоочистке воздуха
Рис. 2.1 Скруббер Вентури
1 – форсунки
2 – сопло
3 – пылеуловитель
a1 = 28°;
a2 = 8°; l2 = 0.15 × d2;
3. Определить размеры, энергозатраты и время защитного действия адсорбера для улавливания паров этилового спирта, удаляемых местным отсосом от установки обезжиривания при условии непрерывной работы в течение 8 часов.
Метод адсорбции основан на физических свойствах некоторых твердых тел с ультрамикроскопической структурой селективно извлекать и концентрировать на своей поверхности отдельные компоненты из газовой среды. При расчете определяют необходимое количество сорбента, продолжительность процесса поглощения, размеры адсорбционной аппаратуры и энергетические затраты.
Исходные данные:
Производительность местного отсоса - Lм=250 м3/ч
Начальная концентрация спирта - Со=11 г/м3
Температура в адсорбере - tр=20 оС
Давление в адсорбере - Р=9.8*104 Н/м2
Плотность паровоздушной смеси - rг=1.2 кг/м3
Вязкость паровоздушной смеси - n=0.15*10-4 м2/с
Диаметр гранул поглотителя (активированный уголь) - d=3 мм
Длина гранул - l=5мм
Насыпная плотность - rн=500 кг/м3
Кажущаяся плотность - rк=800 кг/м3
Эффективность процесса очистки h = 0,99
По изотерме адсорбции (рис. 3.1) и заданной величине Со, г/м3, находим статическую емкость сорбента: a0=175 г/кг
Определяем весовое количество очищаемого газа:
кг/с
Переводим весовую статическую емкость сорбента a0, в объемную a0’:
кг/м3
Определяем массу сорбента:
, кг,
где К=1.1…1.2 – коэф. запаса;
t - продолжительность процесса сорбции, с.
Выбираем скорость потока газа в адсорбере W, м/с. Обычно фиктивная скорость паровоздушной смеси или скорость, рассчитанная на полное сечение слоя, выбирается в пределах 0.1…0.25 м/с. Выберем W=0.2 м/с.
6. Определяем геометрические размеры адсорбера. Для цилиндрического аппарата:
- диаметр
м
- длина (высота) слоя адсорбента
м
Находим пористость сорбента
Рассчитываем эквивалентный диаметр зерна сорбента:
м
9. Коэффициент трения находим в зависимости от характера движения
при Re<50 l=220/Re
при Re³50 l=11.6/Re0.25,
где
- критерий Рейнольдса
откуда: l=220/Re=220/49 =4.5
Определяем гидравлическое сопротивление, оказываемое слоем зернистого поглотителя при прохождении через него потока очищаемого газа
, где Ф=0.9 – коэффициент формы
Определяем коэффициент молекулярной диффузии паров этилового спирта в воздухе при заданных условиях: Д0 = 0,101 × 10-4 при Т0 = 273° К и Р0 = 9,8 × 104 Па:
Находим диффузионный критерий Прантля
Для заданного режима течения газа (определяется значением Rе) вычисляем величину коэффициента массопередачи для единичной удельной поверхности, м/с
при Rе<30
при Rе>30
т.к. в нашем случае Re=49, то
По изотерме адсорбции (рис 2.1) находим:
- количество вещества, максимально сорбируемое поглотителем при данной температуре аµ=175 г/кг
- величину концентрации поглощаемого вещества на входе в адсорбер Сх= 2,5 г/м3
Рассчитываем удельную поверхность адсорбента:
м2/м3
Определяем концентрацию паров этилового спирта на выходе из аппарата:
, где h - эффективность очистки
Находим продолжительность защитного действия адсорбера:
Полученные в результате расчета параметры обеспечивают заданный режим работы адсорбера в течении более чем 8 часов. В целях экономии адсорбента можно уменьшить высоту его слоя.
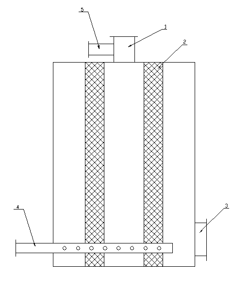
![]() |
1. труба для ввода газа
2. слой пористого сорбента
3. труба для удаления чистого газа
4. барбатер
5. труба для выхода пара
Список использованных источников
1. Безопасность жизнедеятельности: Уч. пособие под ред. Бережного С.А. и др. – Тверь: ТГТУ, 1996.
2. Бережной С.А., Седов Ю.С. Сборник типовых расчетов и заданий по экологии: Уч. пособие. - Тверь: ТГТУ, 1999.

