Кристаллы в природе
Представим себе, что по какой-то причине в атоме произошло смещение отрицательно заряжённого электронного облака относительно положительно заряжённого ядра. Такой атом можно рассматривать как совокупность двух разноименных точечных зарядов, одинаковых по абсолютной величине, находящихся на некотором расстоянии друг от друга (55а). Подобную систему зарядов называют электрическим диполем. В окрестности атома-диполя возникает электрическое поле. Напряжённость этого поля быстро убывает при удалении от атома, но вблизи атома поле достаточно велико. Если в окрестности атома I попадает нейтральный атом II (55б), то электрическое поле атома I должно сместить заряды электронов и ядра атома II (55б). Такое относительное смещение зарядов в атоме II должно в свою очередь, создавать электрическое поле, поддерживающее разделение зарядов в атоме I. Из рисунка 55 б видим, что разноименно заряжённые частицы атомов должны притягивать друг друга. При сближении атомов между ними начинают действовать силы отталкивания. На расстоянии, примерно равном размеру атомов, силы взаимодействия между атомами равны нулю. Точно такое же рассуждение мы можем провести и в отношении двух молекул, состоящих из нескольких десятков атомов. Нейтральные молекулы должны притягивать друг друга за счёт образования электрических диполей-атомов.
рис 55
Действительно, молекулы должны притягиваться. Но как? Ясно, что по описанным выше причинам большая часть атомов молекулы стремится оказаться вблизи атомов другой молекулы, так как только в этом случае силы взаимодействия между молекулами обращаются в нуль. Но такая ситуация возможна только тогда, когда длинные оси молекул параллельны друг другу. Таким образом, возникает определённый порядок в ориентации молекул и появляется выделенное направление. Это направление можно характеризовать единичным вектором (рис53,54).
Разумеется, такое параллельное расположение выделенных осей молекул возможно только при достаточно низкой температуре, когда тепловые толчки не настолько сильны, чтобы разрушить ориентационный порядок в системе молекул. При повышении температуры обязательно наступает момент, когда хаотическое тепловое движение молекул становится преобладающим и нематический порядок разрушается.
Таким образом, система таких особых молекул может иметь два состояния: обычное (изотропное) жидкое - при высоких температурах и анизотропное жидкое – при низких температурах. Подчеркнём, что нематический жидкий кристалл может быть действительно жидким, как вода, то есть центры масс молекул не образует в данном случае какую-то правильную решётку, как в кристалле, а располагаются хаотично в пространстве и могут в нём свободно перемещаться. В то же время ориентация молекул в этой жидкости подчиняется строгому порядку. Интересно, что нематическая жидкость, образуемая молекулами вытянутой формы известна уже много десятков лет, в то время как нематическая жидкость из дискообразных молекул открыта только в 1979-1980 года.
7.2.Холестерическая жидкость.
Структура холестерической жидкости во многом сходна с нематической, но имеет одно существенное отличие. Можно сказать, что холестерик обладает нематическим состоянием послойно, то есть состоит из стопки нематических слоёв(рис56а). но оси этих параллельных друг другу слоёв развёрнуты на некоторый угол, причём для двух соседних слоёв этот угол составляет малую величину α=0,5°. Расстояние между соседними слоями примерно равно поперечному размеру молекулы а. если двигаться вдоль оси Z, перпендикулярной плоскости слоёв, то через число слоёв N=π/а ориентация молекул станет такой же, как и в самом первом слое. Расстояние h=а*2π/а, через которое повторяется ориентация молекул в пространстве, представляет собой удвоенный период своеобразной решётки (рис56б). Величину h принято называть шагом спирали, которую образуют в пространстве концы молекул, лежащих в последовательных слоях.
Описанная периодическая решётка – её называют холестерической спиралью - удивительна тем, что чёткая периодичность в ней касается только ориентации молекул. В то же время в каждом нематическом слое молекулы могут свободно перемещаться, меняться местами; словом, холестерическая жидкость свободно течёт вдоль таких плоскостей, но спираль при этом почти не нарушается.
рис. 56
Молекулы могут перемещаться и из слоя в слой, поворачиваясь при этом на угол α, но это даётся им не так легко. Всё это и определяет особые свойства холестерической жидкости, схожие за свойствами твёрдого кристалла. Особенности структуры холестерической жидкости наиболее сильно проявляются при изменении температуры вещества, и при различных внешних воздействиях. Холестерическая спираль обладает яркими оптическими свойствами, чувствительна к малейшим повреждениям столь своеобразной решётки. Всё это вызвало громадный интерес к изучению и применению холестерических жидких кристаллов. Чем вызвана такая структура холестерика?
Объяснения заключается в особенности строения молекул, из которых состоят эти вещества. Молекулы холестерика - почти такие же, как в нематической жидкости, но имеют на своём конце небольшой отросток (рис57а). Этот отросток образуется обычно одним или несколькими атомами, которые выступают из основной плоскости, содержащей подавляющее большинство атомов молекулы. Симметрия молекулы нарушается из-за отростка и напоминает симметрию руки, которая бывает только правой и только левой.
Как сказывается такая форма молекул на ориентационном порядке жидкости? Подобные молекулы можно расположить параллельно друг другу в определённой плоскости, например в плоскости, в которойлежат сами молекулы. Именно эти плоскости и образуют отдельные слои холестерика (рис57б). А как могут быть «пристроены» друг к другу эти слои? Очевидно, что молекулы слоя 2 могут быть параллельны молекулам слоя 1, если слои расположены друг от друга на расстоянии, примерно равном высоте отростков. В этом случае отростки не мешают молекулам оставаться параллельными.
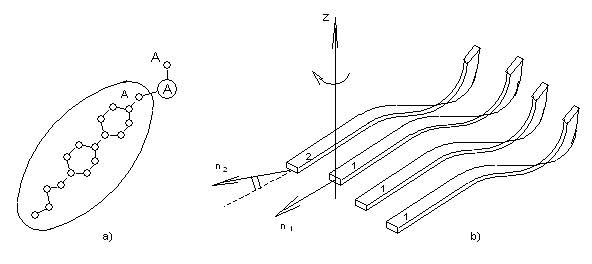
рис. 57
Если расстояние между слоями меньше высоты отростков, то векторы n1 и n2 не могут быть строго параллельны – мешают отростки. Поэтому между векторами n1 и n2 имеется малый угол α.
Таким образом, мы приходим к выводу, что несимметричные молекулы должны образовывать стопку нематических слоёв, причём от слоя к слою молекулы должны поворачиваться на определённый угол α. В зависимости от того, как изогнуты отростки отдельных молекул, холестерические спирали могут быть либо правыми, либо левыми.
7.3.Жидкие кристаллы-растворы.
Жидкокристаллическое состояние можно получить и при растворении подходящих веществ в растворителе, например в воде, который сам по себе не образует жидкий кристалл. При этом получается самые разные жидкие кристаллы. Если молекулы растворяемого вещества имеют форму стержня – получается нематическая жидкость; если у стержнеобразных молекул имеются отростки - холестерическая жидкость. Можно получить и более сложные состояния.
