Электрон в потенциальной яме. Туннельный эффект
Очевидно, что такие переходы могут осуществляться лишь в том случае, если в энергетической зоне имеются свободные уровни.
В металлах, где зона не полностью укомплектована электронами, даже слабое поле способно сообщить электронам достаточный импульс, чтобы вызвать их переход на близлежащие свободные уровни. По этой причине металлы хорошие проводники электрического тока.
В полупроводниках и диэлектриках при температуре 00К все электроны находятся в валентной зоне, а зона проводимости абсолютно свободна. Электроны полностью заполненной зоны не могут принимать участия в создании электрического тока.
Для появления электропроводности необходимо часть электронов перевести из валентной зоны в зону проводимости. Энергии электрического поля недостаточно для осуществления этого перехода, требуется более сильное энергетическое воздействие, например, нагревание твердого тела.
Чем выше температура и меньше запрещенная зона, тем выше интенсивность межзонных переходов.
У диэлектриков запрещенная зона может быть настолько велика, что электронная электропроводность не играет определяющей роли.
Выводы
1. Твердое тело является металлом, т.е. проводником, в том случае, если валентные электроны одновременно принадлежат всем атомам
2. Твердое тело, в котором валентные электроны прочно связаны со своими атомами, является диэлектриком.
3. Если каждый атом имеет, например, 4 валентных электрона, являющихся общими для 4 ближайших атомов (конфигурация валентных связей), то такое твердое тело является полупроводником.
Электроны и дырки
При каждом переходе электронов за счет возбуждении из валентной зоны в зону проводимости появляются энергетические вакансии в распределении электронов по состояниям валентной зоны, называемые "дырками". При наличии дырок электроны валентной зоны могут совершать эстафетные переходы с уровня на уровень. Во внешнем энергетическом поле дырка движется противоположно движению электрона, т.е. ведет себя как некоторый положительный заряд с отрицательной эффективной массой. Таким образом, дырки инициируют и обеспечивают участие валентных электронов в процессе электропроводности.
Процесс перехода электронов в свободное состояние сопровождается и обратным явлением, т.е. возвратом электронов в нормальное, невозбужденное состояние. В результате в веществе при любой температуре возникает динамическое равновесие.
С ростом t0 число свободных электронов в полупроводниках возрастает, а с падением t0 - уменьшается вплоть до нуля.
При 00К различие между полупроводниками и диэлектриками исчезает. Ширина запрещенной зоны меняется с изменением температуры. Это происходит по двум причинам:
· из-за изменения амплитуды тепловых колебаний атомов решетки, поэтому DЭ уменьшается
· из-за изменения межатомных расстояний, т.е. объема тела, поэтому DЭ может как уменьшаться, так и увеличиваться.
У большинства полупроводников с ростом t0 ширина разрешенной зоны увеличивается, запрещенной зоны - уменьшается
Можно считать DЭ=DЭ0-b*T; b=(2¸6)*10-4Эв/0К
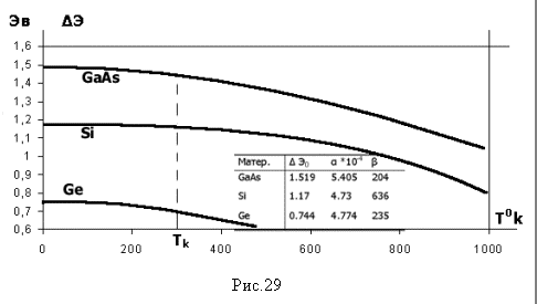
При комнатной температуре (T=3000К) и нормальном атмосферном давлении ширина запрещенной зоны DЭ у германия составляет ~ 0.66 эВ, у Si=1.12 эВ, а арсенида галлия GaАs ~ 1.42 эВ. Отметим, что эти значения найдены для материалов с высокой степенью частоты. В сильно легированных материалах ширина запрещенной зоны немного меньше. Как показывают экспериментальные результаты, ширина запрещенной зоны большинства полупроводников уменьшается с ростом температуры. Температурные зависимости для Ge, Si и GaAs приведены на рис.29
При T=00К в этих полупроводниках ширина запрещенной зоны равна соответственно 0.743 эВ (Ge); 1.17 эВ (Si) и 1.519 эВ (GaAs).
Зависимость DЭ=F(T0) в этих полупроводниках можно аппроксимировать универсальной функцией
Числовые значения параметров DЭ, a и b приведены на рис.29 Отметим, что для этих полупроводниковых материалов температурный коэффициент d(DЭ)/dT отрицателен. В некоторых полупроводниках однако, производная d(DЭ)/dT положительна. Например в PbS (приложение Д) ширина запрещенной зоны увеличивается от 0.286 эВ при Т=00К до 0.41 эВ, при Т=3000К.
При комнатной температуре ширина DЭ увеличивается с ростом давления: в Ge d(DЭ)/dP=5*10-6 эВ/(кг/см2), а в GaAs d(DЭ)/dP ~ 12.6*10-6 эВ/(кг/см2).
В кремнии ширина DЭ с ростом давления уменьшается (d( )/dP=-2.4*10-6 эВ/(кг/см2)).
Однако энергию, необходимую для перевода электрона в свободное состояние или для образования дырки, может дать не только тепловое движение, но и другие источники энергии: энергия света, поток заряженных частиц, энергия поля, механическая энергия и т.д.
Электрические свойства определяются условиями взаимодействия и расстояниями между атомами вещества и не являются непременной особенностью данного атома (углерод в виде алмаза - диэлектрик, в виде графита - проводник).
Энергетические зоны примесей и дефектов
Примеси и дефекты нарушают строгую периодичность структуры и создают особые энергетические уровни, которые располагаются в запрещенной зоне идеального кристалла.
Если примесные атомы и дефекты расположены достаточно далеко друг от друга, то взаимодействие между ними отсутствует, а соответствующие им энергетические уровни оказываются дискретными. Поскольку туннельные переходы электронов между удаленными примесными атомами практически невозможны, то дополнительные электронные состояния локализованы в определенном месте решетки, т.е. на дефекте структуры. При достаточно высокой концентрации примесных атомов расстояния между ними сравнимы с размерами атомов, благодаря чему возможно перекрытие электронных оболочек ближайших атомов примеси. В этом случае дискретные энергетические уровни примесей расщепляются в энергетическую зону примесных состояний, способную обеспечить проводимость, если не все уровни в этой зоне заполнены электронами.
Таким образом, электрические свойства твердых тел определяются теоретически с единой точки зрения - энергия возбуждения носителей заряда или энергия активации электропроводности равна нулю у металлов и непрерывно возрастает в ряду полупроводников, условно переходящих при увеличении этой энергии в ряд диэлектриков.
Следует подчеркнуть, что зонная теория строго применима к твердым телам с ковалентными и металлическими связями.
Разделение твердых тел на полупроводники и диэлектрики носит в значительной мере условный характер.
ТУННЕЛЬНЫЙ ЭФФЕКТ
Введение
70 лет назад наш соотечественник Г. А. Гамов впервые получил решения уравнения Шредингера, описывающие возможность преодоления частицей энергетического барьера даже в случае, когда энергия частицы меньше высоты барьера. Новое явление, называемое туннелированием, позволило объяснить многие экспериментально наблюдавшиеся процессы. Найденное решение позволило понять большой круг явлений и было применено для описания процессов, происходящих при вылете частицы из ядра, - основы атомной науки и техники. Многие считают, что за грандиозность результатов его работ, ставших основополагающими для многих наук, Г. А. Гамов должен был быть удостоен нескольких Нобелевских премий. Развитие электроники подошло к использованию процессов туннелирования лишь почти 30 лет спустя: появились туннельные диоды, открытые японским ученым Л. Есаки, удостоенным за это открытие Нобелевской премии. Еще через 5 лет Ю. С. Тиходеев, руководивший сектором физико-теоретических исследований в московском НИИ "Пульсар", предложил первые расчеты параметров и варианты использования приборов на основе многослойных туннельных структур, позволяющих достичь рекордных по быстродействию результатов. Спустя 20 лет они были успешно реализованы. В настоящее время процессы туннелирования легли в основу технологий, позволяющих оперировать со сверхмалыми величинами порядка нанометров (1нанометр=10-9 м). [1]
