Реактивное движение
Теперь выясним, что произойдет в системе отсчета, которая движется вместе с телом 2m. Как следует из pис. 9б, скоpость тела, обpазовавшегося после столкновения, pавна υ/2. Иными словами (см. pис. 10), после столкновения скорость трех тел будет в три раза меньше скорости налетающего тела. Опять импульс сохраняется!
|
Рис. 10. Окончательный итог. |
1В системе отсчета, движущейся со скоростью Vc, импульс системы материальных точек равен нулю.
Реактивное движение. Реактивное движение. Закон сохранения импульса позволяет объяснить и получить основные уравнения, описывающие реактивное движение. Главной особенностью движения ракеты является то, что это движение тела с переменной массой. Выбрасывая ежесекундно определенную часть массы в виде газов сгоревшего топлива, ракета разгоняется. Чтобы учесть переменность массы ракеты, следует воспользоваться уравнением Ньютона в форме: Dp/Dt = 0. Здесь Dp = p2 - p1 - разность конечного и начального импульсов системы, состоящей из ракеты и испущенных за время Dt газов. Предполагается для простоты, что на ракету не действуют внешние силы (конечно, это не так, тяготение Земли очень важно, но в этом случае уравнения сильно усложняются). Введем обозначения :m - масса ракеты вместе с топливом ,vр - скорость ракеты относительно Земли, vг - скорость газов относительно Земли, vгр - скорость газов относительно ракеты, Dmг - масса газа, вытекшего из сопла ракеты за время Dt и равная уменьшению полной массы ракеты за это же время. Начальный импульс ракеты вместе с топливом относительно Земли в произвольный момент времени равен
(17.4) Через время Dt масса ракеты становится равной m - Dmг, скорость ракеты относительно Земли получает приращение и становится равной vр + Dvр. Таким образом, суммарный импульс ракеты и выброшенных газов относительно Земли равен
Принято выражать скорость газов относительно Земли через их скорость относительно ракеты (скорость истечения) vгр с помощью закона сложения скоростей: vг = vгр + vр. Это векторное равенство, и так как в большинстве случаев скорость истечения газов противоположна скорости ракеты, то |vг| < |vгр|. Подставляя это равенство в выражение для импульса системы, получаем
(17.5) Преобразовывая уравнения (17.4) и (17.5) получаем дифференциальное уравнение
(17.6) Оно носит имя нашего великого соотечественника К. Э. Циолковского. Интегрируя обе части уравнения в предположении постоянства скорости истечения газов vгр, находим закон возрастания скорости ракеты:
(17.7)
Реактивный двигатель.
двигатель, создающий необходимую для движения силу тяги путём преобразования исходной энергии в кинетическую энергию реактивной струи рабочего тела;в результате истечения рабочего тела из сопла двигателя образуется реактивная сила в виде реакции (отдачи) струи, перемещающая в пространстве двигатель и конструктивно связанный с ним аппарат в сторону, противоположную истечению струи. В кинетическую (скоростную) энергию реактивной струи в Р. д. могут преобразовываться различные виды энергии (химическая, ядерная, электрическая, солнечная). Р. д. (двигатель прямой реакции) сочетает в себе собственно двигатель с движителем, т. е. обеспечивает собственное движение без участия промежуточных механизмов. Для создания реактивной тяги, используемой Р. д., необходимы: источник исходной (первичной) энергии, которая превращается в кинетическую энергию реактивной струи; рабочее тело, которое в виде реактивной струи выбрасывается из Р. д.; сам Р. д. - преобразователь энергии. Исходная энергия запасается на борту летательного или др. аппарата, оснащенного Р. д. (химическое горючее, ядерное топливо), или (в принципе) может поступать извне (энергия Солнца). Для получения рабочего тела в Р. д. может использоваться вещество, отбираемое из окружающей среды (например, воздух или вода); вещество, находящееся в баках аппарата или непосредственно в камере Р. д.; смесь веществ, поступающих из окружающей среды и запасаемых на борту аппарата. В современных Р. д. в качестве первичной чаще всего используется химическая энергия. В этом случае рабочее тело представляет собой раскалённые газы - продукты сгорания химического топлива. При работе Р. д. химическая энергия сгорающих веществ преобразуется в тепловую энергию продуктов сгорания, а тепловая энергия горячих газов превращается в механическую энергию поступательного движения реактивной струи и, следовательно, аппарата, на котором установлен двигатель. Основной частью любого Р. д. является камера сгорания, в которой генерируется рабочее тело. Конечная часть камеры, служащая для ускорения рабочего тела и получения реактивной струи, называется реактивным соплом. В зависимости от того, используется или нет при работе Р. д. окружающая среда, их подразделяют на 2 основных класса - воздушно-реактивные двигатели (ВРД) и ракетные двигатели (РД). Все ВРД - тепловые двигатели, рабочее тело которых образуется при реакции окисления горючего вещества кислородом воздуха. Поступающий из атмосферы воздух составляет основную массу рабочего тела ВРД. Т. о., аппарат с ВРД несёт на борту источник энергии (горючее), а большую часть рабочего тела черпает из окружающей среды. В отличие от ВРД все компоненты рабочего тела РД находятся на борту аппарата, оснащенного РД. Отсутствие движителя, взаимодействующего с окружающей средой, и наличие всех компонентов рабочего тела на борту аппарата делают РД единственно пригодным для работы в космосе. Существуют также комбинированные ракетные двигатели, представляющие собой как бы сочетание обоих основных типов. Принцип реактивного движения известен очень давно. Родоначальником Р. д. можно считать шар Герона. Твёрдотопливные ракетные двигатели - пороховые ракеты появились в Китае в 10 в. н. э. На протяжении сотен лет такие ракеты применялись сначала на Востоке, а затем в Европе как фейерверочные, сигнальные, боевые. В 1903 К. Э. Циолковский в работе "Исследование мировых пространств реактивными приборами" впервые в мире выдвинул основные положения теории жидкостных ракетных двигателей и предложил основные элементы устройства РД на жидком топливе. Первые советские жидкостные ракетные двигатели - ОРМ, ОРМ-1, ОРМ-2 были спроектированы В. П. Глушко и под его руководством созданы в 1930-31 в Газодинамической лаборатории (ГДЛ). В 1926 Р. Годдард произвёл запуск ракеты на жидком топливе. Впервые электротермический РД был создан и испытан Глушко в ГДЛ в 1929-33. В 1939 в СССР состоялись испытания ракет с прямоточными воздушно-реактивными двигателями конструкции И. А. Меркулова. Первая схема турбореактивного двигателя была предложена русским инженером Н. Герасимовым в 1909. В 1939 на Кировском заводе в Ленинграде началась постройка турбореактивных двигателей конструкции А. М. Люльки. Испытаниям созданного двигателя помешала Великая Отечественная война 1941-45. В 1941 впервые был установлен на самолёт и испытан турбореактивный двигатель конструкции Ф. Уиттла (Великобритания). Большое значение для создания Р. д. имели теоретические работы русских учёных С. С. Неждановского, И. В. Мещерского, Н. Е. Жуковского, труды французского учёного Р. Эно-Пельтри, немецкого учёного Г. Оберта. Важным вкладом в создание ВРД была работа советского учёного Б. С. Стечкина "Теория воздушно-реактивного двигателя", опубликованная в 1929. Р. д. имеют различное назначение и область их применения постоянно расширяется. Наиболее широко Р. д. используются на летательных аппаратах различных типов. Турбореактивными двигателями и двухконтурными турбореактивными двигателями оснащено большинство военных и гражданских самолётов во всём мире, их применяют на вертолётах. Эти Р. д. пригодны для полётов как с дозвуковыми, так и со сверхзвуковыми скоростями; их устанавливают также на самолётах-снарядах, сверхзвуковые турбореактивные двигатели могут использоваться на первых ступенях воздушно-космических самолётов. Прямоточные воздушно-реактивные двигатели устанавливают на зенитных управляемых ракетах, крылатых ракетах, сверхзвуковых истребителях-перехватчиках. Дозвуковые прямоточные двигатели применяются на вертолётах (устанавливаются на концах лопастей несущего винта). Пульсирующие воздушно-реактивные двигатели имеют небольшую тягу и предназначаются лишь для летательных аппаратов с дозвуковой скоростью. Во время 2-й мировой войны 1939-45 этими двигателями были оснащены самолёты-снаряды ФАУ-1. РД в большинстве случаев используются на высокоскоростных летательных аппаратах. Жидкостные ракетные двигатели применяются на ракетах-носителях космических летательных аппаратов и космических аппаратах в качестве маршевых, тормозных и управляющих двигателей, а также на управляемых баллистических ракетах. Твёрдотопливные ракетные двигатели используют в баллистических, зенитных, противотанковых и др. ракетах военного назначения, а также на ракетах-носителях и космических летательных аппаратах. Небольшие твёрдотопливные двигатели применяются в качестве ускорителей при взлёте самолётов. Электрические ракетные двигатели и ядерные ракетные двигатели могут использоваться на космических летательных аппаратах. Основные характеристики Р. д.: реактивная тяга, удельный импульс - отношение тяги двигателя к массе ракетного топлива (рабочего тела), расходуемого в 1 сек, или идентичная характеристика - удельный расход топлива (количество топлива, расходуемого за 1 сек на 1 н развиваемой Р. д. тяги), удельная масса двигателя (масса Р. д. в рабочем состоянии, приходящаяся на единицу развиваемой им тяги). Для многих типов Р. д. важными характеристиками являются габариты и ресурс. Тяга - сила, с которой Р. д. воздействует на аппарат, оснащенный этим Р. д., - определяется по формуле P = mWc+ Fc(pc - pn), где m - массовый расход (расход массы) рабочего тела за 1 сек; Wc - скорость рабочего тела в сечении сопла; Fc - площадь выходного сечения сопла; pc - давление газов в сечении сопла; pn - давление окружающей среды (обычно атмосферное давление). Как видно из формулы, тяга Р. д. зависит от давления окружающей среды. Она больше всего в пустоте и меньше всего в наиболее плотных слоях атмосферы, т. е. изменяется в зависимости от высоты полёта аппарата, оснащенного Р. д., над уровнем моря, если речь идёт о полёте в атмосфере Земли. Удельный импульс Р. д. прямо пропорционален скорости истечения рабочего тела из сопла. Скорость же истечения увеличивается с ростом температуры истекающего рабочего тела и уменьшением молекулярной массы топлива (чем меньше молекулярная масса топлива, тем больше объём газов, образующихся при его сгорании, и, следовательно, скорость их истечения). Тяга существующих Р. д. колеблется в очень широких пределах - от долей гс у электрических до сотен тс у жидкостных и твёрдотопливных ракетных двигателей. Р. д. малой тяги применяются главным образом в системах стабилизации и управления летательных аппаратов. В космосе, где силы тяготения ощущаются слабо и практически нет среды, сопротивление которой приходилось бы преодолевать, они могут использоваться и для разгона. РД с максимальной тягой необходимы для запуска ракет на большие дальность и высоту и особенно для вывода летательных аппаратов в космос, т. е. для разгона их до первой космической скорости. Такие двигатели потребляют очень большое количество топлива; они работают обычно очень короткое время, разгоняя ракеты до заданной скорости. Максимальная тяга ВРД достигает 28 тс (1974). Эти Р. д., использующие в качестве основного компонента рабочего тела окружающий воздух, значительно экономичнее. ВРД могут работать непрерывно в течение многих часов, что делает их удобными для использования в авиации. Реактивное оружие.
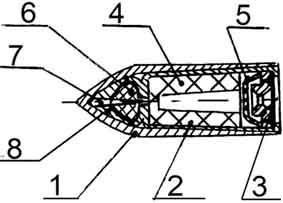
Личное реактивное оружие было разработано в США еще в 1970-х годах. Автоматический многозарядный пистолет получил название "Жироджет" и имеет калибр 13 мм. Его пуля представляет собой миниатюрную ракету, в донной части которой вокруг капсюля-воспламенителя располагаются 4 реактивных сопла, а в корпусе пули запрессована шашка твердого ракетного топлива. При выстреле капсюль накалывается на боек и воспламеняет реактивный заряд твердого топлива, под действием реактивной силы пуля по направляющим вылетает из ствола, попутно вновь взводя курок. Сопла располагаются под некоторым углом к оси пули, поэтому пуля закручивается вокруг своей оси, и таким образом происходит стабилизация ее в полете. Выстрел из реактивного пистолета почти бесшумен. Отдача практически отсутствует, что могло бы повысить кучнобойность оружия, однако реактивная пуля, испытывая сильное сопротивление воздуха (из-за большого диаметра), быстро теряет скорость. Еще одной причиной, по которой не происходит улучшение целевых характеристик, является уменьшение массы пули за счет выгорания реактивного заряда. Кроме того, по мнению автора, реактивная пуля не может набрать полной скорости сразу после покидания направляющих (по вылету из ствола), а поэтому, как на самых малых, так и на больших дистанциях, реактивный пистолет малоэффективен. Автором был разработан реактивный пистолет, призванный уменьшить основной недостаток "Жироджет", а именно быструю потерю скорости пули. Усовершенствованный неавтоматический самовзводный пистолет имеет сменную обойму на 7 реактивных патронов калибра 14 мм. В рамке 1 с помощью винта 2 закреплен кожух 3, удерживающий ствол-направляющую 4, фиксирующуюся в выбранном положении (предохранение-огонь) фиксатором 5 с пружиной 6. В приливе ствола расположен выбрасыватель 7 с пружиной 8. Ударно-спусковой механизм состоит из шептала 9 с пружиной 10, толкателя 11 с пружиной 12, спускового крючка 13 с пружиной 14, ударника 15 с отбойной пружиной 16, ударной тяги 17, бойка 18, промежуточного бойка 19 и боевой пружины 20. В магазине 21 расположен подаватель 22, промежуточный подаватель 23, пружина подавателя 24 и промежуточного подавателя 25. Удерживается магазин в шахте с помощью оригинальной двойной защелки. В пистолете применена пуля шрапнельного типа. Состоит она из двух частей, имеющих возможность движения относительно друг друга, но только при приложении значительных нагрузок. В тыльной части первичной пули 2 размещен заряд твердого топлива 4 и сопловый блок 3 с центральным реактивным соплом и кольцевым воспламенителем 5. В передней части размещен заряд метательного ВВ 6 и вторичная пуля 7. Передняя стенка первичной пули имеет передаточное отверстие. Если встреча пули с преградой происходит до полного выгорания реактивного топлива, задняя часть, продолжая двигаться относительно затормозившейся передней, набегает на хвостовик вторичной пули, в результате чего, форс пламени догоревшего реактивного топлива не передается через закрывшееся передаточное отверстие, и пуля действует исключительно приобретенной кинетической энергией реактивного ускорения. В случае когда дистанция превышает 20 .30 метров, выгоревший полностью реактивный заряд передает луч огня через передаточное отверстие к метательному ВВ, которое выбрасывает вперед вторичную пулю. Таким образом, пуля получает новый импульс ускорения и приобретает дополнительную энергию, что сопровождается сбросом части массы. Как и у прототипа, выстрел из предлагаемого пистолета практически бесшумен, а отдача ничтожна, хотя оружие и приобретает небольшой импульс из-за динамического удара истекающих из сопла газов. Пистолет имеет самовзводный ударно-спусковой механизм и заряжается при помощи сменных обойм. Предусмотрена возможность быстро удалить пулю с несработавшим капсюлем и продолжить стрельбу. |

Автором был разработан реактивный пистолет, призванный уменьшить основной недостаток "Жироджет", а именно быструю потерю скорости пули. Усовершенствованный неавтоматический самовзводный пистолет имеет сменную обойму на 7 реактивных патронов калибра 14 мм. В рамке 1 с помощью винта 2 закреплен кожух 3, удерживающий ствол-направляющую 4, фиксирующуюся в выбранном положении (предохранение-огонь) фиксатором 5 с пружиной 6. В приливе ствола расположен выбрасыватель 7 с пружиной 8. Ударно-спусковой механизм состоит из шептала 9 с пружиной 10, толкателя 11 с пружиной 12, спускового крючка 13 с пружиной 14, ударника 15 с отбойной пружиной 16, ударной тяги 17, бойка 18, промежуточного бойка 19 и боевой пружины 20. В магазине 21 расположен подаватель 22, промежуточный подаватель 23, пружина подавателя 24 и промежуточного подавателя 25. Удерживается магазин в шахте с помощью оригинальной двойной защелки.
В пистолете применена пуля шрапнельного типа. Состоит она из двух частей, имеющих возможность движения относительно друг друга, но только при приложении значительных нагрузок. В тыльной части первичной пули 2 размещен заряд твердого топлива 4 и сопловый блок 3 с центральным реактивным соплом и кольцевым воспламенителем 5. В передней части размещен заряд метательного ВВ 6 и вторичная пуля 7. Передняя стенка первичной пули имеет передаточное отверстие. Если встреча пули с преградой происходит до полного выгорания реактивного топлива, задняя часть, продолжая двигаться относительно затормозившейся передней, набегает на хвостовик вторичной пули, в результате чего, форс пламени догоревшего реактивного топлива не передается через закрывшееся передаточное отверстие, и пуля действует исключительно приобретенной кинетической энергией реактивного ускорения. В случае когда дистанция превышает 20 .30 метров, выгоревший полностью реактивный заряд передает луч огня через передаточное отверстие к метательному ВВ, которое выбрасывает вперед вторичную пулю. Таким образом, пуля получает новый импульс ускорения и приобретает дополнительную энергию, что сопровождается сбросом части массы. Как и у прототипа, выстрел из предлагаемого пистолета практически бесшумен, а отдача ничтожна, хотя оружие и приобретает небольшой импульс из-за динамического удара истекающих из сопла газов. Пистолет имеет самовзводный ударно-спусковой механизм и заряжается при помощи сменных обойм. Предусмотрена возможность быстро удалить пулю с несработавшим капсюлем и продолжить стрельбу.