Технология строительства газопроводаРефераты >> Технология >> Технология строительства газопровода
1.Исходные данные.
- Строительство участка газопровода с пересечением железной дороги;
- Условия строительства – полевые;
- Трубы - стальные электросварные по ГОСТ 8696-74 -
219´5,0мм, масса 1м трубы 26,7кг, длина трубы 10м [5-стр.10, табл.1.7.]; - Протяжённость газопровода 1,1 км;
- Грунт – суглинок;
- Глубина заложения на начальном пикете 1,5 м;
- Время строительства – лето;
- Район строительства – Барнаул;
- Газопровод среднего давления.
2. Физико-механические свойства грунта.
В строительном производстве грунтами называют породы, залегающие в верхних слоях земной коры.
Суглинок - грунт, содержащий глинистые частицы от 10 до 30%, песчаных частиц в суглинке больше, а пылеватых меньше, чем глинистых.
По ЕНиР 2-1 или по табл. 1 определяют физико-механические свойства грунта:
- Группа грунта в завис-ти от трудности его разработки: I-VI.
- Плотность грунта при естественном залегании:
, т/м3. - Крутизна временного откоса: 1:m.
- Коэффициент первоначального разрыхления: Кпр. (1)
- Коэффициент остаточного разрыхления: Кор. (1)
|
Физико-механические свойства грунтов |
Таблица 1 | ||||||
|
1: m, м/м | |||||||
|
Вид грунта |
|
глубина траншеи, м |
Кпр, % |
Кор, % | |||
|
до 1 |
до1,5 |
до 3 | |||||
|
Суглинок |
1,7 -1,9 |
1:0 |
1:0 |
1:0,5 |
18 - 24 |
3 - 6 | |
3. Земляные работы
3.1. Определение объемов земляных работ.
3.1.1. Срезка растительного слоя
Подсчет объемов работ по срезке растительного слоя:
, где А – длина строительной площадки (траншеи); В – ширина строительной площадки.
3.1.2. Предварительная планировка строительной площадки
Срезка излишков грунта и засыпка впадин производится «на глаз», в результате создаётся относительно ровная поверхность без заданных отметок.
3.1.3. Разработка траншеи
1.
Подсчет объемов по разработке траншеи.
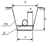
а) Ширина траншеи по низу:
Для труб ![]()
219Х5,0 мм:
где
- расстояние от трубы до траншеи понизу, м. При d < 0,7 м
= d + 0,3 м; при d > 0,7 м a = d + 0,7 м;
d - диаметр трубы газопровода, м.
б) Ширина траншеи по верху:
где h – высота траншеи;
m – величина временного откоса.
в) Объем траншеи:
г) Объем трубы газопровода:
д) Объем траншеи под приямки для сварки труб:
е) Суммарный объем траншеи:
3.1.4 Объем грунта по ручной доработке (подчистки) траншеи

где hн = 0,05 .0,2 м - глубина слоя по ручной доработке траншеи. (СНиП 3-4-80)
3.1.5 Объем грунта по обратной засыпке
а) Ручная засыпка (подбивка пазух)
Ширина подбивки пазух поверху:

Площадь подбивки:
Объем подбивки траншеи:
Объем подбивки пазух:
б) Механизированная засыпка
Объем обратной засыпки:

в) Устройство кавальера.
При устройстве кавальеров для обратной засыпки, объем грунта в кавальере рассчитывается по формуле:
где
- коэффициент первоначального разрыхления грунта для суглинка
=1,2 [2-стр.209]
Площадь поперечного сечения кавальера рассчитывается по формуле:
, [1-стр.19]
Fтр –площадь поперечного сечения траншеи
