Перегрузочные комплексы для навалочных и наливных грузовРефераты >> Технология >> Перегрузочные комплексы для навалочных и наливных грузов
Характеристики насосов зависят от вязкости перекачиваемой жидкости, поэтому при выборе насосов и эксплуатационных расчетах необходимо перерасчитывать паспортные характеристики насосов для воды на характеристики для вязких нефтепродуктов. При разгрузке судов насосная располагается на причале (на рабочей платформе). Для разгрузки судов насосы устанавливают в отдельном здании.
В настоящее время выгрузка нефтепродуктов из танкеров в большинстве случаев производится с помощью судовых насосов, имеющих высокую подачу (500т/ч и более). Если резервуары расположены намного выше судна, то подача груза может производится самотеком (рис. 19).
Рис.19 Схема загрузки судна нефтепродуктами самотеком:
1-береговые емкости, 2-трубопровод, 3-гибкие шланги, 4-понтон, 5-судно, 6-задвижки.
Трубопроводы вне зданий чаще всего укладывают под землей, а для продуктов, требующих подогрева, — в специальных траншеях вместе с паровой линией.
Оборудование перевалочных баз для перегрузки сжиженного газа, пищевых жиров, растительного масла, вин не отличается от оборудования нефтебаз и нефтегаваней. При транспортировании сжиженного газа перевалочная база должна иметь установки для его рефрижерации.
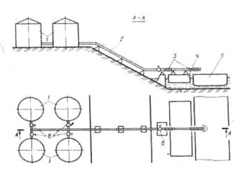
Для обработки железнодорожных цистерн (рис.20) используются специальные эстакады с гибкими шлангами, прикрепленными к стандартным поворотным трубам, которые устанавливаются вдоль железнодорожного фронта на расстоянии около 4 м друг от друга и питаются от основного продольного трубопровода. Для слива груза из цистерны могут использоваться переносные сливные лотки, по которому груз попадает в сливные желоба и подается в промежуточный резервуар, из которого производится насосная перекачка.
Загрузка наливных грузов в железнодорожные цистерны осуществляется через верхние колпаки, а слив — через нижние сливные отверстия самотеком или через верхние колпаки с помощью насосов. Для слива вязких и застывающих грузов станции слива оборудуются внешними системами обогрева (тепловые туннели, циркуляционные методы обогрева и др.).
Рис.20. Устройства для загрузки и разгрузки железнодорожных цистерн:
1-откидной мостик, 2-сливной лоток, 3-сливной желоб
В традиционных цистернах, оснащенных нагревательными трубопроводами, чувствительный груз нередко страдает от перегрева или неравномерного нагрева. При длительном разогреве паром груз в верхней части котла может остаться вязким и препятствовать сливу. Избежать этого можно использованием специальной цистерны, оборудованной теплообменником, устанавливаемым внутри кота цистерны в его нижней части и обеспечивающим равномерный обогрев груза за счет процесса конвекции теплоты, вызывающего движение (вращение) груза в котле. При этом время слива вязких грузов сокращается вдвое по сравнению с традиционными методами.
Особенности устройства наливных судов обусловили создание специфических типов причалов как по очертаниям в плане, так и по конструктивным особенностям. Они могут быть в виде пирсов различной конфигурации, расположенных параллельно, перпендикулярно или под углом к берегу, в виде рейдовых причалов (плавучих, стационарных и комбинированных) или набережных. Наиболее часто нефтепричалы выполняются в виде узких пирсов.
Причальное сооружение состоит из следующих основных элементов: рабочей платформы (причальная часть) для размещения всего перегрузочного оборудования причала; причальных отбойных палов, служащих для гашения инерции судна и закрепления швартовных концов; швартовных палов для закрепления швартовых; переходных мостиков для соединения палов с рабочей платформой.
Оборудование причала включает: ответвления грузовых трубопроводов, оканчивающихся коллекторами с приемно-отпускными патрубками; устройства для соединения береговых и судовых трубопроводов; систему дистанционного централизованного управления задвижками с дублирующими пунктами непосредственного управления; устройство для учета наливных в танкер и сливаемых с танкера продуктов, а также ответвления вспомогательных трубопроводов и прочие устройства для вспомогательных операций (погрузки бункерного топлива и смазочных масел, приема балластных вод и др.).
Причалы могут быть оборудованы береговыми или плавучими перекачивающими станциями. Известно, что возведение глубоководных причальных сооружений и подходов к ним в прибрежной мелководной зоне моря связано с большими капитальными затратами, поэтому в последнее время все шире применяют способы переработки грузов (особенно нефти) в рейдовых условиях с использованием рейдовых причалов.
Рейдовые причалы являются наиболее дешевыми и быстровозводимыми причальными сооружениями. По конструктивным признакам их делят на плавучие (одно- и многоточечные), стационарные и комбинированные. К их достоинствам можно отнести: незначительные затраты средств и времени на оборудование; возможность приема танкеров с большой осадкой; малая опасность возникновения пожара; небольшие расходы на эксплуатацию и т. п.
Недостатками рейдовых причалов являются: сложность перегрузочных работ при значительных волнении моря и ветре; недостаточная гибкость перегрузочной системы; затруднения в случае налива (слива) нескольких видов продуктов; трудности в снабжении судов продовольствием, водой и др.; простои, вызванные необходимостью в случае штормовой погоды уходить в открытое море; уязвимость подводного трубопровода, раздаточного устройства, швартовных бочек и т. д.
![]() |
Рис.21 Точечный рейдовый причал
1-швартовая бочка, 2-швартовый канат, 3 – судно, 4-грузовой шланг, 5-якорные тросы, 6-соединительный шланг бочка-трубопровод, 7-подводный нефтепровод.
В последнее время для создания в открытом море портов, обслуживающих главным образом морские месторождения нефти или крупные промышленные комплексы по ее переработке, создаются порты на искусственных островах. Анализ современных и перспективных условий обработки наливных судов указывает основные пути повышения интенсивности операций налива (слива) нефти: увеличение числа одновременно действующих грузовых линий: увеличение диаметра трубопроводов и скорости протекания наличных грузов; увеличение мощности и степени использования насосных установок; максимально возможная автоматизация судовых и береговых устройств, участвующих в обработке танкера.

