Методичка по центровке валовРефераты >> Технология >> Методичка по центровке валов
6. ПОРЯДОК ВЫПОЛНЕНИЯ РАБОТЫ
Лабораторную работу рекомендуется выполнять в такой последовательности.
1. Изучите настоящие методические указания и ознакомьтесь с устройством и работой лабораторной установки.
2. При помощи линейки выполните предварительную центровку валов газодувки по полумуфтам.
3. По формулам (23) и данным таблицы I рассчитайте предельно допустимые отклонения для вала двигателя газодувки. 4. Закрепите на полумуфты центровочные скобы и установите в них индикаторы перемещения часового типа. Стрелки индикаторов поставьте на нулевые отметки шкал.
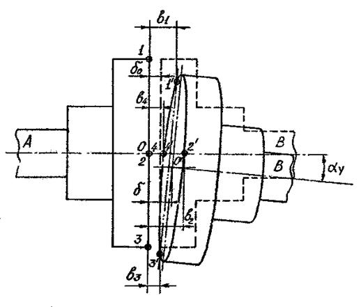
4. Произведите замеры относительного смещения полумуфт в четырёх положениях муфты. По результатам замеров смещений полумуфт составьте круговую диаграмму ( см. рис. 5б).
5. По формулам (9) – (16) рассчитаете линейные и угловые отклонения вала. Результаты расчёта сравните с предельно допустимыми отклонениями и сделайте вывод о необходимости корректировки положения вала.
6. Рассчитайте корректирующие перемещения электродвигателя в горизонтальной и вертикальной плоскостях (см. формулы (17) – (22).
7. Произведите корректировку пространственного положения привода при помощи подкладок (в вертикальной плоскости) и отжимных винтов (в горизонтальной плоскости). Зафиксируйте новое положение привода путём затяжки болтов, расположенных на лапах электродвигателя.
8. Выполните контроль точности сопряжения валов газодувки: измерьте относительные смещения полумуфт в четырех положениях муфты; построите круговую диаграмму; рассчитайте отклонения вала и сравните их с предельно допустимыми отклонениями; сделайте вывод о необходимости продолжения операции центровки.
9. В случае положительного результата операции центровки проведите испытание газодувки (на правильность сопряжения валов машины) путём пробного пуска. У правильно собранной машины вибрация конструкции и уровень шума должны быть незначительными.
10. Оформите отчет по работе и защитите его у преподавателя.
7. СОДЕРЖАНИЕ ОТЧЁТА
Отчет по лабораторной работе должен включать следующие сведения.
1. Формулировку цели работы.
2. Описание лабораторной установки.
3. Описание операции центровки осей валов по полумуфтам при помощи центровочных скоб и индикаторов перемещения часового типа.
4. Круговые диаграммы осевых и радиальных смещений полумуфт до и после центровки машины.
5. Расчеты предельно допустимых и фактических линейных и угловых отклонений оси вала электродвигателя относительно оси вала рабочей части газодувки.
6. Расчёты корректирующих перемещений привода газодувки.
7. Заключение о качестве центровки машины и ее пригодности для эксплуатации.
КОНТРОЛЬНЫЕ ВОПРОСЫ
1. Дайте определение понятиям "центровка машины, агрегата" и "центровка осей валов".
2. Перечислите и охарактеризуйте виды дефектов сопряжения осей валов.
3. Объясните принцип центровки оcей валов по полумуфтам, а также ограничения, имеющие место при выполнении этой операции.
4. Объясните отличительные особенности центровки, основанной на измерении зазоров между полумуфтами, от центровки, основанной на измерении относительных смещений полумуфт, возникающих при повороте муфты.
5. Из каких этапов складывается операция центровки? Раскройте содержание и задачи каждого этапа.
6. Объясните, что понимается под качеством центровки? Сформулируйте условие достаточности точности центровки.
7. От каких факторов зависят предельно допустимые отклонения осей валов? Как они определяются?
8. Как определяются корректирующие перемещения подвижной части машины?
СПИСОК РЕКОМЕНДУЕМОЙ ЛИТЕРАТУРЫ
1. Гайдамак К. М., Наумов В.Г. Монтаж оборудования химических предприятий. М.: Стройиздат, 1967. 278 с.
2. Киселев Г. Ф., Мыслицкий Е. И. Техническое обслуживание и ремонт центробежных компрессорных машин. М.: Химия, 1979,127 с.
3. Монтаж технологического оборудования: Справочник. М.: Стройиздат,. Т. 1,П, 1976.
4. Демат М. П., Маршев В. З., Эльяш М. Л. Монтаж оборудования предприятий нефтяной и химической промышленности. М.: Высшая школа, 1969, 284 с.
а) дефекты центровки валов отсутствует
б) Δ = δ - δ0 – осевое отклонение вала В
в) е – поперечное (радиальное) отклонение вала В
г) α – угловое отклонение вала В
д) сложное (комбинированное) отклонение вала В
Рис. 1. Виды дефектов сопряжения валов
Рис. 2. Взаимное положение полумуфт при сложном отклонении вала от проектного положения и схема выполнения замеров осевых и радиальных зазоров
Рис. 3. Схема лабораторной установки
Рис. 4. Центровка осей валов по полумуфтам при помощи линейки.
Элементы: 1 - линейка; 2 - полумуфта базовой части машины; 3 – полумуфта регулируемой части машины
Рис. 5. а – схема зазоров смещений; б – круговая диаграмма
Рис. 6. Конструкция отжимных винтов: а – стационарного; б – съёмного.
Элементы: 1 – лапа электродвигателя; 2 – упор; 3 – регулировочный винт; 4 – гайка стопорная; 5 – струбцина
