Получение изделий литьем металловРефераты >> Технология >> Получение изделий литьем металлов
Формовочная смесь состоит из связки - жидкой композиции и огнеупорной составляющей - наполнителя. Наполнителем являются мелкозерничтые кварцевые пески и феррохромовый шлак. В жидкую композицию входит жидкое стекло, поверхностно-активные вещества и вода.
Для приготовления формовочной смеси - ЖСС - используют специальные установ`ки (рис.4. 1).
Рис. 4. 1 Схема получения оболочки бункерным способом.
Сначала в растворомешалке тщательно перемешивают песок и шлак в течение 1-1,5 мин, затем - жидкая композиция и производят перемешивание 1,5-2 мин. При этом образуется пенообразная масса, имеющая жидкотекучесть.
Модели и стержневые ящики изготовляют из дерева и металла. Поверхность деревянных моделей и стержневых ящиков покрывают нитрошпаклевкой и затем красят нитрокраской, так как ЖСС обладает повышенной прилипаемостью к дереву.
Изготовление форм и стержней длится несколько секунд путем подачи под действием собственной массы ЖСС на модель или в стержневой ящик. Для их легкого отделения от застывшей формы модели и подмодельные плиты покрывают разделительным покрытием. Изготовление формы занимает несколько секунд. Затем форму подвергают сушке.
Дальнейшие операции: сборки и заливки формы и другие делают также как и при литье в песчано-глинистые формы. Так как заливку металла осуществляют в сухую форму, теплопроводность которой меньше чем теплопроводность сырой формы, то можно получать более тонкие стенки.
Применение способа. Способ применяют для изготовления больших корпусов приборов из чугуна и алюминиевых сплавов с толщиной стенки 4 .6 мм, точностью 14 .16 квалитета, шероховатостью поверхности Rz =80 .40 мкм,
Процесс мощно легко механизировать в автоматизировать.
2. Литье в оболочковые формы.
Этот способ является, как и предыдущие, способом литья в разовые формы. Для изготовления тонких оболочковых форм нужно в 20-30 раз меньше формовочных материалов, чем для песчаных или форм из ЖСС. Способ применяют для стальных, и для алюминиевых отливок, простой конфигурации без внутренних полостей в серийном производстве.
Формовочная смесь состоит из мелкозернистого песка (размер зерна 0,25 .0,06мм) и термореактивной смолы - пульвербакелита.
Способ обеспечивает получение шероховатости поверхности Rz =80 .40 мкм, и точность - 12 .14 квалитет. Способ легко можно механизировать и автоматизировать.
Применяют следующие способы:
-бункерный;
-прессования через резиновую диафрагму;
-пескодувный.
В основе бункерного способа положен принцип поворотного бункера
Порядок получения оболочки следующий (рис. 4.2).
Рис. 4. 2 Схема получения оболочки бункерным способом.
Нагретую до 200оС и смазанную разделительным слоем (силикововый лак №5) модель закрепляют на съемной крышке бункера, затем бункер поворачивают на 180о и формовочная смесь попадает на модель, пульвербакелит расплавляется и склеивает песчинки, образуя оболочку. Толщина оболочки зависит от времени выдержки формовочной смеси на модели. В течение 15-20 с образуется оболочка толщиной 8-12 мм. Затем бункер поворачивают в исходное положение, нерасплавленная смесь ссыпается вниз, а модель с оболочкой помещают в электропечь с температурой 250-300о С, где происходит окончательная полимеризация пульвербакелита. Наилучшее качество отливок получают при использования вибрации бункера, несколько хуже при прессовании оболочек через резиновую диафрагму.
Полученную оболочку снимают с модели специальными механизированными выталкивателями, встроенными в модельную плиту.
Затем оболочковые полуформы склеивают клеем БФ-2 или №88 в нагретом состоянии, а перед заливкой зажимают пневматическими зажимами с резиновыми амортизаторами или устанавливают в рабочем положении в формовочном ящике с помощью песка или металлической дроби (рис.5).
рис.5. Оболочковая форма перед заливкой металла.
3. Литье в кокиль.
В приборостроении литье в кокиль (кокиль - это металлическая форма, имеющая защитную огнеупорную облицовку на рабочей поверхности) применяют для отливки толстостенных деталей из алюминиевых или магниевых сплавов, реже из чугуна в серийном и массовом производстве.
Экономическая целесообразность кокильного литья зависит от стойкости металлической формы (табл.1)
Таблица 1. Стойкость кокиля в зависимости от его материала и
заливаемого сплава.
|
Сплав |
Температура заливки в оС |
zМатериал кокиля |
Стойкость (количество заливок) |
|
Алюминиевый |
650 .670 |
сталь 25 .35 |
75000 |
|
Магниевый |
670 .700 |
жаропрочный чугун В450-1.5 |
50000 |
|
Чугуны |
1200 .1250 |
жаропрочный чугун В450-1.5 |
3000 |
Для равномерного охлаждения отливки металлическая форма должна иметь стенки постоянной толщины, равной
b=13=0.6отл
где b - толщина стенки кокиля, мм.
dотл - средняя толщина стенки отливки, мм.
На рис.6 представлена конструкция створного кокиля с одной вертикальной плоскостью
разъема.
Рис. 6. Створочный кокиль с вертикальной плоскостью разъема.
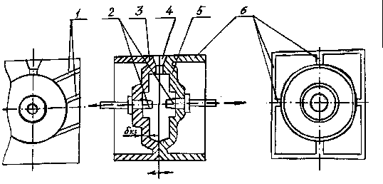
Для предохранения от коробления форма имеет ребра жесткости (рис.7.1).
Рис.7.1 Кокиль с вертикальной плоскостью разъема:
1 - вентиляционные каналы.
2 - металлические стержни.
3,5 - две головки кокиля.
4 - литник.
6 - ребра жесткости.
Отверстия в отливках оформляют металлическим или песчаным стержнями. Металлические стержни применяют для неглубоких отверстий, имеющих конусность 10о. В остальных случаях применяют сухие песчаные стержни. Рекомендуют применять также оболочковые стержни.
В массовом производстве закрытие и открытие кокиля и удаление отливки осуществляют автоматически. Для этого применяют станки с пневматическим или гидравлическим приводом.
Для повышения стойкости кокилей их рабочую поверхность вскрывают после изготовления каждых 50 .100 отливок огнеупорной облицовки толщиной 0,1 0,5 мм (ее состав в %-х для алюминиевых сплавов: окись цинка 5, жидкое стекло - 2, вода - 93).
