Проектирование прокалочной печиРефераты >> Технология >> Проектирование прокалочной печи
Дальнейшая конденсация ароматических структур приводит к образованию сплошной кристаллической решетки кокса.
В самообжигающемся аноде алюминиевого электролизера основные физико-химические превращения можно разделить на несколько стадий, протекающих в основных зонах анода: жидкой фазе, зоне полукокса и зоне кокса.
Жидкая фаза выполняет роль подготовки связующего к коксованию. При малых уровнях жидкой анодной массы и высокой температуре ее поверхности значительная часть газов коксования проходит через верх анода, унося с собой большое количество легкокипящих смол. Это снижает выход кокса из анодной массы, увеличивает ее расход и ухудшает воздушную среду в цехах электролиза. Результаты исследования показывают, что наиболее значительное влияние уровня жидкой фазы наблюдается в пределах 30 см.
Зона полукокса ограничена изотермой (400-460)°С (поверхностью конуса спекания) и изотермой 700°С. В этой зоне выделяется большое количество смол, которые содержат около 86-92% углерода и 4,5-6,5% водорода. Выделение смол наиболее интенсивно в интервале температур 400-500°С. Зона полукокса является наиболее ответственной за поддержание оптимальной скорости коксования анодной массы.
Зона кокса (нижняя зона) ограничена изотермой 700°С и нижней поверхностью анода. При 800-850°С происходит практически полное удаление летучих веществ и заканчивается переход полукокса в кокс. В этой зоне происходят также важные процессы пиролиза газов коксования. [1]
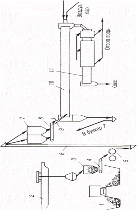
3. Технологическая схема прокалочного отделения ЦАМ
Рис. 1 – Технологическая схема прокалочного отделения ЦАМ
На рис. 1 представлена технологическая схема производства анодной массы для самообжигающихся анодов с системой непрерывного дозирования исходного сырья и смешения анодной массы. Сырьем для производства анодной массы служат каменноугольный пек (связующий материал) и электродный кокс с низким содержанием зольных примесей (наполнитель).
Исходный сырой кокс поступает на склад и по транспортной системе 2-4 подается на первичное дробление к валковой зубчатой дробилке 5. Через систему питания 6-8 кокс подается в прокалочный агрегат 9-10 и далее по системе транспорта прокаленный кокс поступает в бункер запаса 16.
На участке молотковая дробилка 19-грохот 18 проводится I стадия дробления и рассева прокаленного кокса, а на участке валковая дробилка 20-грохот 18 – II стадия. Полученные сортовые фракции кокса поступают в бункера запаса 21. Часть материала (в основном фракция – 1 мм) через питатель 4 направляется в мельницу 27 для размола и получения пыли. После системы аэросепарации 28-32 пыль также направляется в соответствующий сортовой бункер.
С помощью весовых автоматических дозаторов 22 проводится дозировка сортовых фракций (крупки и пыли), которые собираются конвейером 23 и направляются в порошковый подогреватель 24 и далее в смеситель 25.
Так поступает на предприятие в жидком или твердом виде, проходит подготовку на складе пека 33-36 и насосом 37 закачивается в расходный бачок пека 38. Дозатором 22 и пековым насосом 37 пек также подается в смеситель 25.
Через орошаемый водой конвейер 26 и систему транспорта охлажденные брикеты анодной массы поступают на склад готовой продукции. [2]
4. Характеристика сырья и готовой продукции
Для производства анодной массы применяют в основном малозольные углеродистые материалы, а также (в незначительных количествах) отходы электродного и электролизного производств. Сырье для производства анодной массы должно удовлетворять следующим требованиям:
Так как из анодной массы формуют аноды алюминиевых электролизеров, служащие для подвода тока к криолито-глиноземному расплаву, а аноды подвергаются воздействию высокой температуры, окислению отходящими анодными газами и кислородом воздуха, то исходные сырьевые материалы, предназначенные для изготовления анодной массы, должны обладать следующими свойствами: хорошо проводить электрический ток, иметь достаточную механическую прочность, быть инертными к химическому воздействию криолито-глиноземного расплава, не плавиться и не разрушаться при высоких температурах, содержать минимум вредных примесей.
Сырьевые материалы для изготовления анодной массы подразделяются на две группы: твердые углеродистые материалы (коксы) и связующие (пеки). В качестве твердых материалов, которые являются наполнителем или как бы «скелетом» анода, применяют преимущественно пековые и нефтяные коксы. Основным связующим материалом, соединяющим при коксовании все частицы этого «скелета» в монолитную массу, служит каменноугольный пек.
4.1 Электродный кокс
В качестве твердого наполнителя в анодной массе используются пековые и нефтяные электродные коксы.
Пековый кокс является продуктом коксования каменноугольного пека при температуре от 500 до 1100° С. Исходным сырьем служит так называемый высокотемпературный пек с температурой размягчения 120-150°С. Процесс коксования ведут в специальных печах или камерах, при этом выход годного кокса из пека составляет до 65%. Для изготовления анодной массы применяют: кокс пековый электродный, ГОСТ 3213-71 (табл. 1); кокс пековый прокаленный, ГОСТ 5.2158-74.
Нефтяные коксы являются продуктом коксования тяжелых остатков от перегонки нефти. При перегонке нефти путем нагревания вначале выделяются самые легкие фракции – газы, бензины, затем керосины, масла и т.д. Оставшаяся часть (так называемые тяжелые остатки) представляют собой гудроны и смолисто-асфальтеновые вещества. Тяжелые остатки имеют повышенную плотность, высокую температуру кипения, небольшое содержание минеральных примесей и приближаются по своим свойствам к пекам. [2]
Таблица 1. Свойства пекового электродного кокса (по ГОСТ 3213-71)
|
№№ п/п | Показатели |
КПЭ-С с государст- венным знаком качества | КПЭ-1 | КПЭ-2 | КПЭ-2 |
|
1 |
Зольность (Рc), %, не более |
0,25 |
0,30 |
0,30 |
0,50 |
|
2 |
Содержание серы (Sсобщ.), % |
0,25 |
0,30 |
0,70 |
0,70 |
|
3 |
Содержание влаги (Wр), не более |
3,0 |
3,0 |
3,0 |
0,30 |
|
4 |
Выход летучих веществ (Vг), %, не более |
8,0 |
8,0 |
0,8 |
0,8 |
|
5 |
Размер кусков, мм |
>10 |
>10 |
>10 |
>10 |
|
6 |
Содержание кусков размером (10-25) мм, %, не более | 7,0 |
8,0 | 8,0 | 8,0 |
|
7 |
Содержание мелочи <10 мм, %, не более | 2,0 | 2,0 | 2,0 | 2,0 |
|
8 |
Удельное электрическое сопротивление, мкОм·м, не более | 550 |
600 |
600 |
600 |
