Технология изготовления печатных формРефераты >> Технология >> Технология изготовления печатных форм
Введение
Офсет - доминирующий способ печати акцидентной и книжно-журнальной продукции, сейчас его мировая доля составляет 88% по сравнению, например, с 12% глубокой печати.
Столь же сильны позиции офсета при печати различного рода рекламных каталогов (80% по сравнению с 20% глубокой печати). Но когда дело касается изготовления упаковок, этот способ делит лишь одну треть заказов с высокой печатью, а остальное приходится на флексографское производство.
На сегодняшний день, полиграфическое производство, применяющее офсетную печать, по прежнему занимает ведущую позицию на мировом полиграфическом рынке (включая Российский), как способ оптимально сочетающий в себе цену и качество полиграфических оттисков. Дальнейшее развитие офсетного способа печати во многом обусловлено совершенствованием технологии изготовления офсетных печатных форм. Можно выделить несколько основных направлений развития: это, в первую очередь, уменьшение времени изготовления форм, увеличение точности процесса и минимизация влияния субъективных факторов, таких как квалификация оператора и, что немаловажно проведение работ по увеличению экологичности производства. Главным образом решение этих проблем сводится к совершенствованию процесса проявления форм офсетной печати. Основные стадии процесса подготовки издания к печати приведены на рис. 1.
Рис.1 Основные стадии традиционной подготовки издания к печати
Технология изготовления офсетных форм на основе предварительно очувствленных пластин включает следующие операции:
· проявление
· промывку
· гидрофилизацию
· покрытие защитным коллоидом
· сушку
· термическую обработку.
Современные процессоры для изготовления офсетных форм автоматически выполняют все эти операции, одну за другой и строятся по модульному принципу из унифицированных секций, оснащенных автоматическими системами регулирования параметров процесса. Благодаря этому, не только уменьшается продолжительность контакта рабочего с химикатами, но и снижается себестоимость формы, сокращается продолжительность их изготовления, улучшаются эргономические показатели рабочего места, уменьшается расход химикатов и, в конечном счете, повышается качество печатной формы.
Новые процессоры отличаются высокой степенью автоматизации и являются устройствами непрерывного действия. Расход проявляющего раствора и промывной воды сокращен за счет использования замкнутого цикла их действия. Это, в частности, позволяет уменьшить на 98% подачу свежей воды. Однако даже в такой традиционной области, как изготовление офсетных печатных форм, отличающейся высокой стабильностью формных материалов, постоянно появляются новинки, еще больше совершенствуются процессы. Эти усовершенствования касаются как самих формных материалов, так и оборудования для копирования печатных форм и их химической обработки.
Конструкции современных процессоров для обработки печатных форм
Процессоры для обработки офсетных монометаллических форм включают следующие основные узлы:
· устройства для транспортирования пластин
· систему подачи обрабатывающего раствора на пластину
· емкости для размещения обрабатывающих растворов и устройства для поддержания требуемого их объема и концентрации
· термостатирующие устройства, обеспечивающие требуемый температурный режим работы
· емкости питающих растворов.
По принципу термостатирования и расположения форм в процессе обработки, процессоры для изготовления офсетных форм делятся на три типа: с периодическим перемещением форм в секциях вертикального типа с непрерывным перемещением форм посредством валиков в секциях наклонного типа с непрерывным перемещением посредством валиков или рольгангового транспортера в секциях горизонтального типа.
Процессоры первого типа обеспечивают возможность выполнения технологических операций с изменяющейся продолжительностью. Однако это преимущество не существенно при использовании современных предварительно очувствленных форм. К недостаткам относятся значительные потери времени на холостой ход, различные условия обработки в нижней и верхней частях формы.
Процессоры второго типа имеют несколько меньшие габариты по ширине в сравнении с другими. Но расположение форм не соответствует эргономическим требованиям, неудобен визуальный контроль и корректура, различны условия обработки в нижней и верхней частях формы.
Линии третьего типа к настоящему времени получили наибольшее распространение почти полностью вытеснив первые два типа. Равномерность обработки, оптимальные эргономические условия для обслуживающего персонала, модульный принцип, возможность агрегатирования со вспомогательными устройствами являются преимуществами этого типа. Кроме того, у валиков транспортера по сравнению с рольганговым, осуществляется отжим растворов при переходе из секции в секцию, надежность транспортирования форм, возможность применения щеточных валиков.
Рассмотрим несколько устройств последнего типа.
Одним из лидеров в области производства процессоров для обработки офсетных форм является датская фирма Glunz&Jensen. Фирма специализируется на выпуске основном процессоры для обработки фототехнических материалов и офсетных печатных форм.
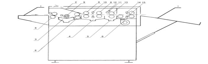
Принципиальная схема одной из разработок этой фирмы - модель Inter Plater 62 изображена на рис.2.
Рис. 2 Принципиальная схема проявочного процессора Inter Plater 62
Машина работает следующим образом.
При укладке офсетной формы на стол загрузки 1 ее захватывают транспортирующие валики 8, которые плавно проводят формы через четыре секции обработки: проявления 3, промывки 4, гуммирования 5 и сушки 6. Направляющая 2 служит для повторного ввода форм в секции 4, 5 и 6. После чего готовая форма выводится на стол разгрузки 7.
В секции проявления форма погружена в раствор проявителя. При этом остающийся на ней неэкспонированный светочувствительный слой удаляется мягким нейлоновым щеточным валиком 9, пригодным для работы со всеми типами форм. Проявляющий раствор в секцию проявления подается циркуляцнонным насосом через фильтр. Ванна секции проявления оборудована нагревателем и термостатом для поддержания необходимой температуры проявителя. Датчик, следящий за уровнем раствора в ванне, включает контрольную лампу уровня проявителя на пульте управления процессом. Насос автоматически добавляет в ванну проявитель из бака. Этот насос также автоматически подает проявитель для компенсации потерь, вызванных его окислением. В случае если обнаружится, что уровень рабочего раствора в ванне ниже установленного, то его можно доливать вручную. Система подачи подкрепляющих растворов автоматически включается при подаче формы в машину.
Количество проявителя, подаваемого для регенерации, может регулироваться в пределах от 0 до 50 мл на одну форму с помощью ручки на задней панели машины.
В секции промывки остатки проявляющего раствора смываются с форм двумя душирующими трубками 10. Вода в эти трубки подается через электромагнитный клапан, который открывается при входе пластины в секцию промывки. Благодаря этому экономится вода. Можно значительно снизить потребление воды, если подсоединить к процессору бак для рециркуляции воды. Этот бак состоит из контейнера на 50 л и встроенного циркуляционного насоса, который прогоняет воду через душирующие трубки секции промывки. При возврате в бак вода фильтруется. С таким баком процессор может работать в помещении без водопровода.
