Технологические измерения и приборыРефераты >> Технология >> Технологические измерения и приборы
1.
. По заданию дано давление безвозвратных потерь
. Исходя из полученного расчета, другие ряды также подходят под это условие.
2.
, где
– граничное число Рейнольдса.
3.Значение модуля
максимально приближено к оптимальному значению
.
4.Ошибка расчета должна составлять
.
В нашем случае
.
Определим основные геометрические размеры диафрагмы:
Выбор сужающего устройства.
Правила РД-50-2/3-80 регламентируют следующие требования к стандартным сужающим устройствам:
1.Конструкция сужающего устройства и способ его крепления должны обеспечить возможность периодического осмотра с целью проверки соответствия сужающего устройства требованиям правил.
2.Измерение перепада давления в сужающем устройстве производится через отдельные цилиндрические отверстия или через две кольцевые камеры.
Рисунок 2 - Диафрагма ДКС 10-80
| |
Сужающее устройство состоит из диафрагмы 1 и камер 4. Также имеются фланцы 2, основной трубопровод 3 и измерительные трубки 5.
Диафрагма должна быть выполнена с высокой точностью, т.к. от точности исполнения, в частности, "острой кромки" диафрагмы зависит число Рейнольдса потока, а это, в свою очередь, влияет на постоянство коэффициента расхода
и т.д. Класс шероховатости диафрагмы со стороны "острой кромки" должен быть равным 6–7. Отбор давления производится через патрубки.
Для обеспечения точных измерений при помощи СУ, недостаточно рассчитать его с высокой точностью. Необходимо также соблюдать требования, предъявляемые к установке сужающего устройства:
1.Сужающее устройство должно быть установлено на прямом участке трубы. На этих участках не допускается установка запорной арматуры, недопустимы повороты трубы.
2.Строгое соблюдение соосности между трубопроводом и СУ.
3.На данном участке у трубопровода не должно быть местных сопротивлений.
4.Располагать СУ относительно дифманометра-расходомера в соответствии с нормативной документацией.
5.Отбор перепада давления выполняется в местах, в зависимости от измеряемой среды.
1.Конструкция сужающего устройства и способ его крепления должны обеспечить возможность периодического осмотра с целью проверки соответствия сужающего устройства требованиям правил.
2.Измерение перепада давления в сужающем устройстве производится через отдельные цилиндрические отверстия или через две кольцевые камеры.
3.Диафрагма должна быть выполнена с высокой точностью, т.к. от точности исполнения, в частности, "острой кромки" диафрагмы зависит число Рейнольдса потока, а это, в свою очередь, влияет на постоянство коэффициента расхода
и т.д.
4.Класс шероховатости диафрагмы со стороны "острой кромки" должен быть равным 6–7.
5.Отбор давления производится через патрубки.
В качестве сужающего устройства будем использовать камерную диафрагму ДКС-10-80 (ГОСТ 26969-86) которая изображена на чертеже (лист1). Размеры диафрагмы выбираем согласно условному проходу и условному давлению согласно ГОСТу. Для установки диафрагмы на трубопроводе используются фланцы ГОСТ 12820-80. Диафрагма должна устанавливаться на прямых участках трубопровода, на котором на должно быть местных сопротивлений. Должна быть соблюдена строгая соосность между трубопроводом и сужающим устройством. При установке сужающего устройства в соответствии с этими требованиями достигается высокая точность измерений.
Выбор и описание работы расходомерного комплекта
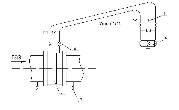
При измерении расхода природного газа, в соответствии с заданием на курсовую работу, следует установить дифманометр 4 выше сужающего устройства 1. Необходимо выполнить уклон 1:10 на всем продолжении горизонтальных участков импульсной линии в сторону отборного устройства. Для продувки системы на импульсных линиях устанавливаются продувочные вентили 3. Продувочные вентили устанавливаются также во всех наивысших точках соединительных линий в случае невозможности выполнения одностороннего уклона. Прекратить отбор давления можно либо при помощи вентилей 2, либо при помощи уравнительного вентиля, если он есть.
Рисунок 3 - Расположение дифманометра относительно сужающего устройства.
Из условия задания на курсовой проект (измерение расхода природного газа с коррекцией по давлению) следует, что в качестве первичных преобразователей применяются дифференциальный манометр-расходомер Сапфир-22М-ДД и манометр Сапфир-22М-ДИ, с которых сигнал идёт на микроконтроллер, а с него – на вторичный прибор ДИСК-250.
С Сапфира-22М-ДД будет поступать сигнал об изменении расхода, а с Сапфира-22М-ДИ – об изменении давления. Следовательно формула расчёта расхода сухого газа примет вид:
или
.
В случае влажного газа:
или
.
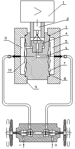
Устройство и работа Сапфир-22М-ДД
Манометры дифференциальные «Сапфир» предназначены для работы в системах автоматического контроля, регулирования и управления технологическими процессами и обеспечивают непрерывное преобразование значения разности давлений среды в унифицированный токовый выходной сигнал дистанционной передачи.
Принцип действия дифманометра основан на использовании деформации чувствительного элемента прибора под воздействием на него перепадом давления.
Рисунок 4 - Сапфир-22М-ДД
Датчик состоит из преобразователя давления (в дальнейшем – измерительный блок) и электронного преобразователя.
Измеряемый параметр подается в камеру измерительного блока и вызывает деформацию чувствительного элемента мембраны. Деформация мембраны передается тензопреобразователю и вызывает изменение сопротивления его тензорезисторов, соединенных в мостовую схему. Изменение сопротивлений приводит к разбалансу мостовой схемы. Электрический сигнал, возникающий при разбалансе мостовой схемы, поступает в электронный преобразователь и преобразуется в токовый выходной сигнал, пропорциональный величине измеряемого параметра.
