Электроснабжение и электрооборудование электромеханического цеха металлургического заводаРефераты >> Технология >> Электроснабжение и электрооборудование электромеханического цеха металлургического завода
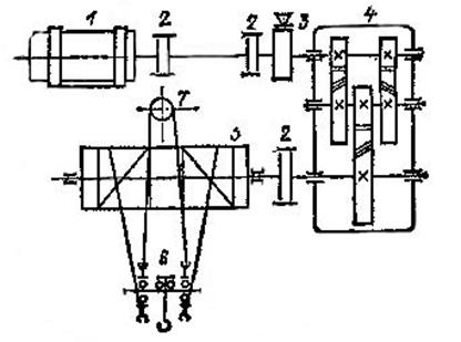
Типичная кинематическая схема механизма подъема крана приведена на рисунке 4.2
Рисунок 4.2 - Кинематическая схема механизма подъема главного крюка: 1 - двигатель; 2 - муфта; 3 - тормоз; 4 - редук -тор; 5 - барабан; 6 - полиспаст; 7 - неподвижный блок полис - пасты.
К основным параметрам механизма подъёма относятся: грузоподъемность, скорость подъема крюка, режим работы, высота подъема грузозахватного устройства.
Номинальная грузоподъемность - масса номинального груза на крюке или захватном устройстве, поднимаемого грузоподъемной машиной.
Скорость подъема крюка выбирают в зависимости от требований технологического процесса, в котором участвует данная грузоподъемная машина, характера работы, типа машины и ее производительности.
Режим работы грузоподъемных машин цикличен. Цикл состоит из перемещения груза по заданной траектории и возврата в исходное положение для нового цикла.
Для данного мостового крана рекомендуемые режимные группы:
5К - группа режима работы крана;
4М - группа режима работы механизма подъема.
На крановых установках допускается применять рабочее напряжение до 500 В, поэтому крановые механизмы снабжают электрооборудованием на напряжения 220, 380, 500 В переменного тока и 220, 440 В постоянного тока. В схеме управления предусматривают максимальную защиту, отключающую двигатель при перегрузке и коротком замыкании. Нулевая защита исключает самозапуск двигателей при подаче напряжения после перерыва в электроснабжении. Для безопасного обслуживания электрооборудования, находящегося на ферме моста, устанавливают, блокировочные контакты на люке и двери кабины. При открывании люка или двери напряжение с электрооборудования снимается.
Правилами Госгортехнадзора предусматривается четыре режима работы механизмов: лёгкий - Л, средний - С, тяжёлый - Т, весьма тяжёлый - ВТ.
Определяем режим работы крана: Проектируемый мостовой кран работает в среднем режиме с ПВ40.
Исходными данными проектирования являются физические и геометрические параметры механизма подъема мостового крана, а также размеры помещения цеха, в котором расположен кран. Исходные данные представлены в таблице 6 в п.6.
V. Разработка схемы управления мостового крана.
Целью данного расчета является выбор магнитного контроллера переменного тока, в соответствии с его выбором определяются сопротивления и токи ступеней для электропривода механизма передвижения тележки мостового крана.
Исходными данными являются технические характеристики выбранного электродвигателя в пункте 5.
Базисный момент, Нм:
М100% = 9550 ∙
М100% = 9550 ∙
=649,5 Нм.
Определяем расчетный ток резистора, А:
I100% =
где Iн - номинальный ток ротора, А;
Рн - номинальная мощность электродвигателя, кВт;
nн - номинальная частота вращения, об/мин.
I100%=
= 103,15 А.
6.3 Определяем номинальное сопротивление резистора, в Ом:
Rн =
(6.3)
где Ерн - напряжение между кольцами ротора, В.
Rн =
= 1,9 Ом.
Согласно Ю.В. Алексееву и А.П. Богословскому для магнитного контроллера ТСАЗ160 с защитой на переменном токе находим разбивку ступеней сопротивлений и определяем сопротивление каждого резистора (в одной фазе):
R = Rном. ∙
Обозначение ступени Rступ,% R ,Ом
Р1 - Р4 5 0,095
Р4 - Р7 10 0,19
Р71 - Р10 20 0,38
Р10 - Р13 27 0,513
Р13 - Р16 76 1,444
Р16 - Р19 72 1,368
Общее 210 3,99
Находим расчетную мощность резистора (в трех фа -зах), кВт:
Рр =
Определяем параметры для условий режима С:
Частота включений фактическая 120 в час, приведенная
z = 120 ∙
= 120 ∙
= 133,6; (6.6)
k = 1,25 - коэффициент нагрузки;
а = 1,2 - коэффициент использования;
hэкв.б = 0,76 - базисный КПД электропривода;
hэкв = 0,73 - КПД электропривода для z = 136,2, согласно
рис. 8 - 11.;
hдв = 0,85 - КПД электродвигателя;
e0 = 0,4 - относительная продолжительность включения.
Рр =
=16,2 кВт.
На одну фазу приходится:
= 5,4 кВт.
Определяем расчетный ток резистора, А. Токовые нагрузки I100% по ступеням берём из
,таблица 7 - 9:
Iр =
(6.7)
Iр=
= 60,61 А.
Значения расчетных токов по ступеням:
I = Iр ∙
(6.8)
Обозначение ступени Iступ, % I , А
Р1 - Р4 83 50,3
Р4 - Р7 59 35,75
Р71 - Р10 59 35,75
Р10 - Р13 50 30,3
Р13 - Р16 42 25,45
Р16 - Р19 30 18,18
В соответствии с таблицей нормализованных ящиков резисторов НФ 1А выбираем для ступеней Р1 - Р4, Р4 - Р7, Р7 - Р10 ящик 2ТД.754.054-06, имеющий длительный ток 102 А и сопротивление 0,48 Ом. Для ступеней Р10 - Р13, Р13 - Р16 выбираем ящик 2ТД.754.054-08, имеющий длительный ток 64 А и сопротивление 1,28 Ом. Для ступеней Р16 - Р19, выбираем ящик 2ТД.754.054-11, имеющий длительный ток 41 А и сопротивление 3,1 Ом. Рассчитаем отклонение сопротивлений от расчета и данные занесем в таблицу
R% =
100%
Таблица Отклонения сопротивлений от расчета.
|
Ступени | Rрасч ,Ом | Rфакт ,Ом | R% ,.% |
| 1 | 2 | 3 | 4 |
|
Р1-Р4 |
0,095 |
0,096 |
-1 |
| Р4-Р10 | 0,19 | 0,196 | -3,157 |
| Р71-Р10 | 0,38 | 0,352 | 7,3 |
| Р10-Р13 | 0,513 | 0,512 | 0,2 |
| Р13-Р16 | 1,444 | 1,444 | 0 |
| Р16-Р19 | 1,368 | 1,387 | -1,38 |
| Итого | 4,3 | ||
