Курсовой проект по разведочному бурению
|
Основные размеры коронок, мм D1 D2 |
58 76 |
|
Число резцов: Основных Подрезных |
12 4 |

При встрече со слоём углей будем менять забойный снаряд на двойной колонковый снаряд. Двойные колонковые снаряды применяют в породах и полезных ископаемых, дающих плохой выход керна. Для нас более всего целесообразнее использовать такой снаряд под названием ДонбассНИЛ-II (рис. 2). При бурении по мягким углям твердосплавная коронка этого снаряда, на внутренней невращающейся трубе, имеющей вертикальное перемещение, врезается в забой как кольцевой штамп. При встрече более крепкого породного прослоя под действием возросшего осевого усилия включается фрикцион, который передает крутящий момент на внутреннюю керноприемную трубу с твердосплавной коронкой, обеспечивая, таким образом, бурение крепких пород вращательным способом. Осевая нагрузка на коронку при бурении по углю 4000-6000 Н. При бурении ДКС «Донбасс НИЛ» коронками 76 мм рекомендуется придерживаться следующего режима:
· Расход бурового раствора, л/мин 50-70
· Частота вращения снаряда, об/мин 100-150
Для бурения скважины мы будем применять буровую установку УКБ-500/800. Буровая установка УКБ-500/800 предназначена для бурения вертикальных и наклонных (90—60°) геологоразведочных скважин на твердые полезные ископаемые глубиной до 800 м алмазными коронками диаметром 59 мм и до 500 м твердосплавными коронками диаметром 93 мм до 500м. Буровая установка состоит " из бурового станка СКБ-5, буровой мачты МБТ-5 с основанием труборазворота РТ-1200 М, грузоподъемных принадлежностей (элеватор-50, элеватор 50/54, вертлюг-пробка-50, вертлюг-пробка-54, полуавтоматические элеваторы типа ЭН-12 и насосная установка НБЗ-120/40), контрольно-измерительная аппаратура, транспортная база ТБ-15.
Технические характеристики буровой установки УКБ-5П:
|
Глубина бурения при конечном диаметре скважины, м: 93 мм 59 мм |
500 800 |
|
Начальный диаметр, мм |
151 |
|
Диаметр бурильных труб, мм |
50; 54; 55; 63,5; 68 |
|
Частоты вращения шпинделя, об/мин: 1 диапазон 2 диапазон |
120;260;340;410;540;720;1130;1500 |
|
Наибольшее усиление подачи, кН: вверх вниз |
85 65 |
|
Грузоподъемность лебедки, т |
35 |
|
Скорость навивки каната на барабан лебедки, м/с |
0,8; 1,75; 2,7; 3,6 |
|
Мощность электродвигателя станка бурового, кВт |
30 |
|
Высота мачты (вышки), м |
19,0 |
| Длина свечи, м |
13,5 |
|
Тип насосной установки |
НБ4- |
|
Масса станка, кг |
2200 |
|
Масса установки, кг |
17500 |
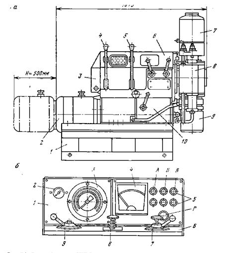
Буровой станок СКБ-5 (рис 3) имеет все основные функциональные узлы, что и станок СКБ-4. Однако он отличается от него тем, что в станке СКБ-5 нет такого традиционного узла, как станина. Все узлы: электродвигатель, лебедка, вращатель-лебедка съемного керноприемника — размещены и закреплены на корпусе коробки перемены передач. Последняя своими опорными плоскостями лежит на направляющих рамы станка и перемещается на них при вскрытии устья скважины с помощью гидроцилиндра. Закрепление станка в любом положении на раме производится автоматически с помощью гидрозамка. Отказ от станины позволил уменьшить длину кинематических цепочек и, таким образом, повысить надежность и жесткость станка. Повышение жесткости снижает вибрации при бурении. Кроме того, гидросистема станка СКБ-5 смонтирована на выносном пульте, что обеспечивает удобный доступ для обслуживания и ремонта не только гидросистемы, но и станка в целом. На пульте управления (рис) размещены оперативные кнопки управления двигателем станка, маслонасоса, гидросистемы, буровой насосной установки. Там же установлена кнопка общего стопа, приборы контроля осевой нагрузки на породоразрушающий инструмент, амперметр и манометры гидросистемы.
Буровой станок имеет восемь частот вращения шпинделя в диапазоне 120—150 об/мин, два гидроцилиндра подачи, два зажимных гидропатрона, автоматический перехват шпинделя наведущей трубе, регулятор скорости подачи, включенный и поршневые полости гидроцилиндров. Все это обеспечивает возможность работы станка в оптимальном режиме. Для контроля за параметрами процесса бурения станок комплектуется четырехканальной контрольно-измерительной системой КУРС-411, которая имеет каналы для измерения следующих параметров: осевой нагрузки на породоразрушающий инструмент, механической скорости бурения, расхода и давления промывочной жидкости.

