Облицовывание кирпичных стен гипсовыми облицовочными листами и оклеивание их флизелиновыми обоямиРефераты >> Строительство >> Облицовывание кирпичных стен гипсовыми облицовочными листами и оклеивание их флизелиновыми обоями
Инструмент для установки винтов. Для винтов со шлицами или гранеными головками имеется много электрических и ручных завинчивающих инструментов. Для винтов со шлицем применяют инструменты с завинчивающими насадками соответствующей формы. Размер насадки должен точно совпадать с размером шлица. Если насадка слишком большая, она может повредить головку, если слишком маленькая — то требуется прикладывать большое усилие, что может привести к порче инструмента.
Всю номенклатуру современного рынка крепежных изделий по качеству можно условно разделить на три основные группы:
высокое качество — продукция компаний «Фи шер», «Вурд», АБЦ (Германия), «Хилти» (Лихтенштейн), «Брало» (Испания);
хорошее качество — продукций компаний «Металвист» (Чехия), «Кельнер», «Кретмет» (Польша);
качество ниже среднего — продукция из Турции, Тайваня.
Тайваньские производители работают по двойным стандартам, т. е. в страны Европейского союза, предъявляющие повышенные требования к качеству товаров, они поставляют качественную продукцию. В страны же, не предъявляющие таких требований, уходит продукция довольно низкого качества.
В нашей стране пока не могут выпускать крепежные изделия достойного качества. Они некрасивы внешне, для их изготовления используется некачественный материал и пр. Но при всех этих отрицательных сторонах отечественная продукция все же конкурентоспособна, а те крепежные изделия, что изготавливаются на экспорт, имеют хорошее качество.
Фирма «Кнауф» предлагает своим потребителям при монтаже гипсокартонных плит пользоваться шурупами, предусмотренными фирменными технологическими картами. Об использовании шурупов согласно технологии фирмы «Кнауф» рассказано в табл. 8.
Типы шурупов TN и ТВ используются при монтаже гипсокартонных листов на металлический и деревянный каркас. Они отвечают требованиям DIN 18 182 и покрыты антикоррозийной пленкой.
Отличие шурупов TN от шурупов ТВ состоит в том, что первые из них проходят при ввинчивании через лист гипсокартона, через тонкий стальной лист толщиной 0,7 мм. Вторые при ввинчивании прошивают гипсокартонный лист и стальной лист толщиной от 0,7 до 2,25 мм. Шурупы TN предназначены для крепления гипсокартона к деревянному каркасу, а шурупы типа LN — для соединения металлических профилей и деталей между собой.
7. Нормы времени и расценки
Расход материалов на 1 м2 такой облицовки дан в табл.
Таблица. Расход материалов при облицовке на ПН-профиле
|
Наименование материала |
Единицы измерения |
Один слой |
Два слоя |
|
Листы гипсокартонные |
кв. м |
1,0 |
2,0 |
|
ПН-профиль 28/27 |
м |
0,7/1,1 |
0,7 |
|
ПП-профиль |
м |
2,0 |
2,0 |
|
Подвес прямой |
шт. |
1,7 |
1,7 |
|
Упругая лента |
м |
0,1 |
0,1 |
|
Дюбель 6 х 35 |
шт. |
1,6 |
1,6 |
|
Саморезы LN для соединения профилей |
шт. |
1,5 |
1,5 |
|
Саморезы TN 25 мм для ГКЛ |
шт. |
14 |
6 |
|
Саморезы TN 35 мм |
шт. |
— |
14 |
|
ПУ-профиль 31x31 для защиты углов |
м |
Зависит от конфигурации комнаты | |
Консольные нагрузки на гипсокартон формула расчета
После установки перегородок, как правило, на них навешивают различное оборудование или предметы украшения интерьера. Каким способом выполнять крепление, зависит от распределенной горизонтальной погонной нагрузки.
Легкие предметы — такие как картины, фотографии, полочки, вес которых не больше 35 кг, — крепят непосредственно на гипсокартонные панели с помощью крючков или дюбелей. Грузы весом свыше 35 кг с центром тяжести, расположенным на расстоянии не более 30 см от стены, можно закреплять в любой точке перегородки анкерными элементами, пластмассовыми или металлическими дюбелями. В табл. показаны допустимые нагрузки на дюбель, что дает возможность определиться с применением того или иного крепления в зависимости от его несущей способности и типа перегородки.
Допустимые нагрузки на дюбель
|
Показатель |
Значение, мм |
|
Длина |
1500 |
|
Ширина |
500 |
|
Толщина |
20 |
|
Ширина фальцев: — нижнего листа — верхнего листа |
48 50 |
Как уже было сказано, грузы весом от 35 до 75 кг на один погонный метр по длине перегородки и с удалением центра тяжести от стены на 30 см можно крепить на любую часть перегородки, если общая толщина слоев гипсокартонных листов составляет не менее 18 мм.
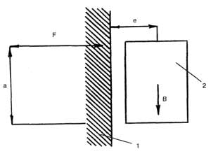
Рис. Навешивание грузов на стену: 1 — стена; 2 — груз;
F — нагрузка на дюбель; В — максимальная масса груза;
е — удаление центра тяжести от стены; а — опорное плечо
Для того чтобы определить максимальную нагрузку, применяют такую формулу:
F = Ве/nа
где F — максимальная нагрузка на дюбель, кг;
В — максимальная масса груза, кг;
е — удаление центра тяжести от стены;
n — число креплений с помощью дюбелей, шт.;
