Облицовывание кирпичных стен гипсовыми облицовочными листами и оклеивание их флизелиновыми обоямиРефераты >> Строительство >> Облицовывание кирпичных стен гипсовыми облицовочными листами и оклеивание их флизелиновыми обоями
Чтобы иметь вышеназванное пространство, каркас устанавливают от стены с нужным зазором, в котором можно проложить трубы отопления, электрические провода и пр. Кроме этого, применение металлических профилей не требует идеально ровных стен. Поскольку такого рода каркас очень жесткий, можно выполнять облицовку стен высотой до 10 м, не допуская уменьшения жесткости несущего каркаса. Примерный вес облицовки при этом составляет 15 кг/м2 стены.
Специалисты рекомендуют использовать для монтажа каркаса профили ПН 28/27 в комплекте с профилями ПП 60/27 или комплект профилей ПН и ПС.
Обрешетку из профилей ПП 60/27 обязательно нужно устанавливать на некотором расстоянии от стены и крепить к стене с помощью прямых подвесов. Крепят металлические профили дюбелями, располагая места крепления через 1 м, а при использовании прямых подвесов их шаг не должен быть больше 1,5 м.
Самое начало монтажа — это обмер стены и разбивка захваток, которые должны быть по ширине равны гипсокартонным панелям. При монтаже металлические профили устанавливают таким образом, чтобы линия стыка соседних листов гипсокартона находилась точно в центре лицевой полки вертикального профиля. После того как определено место расположения соседних профилей, нужно найти проектное положение лицевой плоскости всей облицовки. Чтобы это выполнить, необходимо провести на полу параллельно стене линию длиной, равной глубине каркаса плюс толщина гипсокартонных плит. Но следует учитывать, что на стене имеются неровности, а также сделать зазор, необходимый для монтажа труб отопления, электрических проводов и кабелей и т. д. Затем отвес нужно опустить так, чтобы центральная его точка пришлась на проведенную по полу линию. После этого на потолке намечают несколько точек, соединяют их прямой линией, которая и будет верхней границей облицовки. Далее вглубь облицовки от данной линии отмеряют расстояние, равное толщине гипсокартонных панелей. Тем самым определяется граница лицевой плоскости обрешетки.
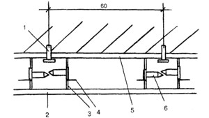
Монтаж каркаса из ПН-профиляПример каркаса из металлических ПН-профилей показан на рис. 32. Здесь мы видим мощный каркас, который предназначен для помещений с высокими потолками.
Рис. 32. Монтаж каркаса из ПН-профиля: 1 — ПП-профиль; 2 — прямой подвес; 3 — гипсокартонная панель; 4 — герметик; 5 — ПН-профиль; 6 — упругая лента
Сначала по всей длине стены, как по полу, так и по потолку, устанавливают ПН-профили (подвес «В»). Внизу, между профилем и полом, прокладывают упругую ленту, которая предназначена гасить колебания пола. Монтируют профили следующим образом. На полу проводят линию, на которой будет установлен профиль, прикладывают к ней ПН-профиль и сверлят отверстия для дюбелей (шаг 600—1000 мм). В зависимости от того, какой тип дюбелей был выбран, их вставляют либо в отверстия в профиле, либо сразу в отверстия в полу и закручивают шурупы. Точно так же устанавливают первый профиль на потолке. Эти профили и будут границами плоскости облицовки.
По вертикальным линиям закрепляются подвесы «Е» с одновременной прокладкой упругой ленты. Нужно проследить, чтобы подвес не выходил за границы плоскости обрешетки. Если в наличии нет подвесов заводского производства, то в качестве замены могут выступить стандартные кронштейны из оцинкованной стали, которые поставляются в комплекте с профилями. В случае, когда нет и кронштейнов, их можно изготовить из отрезков ПН-профиля, используя ножницы по металлу или болгарку.
Установка подвесов требует соблюдения некоторых правил:
Рис. Укладка звукоизоляционного материала в пространство обрешетки: 1 — звукоизоляционный материал; 2 — обрешетка; 3 — гипсокартон
линии подвесов должны располагаться так, чтобы
стойки из ПП-профиля находились на линии стыка двух
гипсокартонных листов; в случае если ширина гипсокартонных панелей больше 600 мм, необходимо смонтировать дополнительные стойки из того же профиля;
в размер стоек должен быть меньше расстояния между верхней и нижней направляющими примерно на 10 мм;
при наращивании профилей следует использовать саморезы LN' с полной резьбой. При этом нужно выполнять нахлест одного профиля на другой не менее 10d, где d — ширина полки профиля; при наличии в стенах оконных, дверных проемов и ниш по их границам обязательно монтируют дополни тельные стойки и горизонтальные перемычки. Если делается облицовка в два слоя, то устанавливают две стойки, чтобы получился перехлест первого слоя над проемом; электрическую проводку прокладывают внутри каркаса таким образом, чтобы края профилей не могли повредить изоляцию проводов.
Закрепляют профили, используя саморезы. Для выполнения данной операции профиль ставят вдоль вертикальной линии вплотную к полкам направляющих профилей и подвесов, после чего шуруповертом закручивают саморезы до упора. Стойки крепят как к направляющим, так и к подвесам или кронштейнам. Если во время крепежа саморез согнется или сломается, его нужно удалить, а рядом установить новый.
Чтобы при большой высоте потолков облицовка не теряла своей жесткости, в горизонтальных швах монтируют горизонтальные перемычки из того же профиля, который использовался для несущих стоек.
Чтобы звукоизоляция стены была лучше, пространство обрешетки заполняют звукоизоляционным материалом .
Как правило, в качестве звукоизоляционного материала используются минераловатные плиты, пенопласт и пр., которые обязательно нужно закреплять в обрешетке. Если произойдет смещение материала, нарушится звукоизоляция. Закреплять звукоизоляционные материалы можно, используя ПС-профили или обрезки гипсо-картонных панелей с последующим креплением их к каркасу или стене. Монтаж каркаса на ПС-профиле. Такой каркас устанавливают в помещениях высотой до 7 м. На рис. 34 показано, как выполнять облицовку кирпичной стены с потолочным профилем по технологии «Кнауф W623». Облицовку можно сделать в один или два слоя. При двойной облицовке направляющим служит ПН-профиль, а для несущих стоек используют стоечный ПС-профиль. Отличительной особенностью данной конструкции является то, что при высоте помещений до 4 м несущие стойки можно закреплять на полу и потолке. Если мастер сомневается в надежности крепления направляющих при двойной облицовке, то несущие стойки дополнительно можно закрепить на кронштейнах, установленных на стене с прокладкой упругой ленты.
Рис. Облицовка кирпичной стены с применением потолочного профиля по технологии «Кнауф W623»: 1 — стена; 2 — ПС-профиль; 3 — утеплитель; 4 — двойная обшивка гипсокартонными листами.
Рис. Несущий каркас на ПС-профиле без направляющих ПН-профилей: 1 — дюбель; 2 — гипсокартонная панель; 3 — несущая стойка из ПС-профиля; 4 — прямой подвес; 5 — стена; 6 — саморез
Чтобы проверить лицевую плоскость промежуточных стоек, натягивают от крайних стоек шнур. Можно то же самое сделать с помощью правила. Вертикальность проверяют отвесом или уровнем. Во время установки металлического каркаса обязательно нужно прокладывать звукоизолирующую ленту.
