Стекло, ситаллы и каменное литье. Строительные пластмассыРефераты >> Строительство >> Стекло, ситаллы и каменное литье. Строительные пластмассы
СТЕКЛО, СИТАЛЛЫ И КАМЕННОЕ ЛИТЬЕ
Силикатное стекло, получают из смеси кварцевого песка, мела, соды и др. компонентов.
Прозрачность и возможность окраски стекла в любые цвета, высокая химическая стойкость, электроизоляционные и многие другие ценные свойства делают стекло незаменимым строительным материалом.
Сырье и технология изготовления стекла
Сырьевая шихта стекла состоит из следующих веществ: кремнезем (SiO2), вводят в виде кварцевого песка, молотых кварцитов или песчаников, повышающий тугоплавкость и химическую стойкость стекла. Глинозем (Al2O3), поступает в сырьевую шихту в виде полевых шпатов и каолина. Его влияние на свойства стекла аналогично действию SiO2.Оксид натрия (Na2О), вводят в стекло в виде соды и сульфата натрия Na2SO4 понижает температуру плавления стекла, повышает коэффициент термического расширения и уменьшает химическую стойкость. Оксид кальция (СаО) и магния (МgО) вводят в шихту в виде мела, мрамора, известняка, доломита и магнезита. Эти оксиды повышают химическую стойкость стекла.
В специальные стекла вводят оксиды бора, свинца, бария и др.
Вспомогательные сырьевые материалы: осветлители – вещества, способствующие удалению из стекломассы газовых пузырей; обесцвечиватели – вещества, обесцвечивающие стекольную массу; глушители – вещества, делающие стекло непрозрачным. Красители для стекла могут быть молекулярными, полностью растворяющимися в стекломассе, и коллоидными, равномерно распределяющимися в стекломассе в виде мельчайших (коллоидных) частиц. К первым относятся соединения кобальта (синий цвет), хрома (зеленый), марганца (фиолетовый), железа (коричневый и сине-зеленые тона), а ко вторым – золото (рубиновый), серебро (желтый), селен (розовый).
Перед варкой стекла сырьевые материалы измельчают, тщательно смешивают в требуемых соотношениях, брикетируют и подают в стекловаренную печь.
Стекловарение.Обычное стекло получают в непрерывно действующих ванных печах с полезным объемом до 600 м3 и суточной производительностью более 300 т. На первой стадии стекловарение – силикатообразовании – щелочные компоненты образуют с частью кремнезема силикаты, плавящиеся уже при 1000 .1200° С. В этом расплаве растворяются наиболее тугоплавкие компоненты SiO2 и А12О3. Образующаяся масса неоднородная по составу и насыщена газовыми пузырьками. Удаление пузырьков из расплава осуществляется на второй наиболее длительной стадии стекловарения – стеклообразовании – при температуре 1400 .1600° С. Третья заключительная стадия – студка – охлаждение стекломассы до температуры, при которой она приобретает оптимальную для данного метода формования стеклоизделий вязкость. Метод формования зависит от вида изделия. Для получения строительного стекла используют вытяжку, прокат, прессование.
При охлаждении стекла в нем возникают внутренние напряжения. Наиболее опасным моментом является переход стекла от вязкопластического состояния к хрупкому, поэтому для снятия внутренних напряжений после формования производят отжиг – охлаждение по специальному режиму: быстрое до начала затвердевания стекломассы, очень медленное в опасном интервале температур (600 300°С) и вновь быстрое до нормальной температуры.
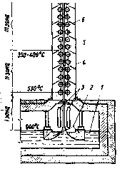
Листовое стекло толщиной до 6 мм производят методом вертикального вытягивания на машинах ВВС. Лента стекла формуется из стекломассы лодочкой (шамотным брусом с прорезью), удерживаемой на надлежащем уровне штангами. Стекломасса выдавливается в щель лодочки и оттягивается вверх валками машины в виде ленты шириной до 4.5 м. Скорость вытягивания достигает 2 м/мин. Проходя между холодильниками 3 от лодочки до первой пары валков, стекломасса охлаждается настолько, что становится твердой и валки не оставляют на ней отпечатков (I зона). Далее стекло валками 5 подается в шахту высотой 5 – 7м. В нижней части шахты производится отжиг стекла (II зона). В верхней части стекло охлаждается окончательно и, выходя на отломочную площадку 7, нарезают на требуемые размеры.
Рис.5.1. Машина вертикального вытягивания стекла: 1 – стекломасса; 2–лодочка; 3 – холодильники; 4 – шихта машины; 5 – тянущие валки; 6 – скаты для удаления боя; 7 – отломочная площадка.
Способ получения высококачественного стекла – флоат-метод (от англ. float – плавать), отличается тем, что стекломасса выливается на поверхность расплавленного металла (обычно олова) и формуется на нем. Производительность таких установок до 3 .4 тыс. кв. м /ч. Размер листов: ширина до 3 м; толщина от 2 до 25 мм. Преимущества флоат-метода – стабильная толщина листа и высокое качество поверхности, не требующее дальнейшей полировки. В Европе большая часть стекла вырабатывается именно этим методом.
Свойства стекла
Силикатные стекла отличаются необычным сочетанием свойств, высокой прочностью и ярко выраженной хрупкостью, светопроницаемостью и химической стойкостью. Все это объясняется спецификой состава и строения стекла.
Плотность стекла для обычных строительных стекол составляет 2400 .2600 кг/м3.
Прочность стекла при сжатии высокая – 900…1000 МПа, т.е. почти как у стали и чугуна. В диапазоне температур от –50 до + 70˚С прочность стекла практически не изменяется.
Стекло при нормальных температурах отличается тем, что у него отсутствуют пластические деформации. При нагружении оно подчиняется закону Гука вплоть до хрупкого разрушения. Модуль упругости стекла Еу= (7 .7,5) ∙ 104 МПа.
Хрупкость – главный недостаток стекла. Основной показатель хрупкости – отношение модуля упругости к прочности при растяжении Eу/Rp. У стекла оно составляет 1300 .1500 (у стали 400 .460). Твердость стекла в зависимости от химического состава находится в пределах 5…7 по шкале Мооса. Оптические свойства стекла характеризуются светопропусканием (прозрачностью), светопреломлением, отражением, рассеиванием и др. Обычные силикатные стекла, кроме специальных, пропускают всю видимую часть спектра (до 88 .92 %) и практически не пропускает ультрафиолетовые и инфракрасные лучи. Показатель преломления строительного стекла (n=1,50 .1,52) определяет силу отраженного света и светопропускание стекла при разных углах падения света. При изменении угла падения света с 0 до 75° светопропускание стекла уменьшается с 90 до 50%. Теплопроводность стекла составляет 0,6 .0,8 Вт/(м · К), что почти в 10 раз ниже, чем у аналогичных кристаллических материалов. Например, теплопроводность кварца –7,2 Вт/(м ∙ К).
Коэффициент линейного температурного расширения (КЛТР) стекла 9∙10-6 К-1. Относительно малая термостойкость (способность выдерживать резкие перепады температур) обычного стекла – 70 .90°С. Звукоизолирующая способность. Стекло толщиной 1см по звукоизоляции приблизительно соответствует кирпичной стене толщиной 12см.
Химическая стойкость силикатного стекла – одно из самых уникальных его свойств. Стекло хорошо противостоит действию воды, щелочей и кислот (за исключением плавиковой и фосфорной). Это объясняется тем, что при действии воды и растворов из наружного слоя стекла вымываются ионы Na+ и Са++ и образуется химически стойкая пленка, обогащенная SiO2. Эта пленка защищает стекло от дальнейшего разрушения.
