Технология строительства убежищ, возводимых в особый периодРефераты >> Строительство >> Технология строительства убежищ, возводимых в особый период
Характерной особенностью планировочных схем многопролётных убежищ является то, что в качестве внутренних вертикальных несущих конструкций, как правило, используют стены. Это вызвано тем, что для возведения убежищ применяют подручные конструкции и материалы, среди которых нет железобетонных колонн и коротких ригелей. Планировочное решение убежищ с внутренними несущими стенами в значительной степени упрощает и их конструктивное исполнение. Это является положительным фактором, т.к. строительство подобных сооружений можно осуществлять силами населения.
При двух и более пролётных схемах во внутренних стенах следует устраивать проёмы для объединения отдельных помещений в одно убежище (рис.1, б, в). Это делают либо раздвижкой стеновых блоков, либо применением элементов с дверными проёмами. Возведение убежищ с двух- и более пролётными схемами вызывается не только условиями застройки, но и сложностью использования существующих малопрочных железобетонных конструкций гражданского и промышленного строительства. В связи с этим возможны решения убежищ, когда в качестве внутренних несущих элементов используют деревянные или металлические рамы, размещаемые в продольном направлении. Рамы состоят из несущих балок, стоек и нижнего лежня (рис.1). В поперечном направлении рамы раскрепляют распорками.
Входы в быстровозводимые убежища состоят из лестничного спуска (пандуса), предтамбура и тамбура. Для сокращения площади застройки убежищ и учитывая одноразовый характер их использования, лестничные спуски допускается располагать более крутыми – под углом 45о, но вдоль маршей следует поручни. Рекомендуется применять входы сквозникового типа, для которых нагрузки на входные участки и защитные устройства (двери) будут минимальными, причём для уменьшения объёма работ допускается лестничный спуск возводить с одной стороны, а с другой – предусмотреть пандус.
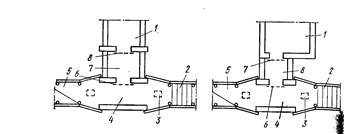
Рисунок 2. Принципиальные планировочные решения сквозниковых входов 1-помещения для укрываемых; 2 – лестничный спуск; 3 – водосборный приямок; 4 – предтамбур; 5 – пандус; 6 – защитно-герметическая дверь; 7 – герметическая дверь; 8 – тамбур.
Входы рекомендуется устраивать в торце сооружений. Это обеспечивает более надёжную передачу нагрузок на продольные стены и покрытие сооружения, обладающего в этом направлении повышенной жёсткостью и устойчивостью. В сооружениях вместимостью до 100 человек и размере входного проёма 60х160 см допускается устройство одного входа. В убежищах большей вместимости предусматривают два входа, желательно с разных сторон. При использовании дверных проёмов 80х180 см допускается устраивать один вход на 200 человек. Планировочные решения входов показаны на рисунке 2. Для линейных убежищ в торце устраивают аварийный выход.
Аварийный выход в убежищах Г-образной формы можно размещать в месте поворота сооружения.
При выборе места для размещения средств воздухоподачи учитывают особенности планировочной схемы. Если сооружение имеет вытянутую форму и два входа (с противоположных концов), то средства воздухоподачи лучше размещать в середине сооружения. При одном входе фильтровентиляционное оборудование следует располагать в противоположном конце от входа. Если сооружение имеет Г-образную форму, оборудование устанавливать на повороте.
Конструктивные решения быстровозводимых убежищ разнообразны и зависят от применяемых материалов и изделий. В качестве ограждающих и несущих элементов используют сборные железобетонные изделия, бетонные блоки, лесоматериалы, металлопрокат, листовую и волнистую сталь, ткани и другие подручные материалы. Лучшим материалом являются сборные железобетонные конструкции в виде плитных, линейных или объёмных изделий. К плитным изделиям относятся: панели, настилы, плиты; к линейным – балки, ригели, колонны, перемычки; к объёмным – замкнутые элементы прямоугольного, круглого или смешанного сечения. В таблице 2 приведена характеристика основных железобетонных элементов, выпускаемых промышленностью, которые могут быть использованы для строительства быстровозводимых убежищ.
Таблица 2. Укрупненная номенклатура и характеристика существующих железобетонных конструкций.
Плитные элементы обладают, как правило, относительно малой несущей способностью, но достаточно большими размерами по длине и ширине, поэтому их целесообразно использовать в качестве элементов покрытий убежищ для многопролётных сооружений. Уменьшение расчётного пролёта повышает несущую способность конструкции. Так, пустотные панели перекрытий жилых зданий при трёхпролётной схеме могут выдержать давление до 0,1 МПа, а плиты сплошного сечения при двух - и трёхпролётных схемах 0, 15 – 0,20 МПа. Плиты ребристого сечения, несмотря на то, что их несущая способность определяется прочностью полки, при двухпролётной схеме воспринимают нагрузку 0,1 МПа. В то же время использование длинномерных (6 м) железобетонных изделий в одно - или двухпролётных сооружениях с малыми пролётами (1,2 – 1,8) не экономично, т.к. при этом используется половина или третья часть плиты. Малоэффективно повышение несущей способности конструкций размещением их в несколько слоёв, поскольку каждый элемент в сечении работает самостоятельно, а не как единое целое.
Линейные железобетонные конструкции можно использовать для возведения одно - и двухпролётных убежищ с пролётами до 3 м. Если в качестве основного несущего элемента применить ригель, то такая конструкция может выдержать нагрузку до 0,2 МПа. Перемычки и колонны при пролёте 1,5 – 2 м могут выдержать давление в ударной волне порядка 0,1 – 0,2 МПа.
Существующие стеновые бетонные блоки типа СБ. или ФС являются изделиями, которые можно эффективно использовать для устройства стен быстровозводимых убежищ.
Рисунок 3. Поперечный разрез
Рисунок 4. Поперечный разрез убежища, убежища, возводимого с возводимого с использованием для использованием для стен устройства стен железобетонных плит, бетонных блоков устанавливаемых на ребро 1-проволочные скрутки; 1 – проволочные скрутки; 2-продольный 2 – продольный арматурный арматурный стержень; стержень; 3 – железобетонная 3 – железобетонная плита покрытия; плита; 4 – бетонные блоки; 4 – стеновые железобетонные плиты; 5 – деревянная рамная распорка 5 – поперечные рамы
Стены собирают из нескольких рядов блоков, укладываемых с перевязкой вертикальных швов. Наружные стены из блоков, даже уложенных насухо, обладают достаточно высокой несущей способностью. В стенах такой конструкции под нагрузкой возможно незначительное горизонтальное смещение отдельных блоков без нарушения общей устойчивости стен.
Покрытие и стены убежищ из отдельных железобетонных элементов следует крепить между собой от возможного горизонтального смещения, вызванного действием динамической нагрузки и упругого отпора конструкций покрытия при изгибе. Крепления следует выполнять с помощью проволочных скруток с захватом за монтажные петли элементов, путём установки деревянных распорок, заанкерирования проволочных оттяжек в грунтовый массив.
