Земляные работы по устройству котлованаРефераты >> Строительство >> Земляные работы по устройству котлована
![]() |
![]()
![]()

![]()

|
|
|
|
Рис. 6. Схема взаимодействия машин в комплекте: 1 - бульдозер ДЗ - 18; 2 - рыхлитель ДП - 14; 3 - скреперы ДЗ -20В; 4 - трактора-толкачи Т - 130; 5 - каток ДУ – 31А; 6 - бульдозер ДЗ - 18
2.5 Разработка технологии и организации работ по планировке площадки
Под технологией производства работ понимается совокупность методов выполнения строительных процессов по вертикальной планировке площадки. Эти методы характеризуются применяемыми средствами механизации, а также схемами их передвижения, переработки грунта и расположения проходок.
Если вертикальная планировка площадки производится скреперами, то в зависимости от взаимного расположения выемок и насыпей применяются разные траектории движения машин (рис. 3.2).
Эллиптическая схема наиболее проста и применима при отсыпке насыпи из одно- или двухсторонних выемок. Для равномерного износа ходовой части скрепера требуется периодическое изменение направления движения на обратное в течение рабочего дня.
Рис. 6. Схемы движения скрепера: а - эллиптическая; б - по восьмерке; 1 - выемка; 2 - насыпь; 3 - нулевая линия; 4 - срезка грунта; 5 - отсыпка грунта
Схема по восьмерке позволяет чередовать правые и левые повороты, что обеспечивает равномерный износ ходового оборудования. Она дает возможность в цикле производить дважды срезку грунта и его разгрузку при одновременном сокращении пути холостого пробега. Именно этот вариант и принимаем за основной.
Заполнение .ковша и перемещение груженого скрепера желательны при прямолинейном движении и под уклон 5-12°. В зависимости от вида грунта его резание может производиться по различным схемам (рис. 2.2).
Рис. 7. Схемы резания грунта скрепером: а - стружкой постоянной толщины; б -гребенчатым профилем; в - клиновидной стружкой; г - клевковым способом
Срезка грунта тонкой стружкой постоянной толщины осуществляется при любых связных грунтах малой и средней плотности; клиновидной стружкой - при связных грунтах повышенной плотности, разрабатываемых на горизонтальных или слегка наклонных участках; гребенчатым профилем - при наборе сухих суглинистых и глинистых грунтов; клевковым способом - при разработке сухих песчаных и супесчаных грунтов на горизонтальных и наклонных участках. За окончательный вариант примем срезку грунта гребенчатым профилем.
Для сокращения перемещений тракторов-толкачей расположение проходок должно быть таким, чтобы очередной скрепер начинал заполнять ковш там, где закончил загрузку предыдущий (рис. 8).
Рис. 8. Схемы расположения проходок скрепера: а - последовательная
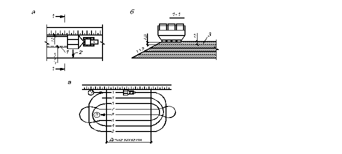
При вертикальной планировке больших площадей, где возможны повороты катка, рекомендуется применять схему движения машины по замкнутому кругу (рис. 9).
Рис.9. Схема уплотнения насыпи катком: а - план; б - разрез; в - траектория движения катка; 1 - перекрытие полос; 2 - направление укатки; 3 - рыхлый слой грунта
Каждая последующая полоса уплотнения должна перекрывать соседнюю на 0,15-0,25 м. Закончив укатку всей площади захватки за один раз, приступают к уплотнению грунта на второй раз. Минимальный фронт работ при уплотнении катками должен быть не менее 100 м.
Основу организации земляных работ составляет разбивка выемки и насыпи на захватки, в пределах которых работает отдельное звено комплекта машин. Эти машины последовательно переходят с одной захватки на другую, выполняя весь комплекс процессов по устройству выемки и насыпи на площадке. Минимальное число захваток, используемых для производства земляных работ, определяется количеством одновременно работающих звеньев комплекта с добавлением резервных захваток, а минимальные размеры захватки - производительностью ведущего звена средств механизации в течение суток и необходимым фронтом работ, обеспечивающим эффективное использование машин.
3. Проектирование работ по устройству котлована
3.1. Состав процессов и исходные данные по разработке котлована
Земляные работы по устройству котлована включают следующие простые строительные процессы: разработку грунта с его подачей в транспортные средства или в отвал за бровку котлована, транспортирование грунта, его выгрузку из транспортных средств и зачистку дна котлована.
Неблагоприятные гидрогеологические, климатические и особые условия могут вызвать необходимость выполнения дополнительных процессов, в состав которых входят водоотлив или искусственное понижение уровня грунтовых вод, крепление стенок котлована, рыхление или оттаивание мерзлого грунта и др.
Основным процессом, по которому производится выбор ведущей машины комплекта и увязка выполнения остальных процессов, является разработка грунта.
Исходными данными для проектирования работ по устройству котлована являются:
1. Объем грунта, подлежащего разработке ведущей машиной (Vраз=19732,12).
2. Вид и влажность грунта.(жирная глина(II))
3. Расстояние вывоза излишнего грунта (Lтp=6,4км).

